|
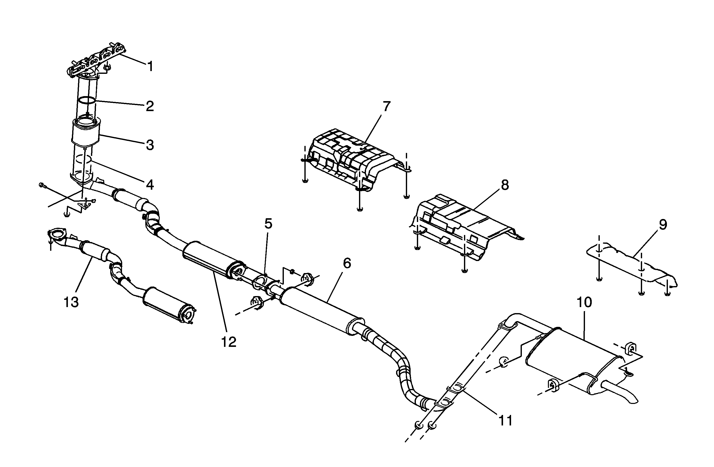
| (1) | Exhaust Manifold |
| (2) | Exhaust Front
Pipe Gasket |
| (3) | Catalytic Converter |
| (4) | Exhaust Pipe
Front Gasket |
| (5) | Muffler Gasket |
| (6) | Exhaust Front
Muffler |
| (7) | Catalytic
Converter Protective Shield |
| (8) | Front Muffler
Protective Shield |
| (9) | Rear Muffler
Protective Shield |
| (10) | Exhaust
Rear Muffler |
| (11) | Muffler
Gasket |
| (12) | Exhaust Front
Pipe-1.8L, 2.0L |
| (13) | Exhaust Front
Pipe-1.6L |