GM Service Manual Online
For 1990-2009 cars only
Table 1: Rain Sensor
Table 2: Wiper Motor Rear
Table 3: Windshield Washer Fluid Pump (Notchback)
Table 4: Windshield Washer Fluid Pump (Hatchback)
Table 5: Windshield Wiper Motor (w/Rain Sensor)
Table 6: Windshield Wiper Motor (w/o Rain Sensor)
Table 7: Windshield Wiper/Washer Switch A
Table 8: Windshield Wiper/Washer Switch B (w/Rear Fog Lamps)
Table 9: Windshield Wiper/Washer Switch B (w/o Rear Fog Lamps)

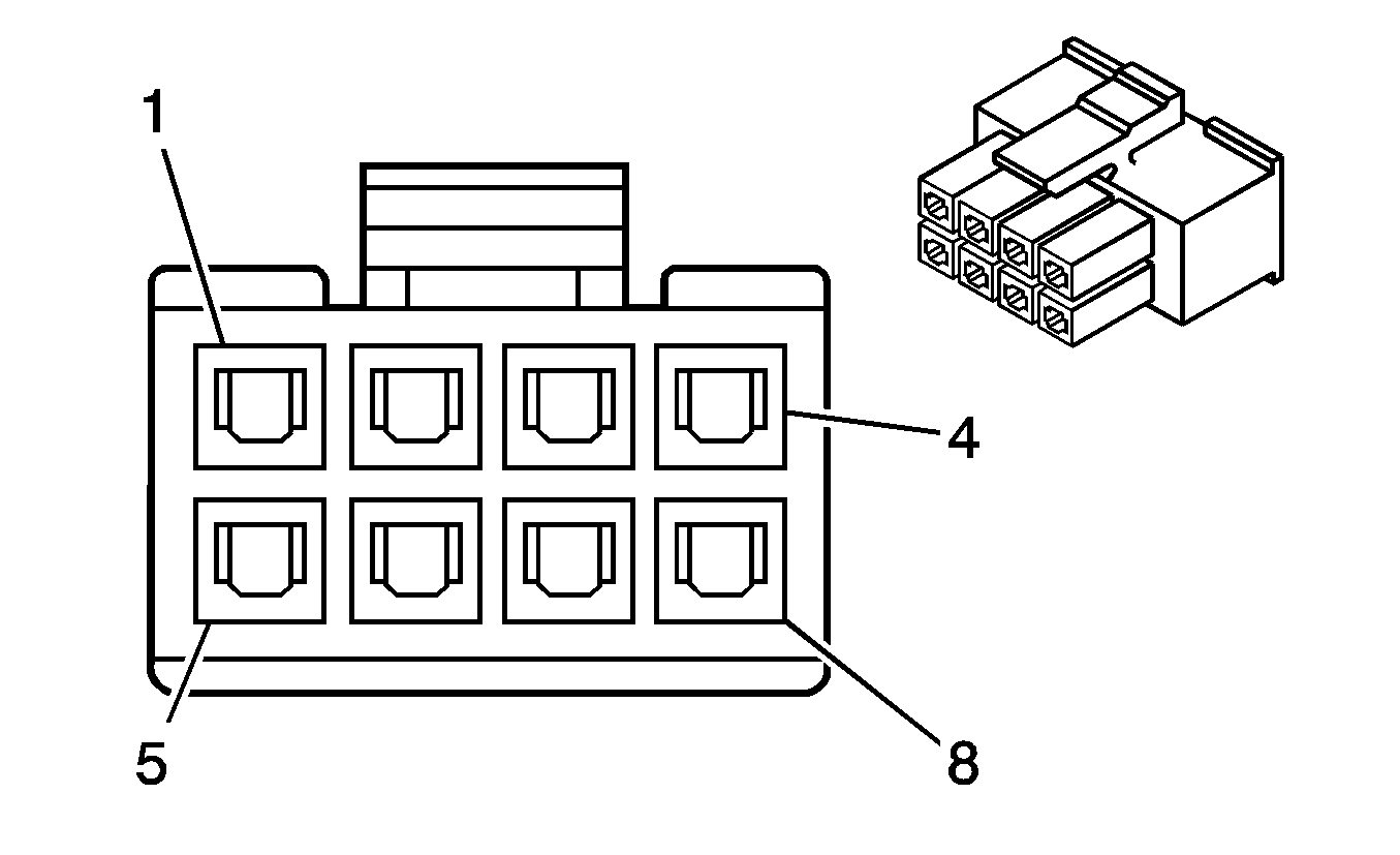
Rain Sensor


Object Number: 1480215  Size: CH

Connector Part Information

    • MLX 43645-0800
    • 8-Way F Micro-Fit (3.0) 8 Circuit Single Row Receptacle

Pin

Wire Color

Circuit No.

Function

1

D-BU

1112

Outside Moisture Sensor Signal 1

2

D-GN

2228

Outside Moisture Sensor Signal 2

3

BK

850

Ground

4

PK

639

Ignition 1 Voltage

5

YE

112

Windshield Wiper Switch Signal 1

6

RD

228

Windshield Wiper Pump Control

7

L-GN

227

Outside Moisture Sensor Signal 2

8

--

--

Not Used

Wiper Motor Rear


Object Number: 1467038  Size: CH

Connector Part Information

    • KET MG 610394
    • 3-Way F Series Sealed (WH)

Pin

Wire Color

Circuit No.

Function

1

WH

393

Rear Window Wiper Motor Control

2

BK

750

Ground

3

PK

441

Ignition 3 Voltage

Windshield Washer Fluid Pump (Notchback)


Object Number: 1467079  Size: CH

Connector Part Information

    • KET MG 640605
    • 2-Way F 090 WP Series (WH)

Pin

Wire Color

Circuit No.

Function

1

BK

50

Ground

2

RD

228

Washer Switch Signal

Windshield Washer Fluid Pump (Hatchback)


Object Number: 1501850  Size: CH

Connector Part Information

    • KET MG 641362
    • 3-Way F Connector (GY)

Pin

Wire Color

Circuit No.

Function

1

RD

228

Windshield Washer Pump Control

2

BK

1150

Ground

3

D-GN

392

Rear Window Wiper Motor Control

Windshield Wiper Motor (w/Rain Sensor)


Object Number: 1468384  Size: CH

Connector Part Information

    • KUM PB 625-08027
    • 8-Way F NMWP 08F-B Assembly (BK)

Pin

Wire Color

Circuit No.

Function

1

D-GN

95

Windshield Wiper Motor Low Speed

2

BN

96

Windshield Wiper Switch Off/Delay Signal

3

BK

1150

Ground

4

L-GN

227

Outside Moisture Sensor Signal

5

PU

92

Windshield Wiper Motor High Speed

6

D-BU

1112

Outside Moisture Sensor Signal 1

7

D-GN

2228

Outside Moisture Sensor Signal 2

D-GN/WH

8

RD/D-BU

441

Ignition 3 Voltage

Windshield Wiper Motor (w/o Rain Sensor)


Object Number: 1468384  Size: CH

Connector Part Information

    • KUM PB 625-08027
    • 8-Way F NMWP 08F-B Assembly (BK)

Pin

Wire Color

Circuit No.

Function

1

D-GN

95

Windshield Wiper Motor Low Speed

2

YE

112

Windshield Wiper Switch Signal

3

BK

1150

Ground

4

--

--

Not Used

5

PU

92

Windshield Wiper Motor High Speed

6

BN

96

Windshield Wiper Off/Delay Signal

7

RD

228

Windshield Washer Pump Control

8

RD/ D-BU

441

Ignition 3 Voltage

Windshield Wiper/Washer Switch A


Object Number: 1468431  Size: CH

Connector Part Information

    • KET MG 610154
    • 9-Way F 118 (PA) Series (WH)

Pin

Wire Color

Circuit No.

Function

1

WH

393

Rear Window Wiper Motor Control (w/Rear Wipers)

2

D-GN

392

Rear Window Washer Pump Control (w/Rear Wipers)

3

BN

441

Ignition 3 Voltage

4

RD

228

Windshield Washer Pump Control

5

D-GN

95

Windshield Wiper Motor Low Speed

6

L-BU

97

Windshield Wiper Switch Off/Delay Signal

7

GY

91

Windshield Wiper Switch Pulse Delay Signal

8

BN

441

Ignition 3 Voltage

9

PU

92

Windshield Wiper Motor High Speed

Windshield Wiper/Washer Switch B (w/Rear Fog Lamps)


Object Number: 1467000  Size: CH

Connector Part Information

    • AMP 368501-1
    • 4-Way F 070 Series MLC Plug Hsg 4P (WH)

Pin

Wire Color

Circuit No.

Function

1

GY

91

Windshield Wiper Switch Pulse Delay Signal

2

YE

112

Windshield Wiper Switch Signal 1

3

PU

1977

Outside Moisture Sensor Signal 1

4

BK

250

Ground

Windshield Wiper/Washer Switch B (w/o Rear Fog Lamps)


Object Number: 1466986  Size: CH

Connector Part Information

    • AMP 174463-1
    • 2-Way M 070 Series Multilock 2P (WH)

Pin

Wire Color

Circuit No.

Function

1

YE

112

Windshield Wiper Switch Signal 1

2

GY

91

Windshield Wiper Switch Pulse Delay Signal