The inside rearview mirror is attached to a support which is secured to the windshield glass. The support is installed by the glass supplier using a plastic-polyvinyl butyl adhesive.
Service replacement windshield glass has the mirror support bonded to the glass assembly. In order to install a detached mirror support or to install a new part, the following items will be needed:
| • | Loctite® Minute-Bond Adhesive |
| • | Original or replacement mirror support |
| • | Wax marking pencil or crayon |
| • | Fine grit sandpaper (grit#320 or #360) |
Installation Procedure
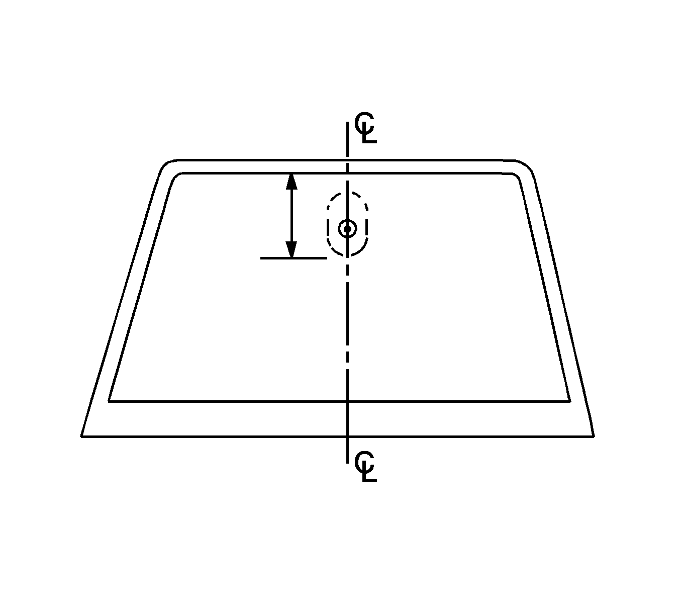
- Measure the distance from the headliner to the bottom of the location where the mirror support will be mounted on the windshield.
- Mark this position on the outside of the glass with a wax pencil or crayon. Draw a large diameter circle around the mirror support location on the outside
of the glass.
- Clean the inside surface of the glass with a domestic scouring cleanser, a glass cleaning solution, or a polishing compound and paper towels. Rub the glass until the area is completely dry. When the area is dry, clean the area with an alcohol-saturated
paper towel in order to remove any traces of the scouring powder or the glass cleaning solution.
- If the mirror support is new, clean the bonding surface with fine grit sandpaper #320 or #360. If the original mirror support is being used, all traces of factory installed adhesive must be removed prior to reinstallation.
- Wipe the sanded mirror support with a clean paper towel saturated with rubbing alcohol. Allow the support to dry.
- Follow the adhesive kit manufacturer's directions for adhesive application and mirror support preparation before installing the mirror support to the glass.
- Position the mirror support to its premarked position. Use steady pressure and press the support against the glass for 30-60 seconds.
- After 5 minutes, remove the excess adhesive with an alcohol-moistened towel or a glass-cleaning solution.
Notice: Refer to Fastener Notice in the Preface section.
- Install the inside rearview mirror to the mirror support with the mounting screw.
Tighten
Tighten the rearview mirror mounting bolt to 1.2 N·m (11 lb in).