GM Service Manual Online
For 1990-2009 cars only
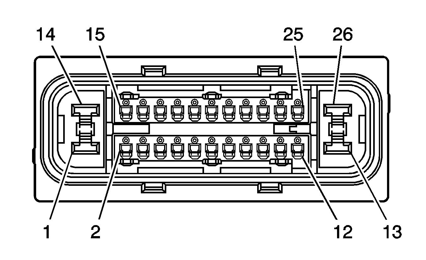
Connector 1: Electronic Brake Control Module (EBCM) w/ TCS
Connector 2: Electronic Brake Control Module (EBCM) w/o TCS
Connector 3: Lamp Driver Module
Connector 4: Oil Feeding Connector
Connector 5: Wheel Speed Sensor (WSS) - Left Front
Connector 6: Wheel Speed Sensor (WSS) - Left Rear
Connector 7: Wheel Speed Sensor (WSS) - Right Front
Connector 8: Wheel Speed Sensor (WSS) - Right Rear

Electronic Brake Control Module (EBCM) w/ TCS


Object Number: 1883722  Size: CH

Connector Part Information

  • OEM: AMP 1376600-1
  • Service: N/A
  • Description: 47-Way M

Electronic Brake Control Module (EBCM) w/ TCS

Pin

Wire Color

Circuit No.

Function

1

RD

42

B+

2

D-BU

774

Serial Data

3

--

--

Not Used

4

BN

739

Ignition 1 Voltage

5-9

--

--

Not Used

10

WH/YE

866

Rough Road Signal

11-12

--

--

Not Used

13

PU/WH

33

Brake Oil Pressure Switch

14

L-BU

876

Rough Road Signal

15

--

--

Not Used

16

BK/WH

2051

Ground

17-31

--

--

Not Used

32

RD

42

B+

33

WH

833

Right Front Wheel Speed Sensor Signal

34

GY

872

Right Front Wheel Speed Sensor Return

35

D-GN

905

TCS Warning Lamp Indicator Control

36

BK

884

Left Rear Wheel Speed Sensor Return

37

RD

885

Left Rear Wheel Speed Sensor Signal

38-40

--

--

Not Used

41

L-BU

20

Stop Lamp Switch Signal

42

WH

883

Right Rear Wheel Speed Sensor Return

43

BN

882

Right Rear Wheel Speed Sensor Signal

44

L-GN/BK

867

ABS Warning Lamp

45

L-BU

830

Left Front Wheel Speed Sensor Return

46

BN

873

Left Front Wheel Speed Sensor Signal

47

BK

2050

Ground

Electronic Brake Control Module (EBCM) w/o TCS


Object Number: 1883720  Size: CH

Connector Part Information

  • OEM: AMP 1612683-1
  • Service: N/A
  • Description: 26-Way F

Electronic Brake Control Module (EBCM) w/o TCS

Pin

Wire Color

Circuit No.

Function

1

RD

42

B+

2

BK

884

Left Rear Wheel Speed Sensor Return

3

RD

885

Left Rear Wheel Speed Sensor Signal

4

L-GN/BK

867

ABS Warning Lamp

5

WH

833

Right Front Wheel Speed Sensor Signal

6

GY

872

Right Front Wheel Speed Sensor Return

7

--

--

Not Used

8

L-BU

830

Left Front Wheel Speed Sensor Return

9

BN

873

Left Front Wheel Speed Sensor Signal

10

PU/WH

33

Brake Oil Pressure Switch

11

WH

883

Right Rear Wheel Speed Sensor Return

12

BN

882

Right Rear Wheel Speed Sensor Signal

13

BK/WH

2051

Ground

14

RD

42

B+

15

--

--

Not Used

16

L-BU

20

Stop Lamp Switch Signal

17

WH/YE

866

Rough Road Signal

18

D-BU

774

Serial Data

19

L-GN

876

Rough Road Signal

20

BN

739

Ignition 1 Voltage

21-25

--

--

Not Used

26

BK

2050

Ground

Lamp Driver Module


Object Number: 1883721  Size: CH

Connector Part Information

  • OEM: AK 36636
  • Service: N/A
  • Description: 6-Way M

Lamp Driver Module

Pin

Wire Color

Circuit No.

Function

A

PU/WH

33

Park Brake Indicator Control

B

BN

739

Ignition 1 Voltage

C

L-GN/BK

867

ABS Warning Lamp

D

BK

1150

Ground

E

GY

875

ABS Indicator Control

F

GY/BK

2147

Brake Oil Pressure Switch

Oil Feeding Connector


Object Number: 1467077  Size: CH

Connector Part Information

  • OEM: KET MG 640333
  • Service: N/A
  • Description: 4-Way M SWP Series (BK)

Oil Feeding Connector

Pin

Wire Color

Circuit No.

Function

1

BK/WH

2051

Ground

2

BN

739

Ignition 1 Voltage

3

D-BU

774

Serial Data

4

RD

42

Battery Positive Voltage

Wheel Speed Sensor (WSS) - Left Front


Object Number: 537107  Size: CH

Connector Part Information

  • OEM: Bosch 2264-420424
  • Service: N/A
  • Description: 2-Way F Metri-Pack 150 Series Sealed (GY)

Wheel Speed Sensor (WSS) - Left Front

Pin

Wire Color

Circuit No.

Function

A

BN

873

Left Front Wheel Speed Sensor Signal

WH

873

Left Front Wheel Speed Sensor Signal (Diesel)

B

L-BU

830

Left Front Wheel Speed Sensor Return

OG

830

Left Front Wheel Speed Sensor Return (Diesel)

Wheel Speed Sensor (WSS) - Left Rear


Object Number: 537107  Size: CH

Connector Part Information

  • OEM: PED 12052644
  • Service: N/A
  • Description: 2-Way F Metri-Pack 150 Series Sealed (GY)

Wheel Speed Sensor (WSS) - Left Rear

Pin

Wire Color

Circuit No.

Function

A

WH

885

Left Rear Wheel Speed Sensor Signal

B

GY

884

Left Rear Wheel Speed Sensor Return

Wheel Speed Sensor (WSS) - Right Front


Object Number: 537107  Size: CH

Connector Part Information

  • OEM: Bosch 2264-420424
  • Service: N/A
  • Description: 2-Way F Metri-Pack 150 Series Sealed (GY)

Wheel Speed Sensor (WSS) - Right Front

Pin

Wire Color

Circuit No.

Function

A

PU

872

Right Front Wheel Speed Sensor Return

B

YE

833

Right Front Wheel Speed Sensor Signal

Wheel Speed Sensor (WSS) - Right Rear


Object Number: 537107  Size: CH

Connector Part Information

  • OEM: PED 12052644
  • Service: N/A
  • Description: 2-Way F Metri-Pack 150 Series Sealed (GY)

Wheel Speed Sensor (WSS) - Right Rear

Pin

Wire Color

Circuit No.

Function

A

WH

883

Right Rear Wheel Speed Sensor Signal

B

GY

882

Right Rear Wheel Speed Sensor Return