GM Service Manual Online
For 1990-2009 cars only
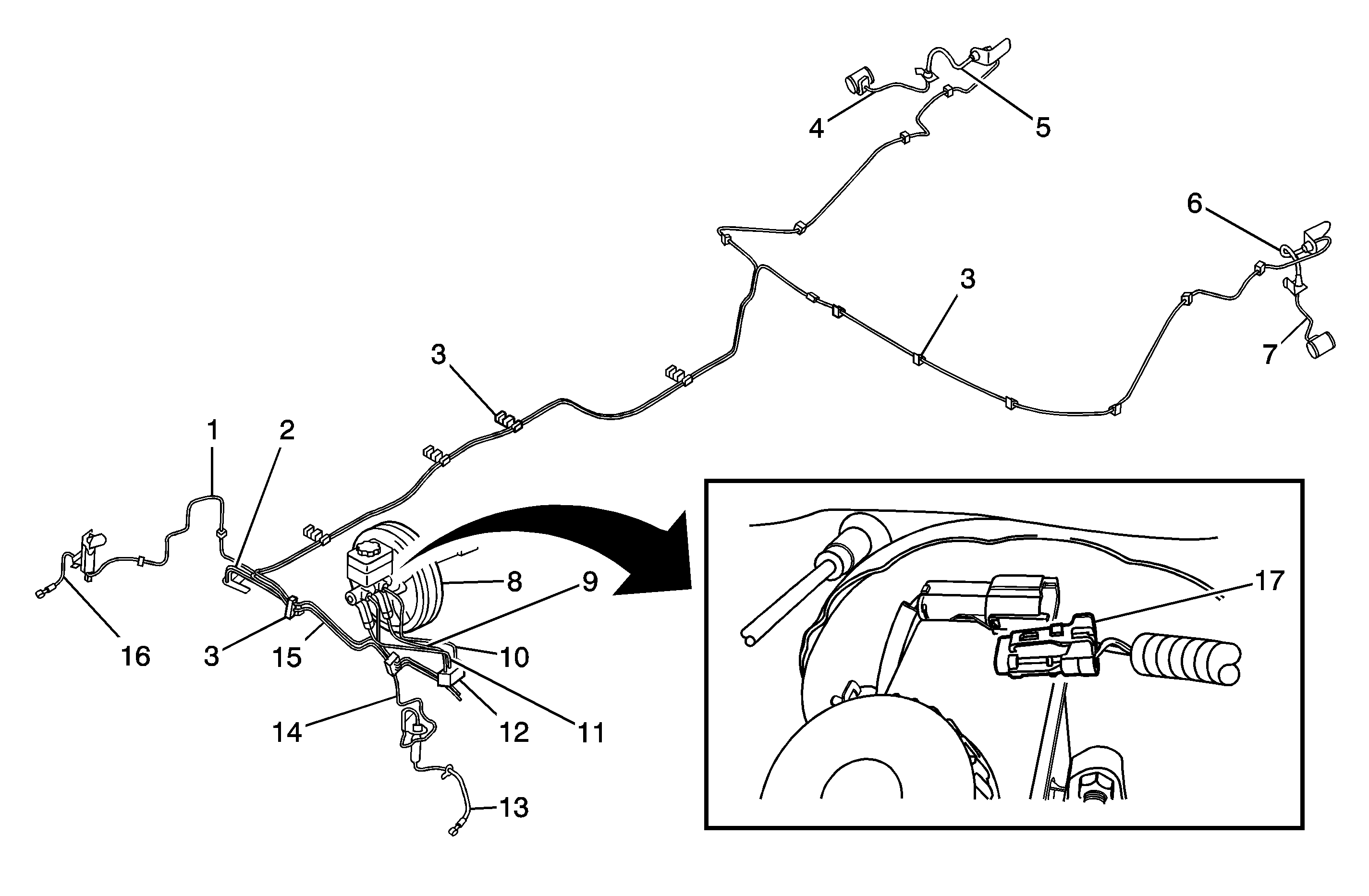
Figure 1:

ABS


Object Number: 1291744  Size: MF
(1)2nd Front Brake Pipe
(2)2nd Rear Brake Pipe (A)
(3)Clip
(4)Right Hand 3rd Rear Brake Pipe
(5)Right Hand Rear Brake Hose
(6)Left Hand Rear Brake Hose
(7)Left Hand 3rd Rear Brake Pipe
(8)Left Hand Drive Master Cylinder/Booster Assembly
(9)ABS Brake Pressure Modulator Valve
(10)Front Brake Pipe
(11)Left Hand Front Brake Hose
(12)1st Rear Brake Pipe (B)
(13)1st Rear Brake Pipe (A)
(14)2nd Rear Brake Pipe (B)
(15)Right Hand Front Brake Hose
(16)Brake Fluid Level Switch
Figure 2:

Non-ABS


Object Number: 1291745  Size: MF
(1)2nd Front Brake Pipe
(2)2nd Rear Brake Pipe
(3)Clip
(4)Right Hand 3rd Rear Brake Pipe
(5)Right Hand Rear Brake Hose
(6)Left Hand Rear Brake Hose
(7)Left Hand 3rd Rear Brake Pipe
(8)Left Hand Drive Master Cylinder/Booster Assembly
(9)1st Rear Brake Pipe (B)
(10)1st Front Brake Pipe
(11)1st Rear Brake Pipe (A)
(12)Connector
(13)Left Hand Front Brake Hose
(14)Front Brake Pipe
(15)2nd Rear Brake Pipe
(16)Right Hand Front Brake Hose
(17)Brake Fluid Level Switch
Figure 3:

Park Brake Switch


Object Number: 1480945  Size: MF
(1)Park Brake Switch