GM Service Manual Online
For 1990-2009 cars only

Removal Procedure


    Object Number: 1866170  Size: SH

    Important: Be careful not to damage the fuel suction hose (1) while removing the fuel pump from the fuel tank and installing the fuel pump to the fuel tank. The broken fuel suction hose can cause incorrect fuel leveling.

  1. Remove the fuel pump assembly. Refer to Fuel Pump Replacement .

  2. Object Number: 1863902  Size: SH

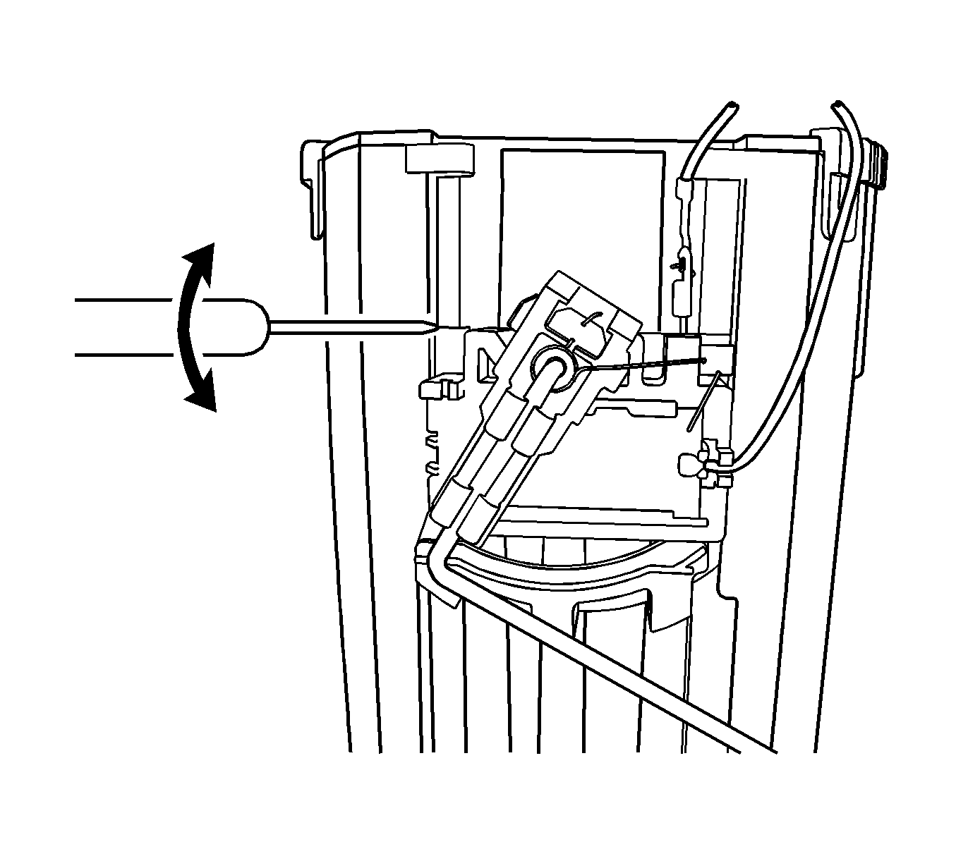
    Important: Pull the connectors while pressing the right side locking tap using a tool such as a flat screwdriver.

  3. Disconnect the fuel sender connector from the fuel pump assembly.

  4. Object Number: 1863903  Size: SH

    Important: Pull the bracket while pressing the right side locking tap using a tool such as a flat screwdriver.

  5. Remove the fuel sender assembly bracket from the fuel pump assembly.

  6. Object Number: 1863905  Size: SH

    Important: Pull the sender body while pressing the right side locking tap using a tool such as a flat screwdriver.

  7. Remove the fuel sender by sliding it out.

Installation Procedure


    Object Number: 1863905  Size: SH
  1. Install the fuel sender in the reverse order of removal.
  2. Install the fuel pump assembly to the fuel tank. Refer to Fuel Pump Replacement .