GM Service Manual Online
For 1990-2009 cars only
Makes
🢒
Chevrolet
🢒
2008
🢒
Optra
🢒
Engine
🢒
Engine Mechanical - 1.8L (LDA)
🢒 Disassembled Views
Figure
1:
Engine Block
(1)
Timing Belt Tensioner
(2)
Camshaft Position Sensor
(3)
Timing Belt Rear cover
(4)
Water Pump
(5)
Water Pump Seal Ring
(6)
Piston Rings
(7)
Piston
(8)
Connecting Rod
(9)
Connecting Rod Bearing
(10)
Connecting Rod Cap
(11)
Cylinder Block
(12)
PCV Pipe
(13)
PCV Hose
(14)
PCV Pipe Gasket
(15)
Crankshaft
(16)
Flywheel
(17)
Oil Level Gage Pipe
(18)
Oil Drain plug
(19)
Oil Pan
(20)
Crankshaft Journal Bearing Cap
(21)
Crankshaft Journal Bearing
(22)
Oil Pump Gasket
(23)
Oil Pump Cover
(24)
Oil Pump Inner Rotor
(25)
Oil Pump Outer Rotor
(26)
Plug
(27)
Oil Pump Housing
(28)
Oil Suction Pipe
(29)
Oil Pressure Switch
(30)
Timing Belt Lower Cover
(31)
Crankshaft Pulley
(32)
Timing Belt
(33)
Timing Belt Upper Cover Seal
(34)
Timing Belt Upper Cover
(35)
Crankshaft Gear
(36)
Engine Mount Support Bracket
(37)
Idler Pulley
(38)
Camshaft Gears
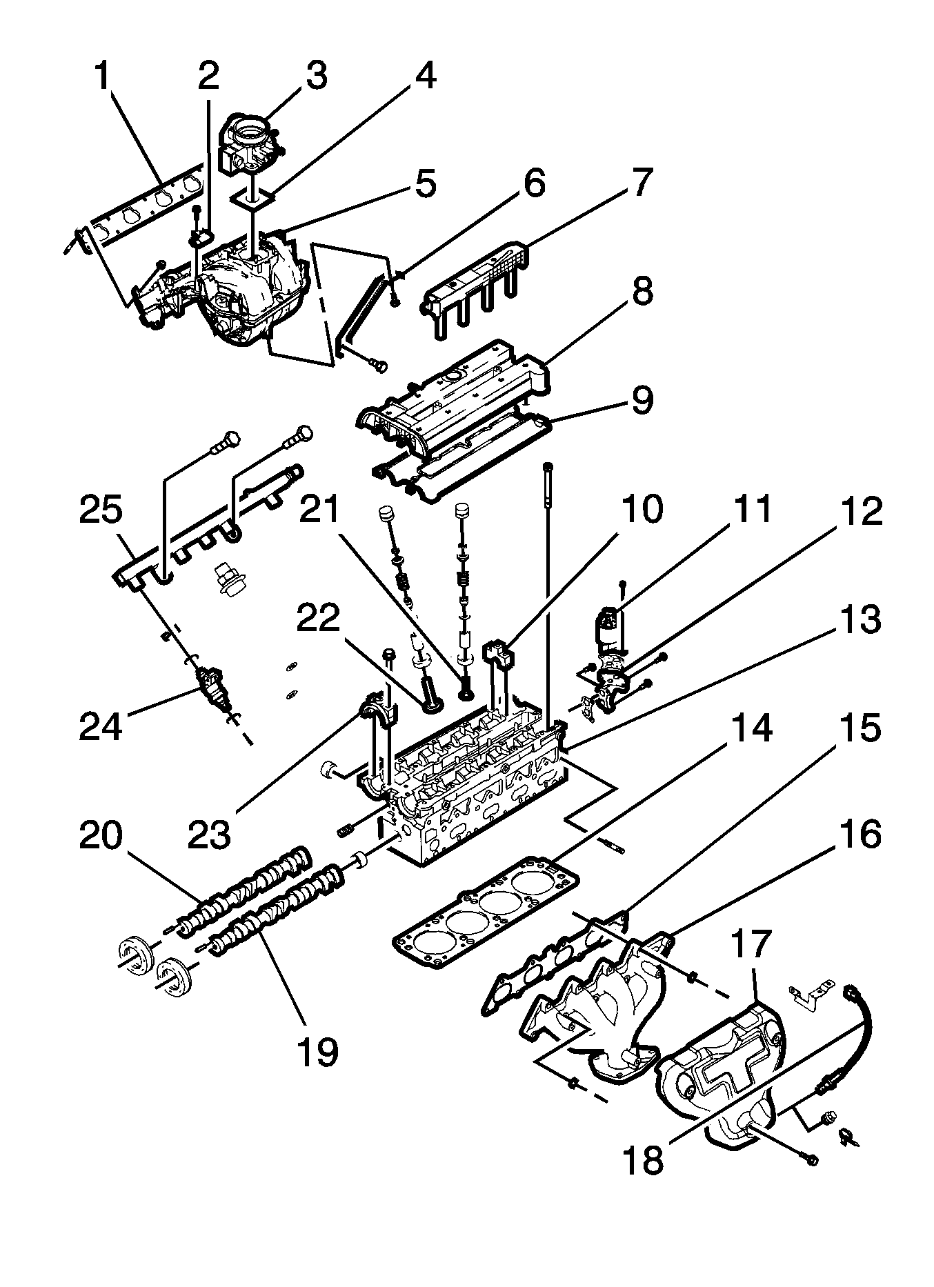
Figure
2:
Upper End
(1)
Intake Manifold Gasket
(2)
Manifold Air Pressure Sensor
(3)
Throttle Body
(4)
Throttle Body Gasket
(5)
Intake Manifold
(6)
Intake Manifold Bracket
(7)
Ignition Coil Assembly
(8)
Cylinder Head Cover
(9)
Cylinder Head Cover Gasket
(10)
Camshaft Bearing Cap
(11)
EGR Valve
(12)
EGR Adapter
(13)
Cylinder Head
(14)
Cylinder Head Gasket
(15)
Exhaust Manifold Gasket
(16)
Exhaust Manifold
(17)
Exhaust Manifold Heat Shield
(18)
Oxygen Sensor
(19)
Exhaust Camshaft
(20)
Intake Camshaft
(21)
Exhaust Valve
(22)
Intake Valve
(23)
Camshaft Bearing Cap
(24)
Fuel Injector
(25)
Fuel Rail