GM Service Manual Online
For 1990-2009 cars only
Connector 1: A/C Compressor Clutch (C60, C68)
Connector 2: A/C Refrigerant Pressure Sensor Manual HVAC (L95, LXT)
Connector 3: A/C Refrigerant Pressure Sensor Manual HVAC (LDA, L79, L34)
Connector 4: A/C Refrigerant Pressure Sensor - Automatic/HVAC (L95, LXT)
Connector 5: A/C Refrigerant Pressure Sensor - Automatic/HVAC (LDA, L79, L34)
Connector 6: A/C Refrigerant Pressure Sensor - Automatic/HVAC (LMN)
Connector 7: A/C Refrigerant Pressure Sensor (LMN)
Connector 8: Accelerator Pedal Position (APP) Sensor (L34)
Connector 9: Accelerator Pedal Position Sensor (LMN)
Connector 10: Air Temperature Actuator (C68)
Connector 11: Ambient Air Temperature Sensor (C68)
Connector 12: Ashtray Lamp
Connector 13: Automatic Transmission Shift Lever (Except North America)
Connector 14: Automatic Transmission Shift Lever (North America)
Connector 15: Auxiliary Power Outlet
Connector 16: Back Up Lamp - Left
Connector 17: Back Up Lamp - Right
Connector 18: Backup Lamp Switch (M/T)
Connector 19: Battery Saver (ER1)
Connector 20: Blower Motor
Connector 21: Blower Motor Control Module (C68)
Connector 22: Blower Motor Relay (C68)
Connector 23: Blower Motor Relay (C60)
Connector 24: Blower Motor Resistor (C60)
Connector 25: Blower Switch (C60)
Connector 26: Boost Pressure Sensor (LMN)
Connector 27: Brake Fluid Level Switch
Connector 28: Camshaft Position (CMP) Sensor (L95, LXT)
Connector 29: Camshaft Position (CMP) Sensor (L79)
Connector 30: Camshaft Position (CMP) Sensor (LDA)
Connector 31: Camshaft Position (CMP) Sensor (w/Throttle Actuator Control) (L34)
Connector 32: Camshaft Position (CMP) Sensor (w/o Throttle Actuator Control) (L34)
Connector 33: Camshaft Position (CMP) Sensor (LMN)
Connector 34: Center High Mounted Stop Lamp (CHMSL) Hatchback
Connector 35: Center High Mounted Stop Lamp (CHMSL) Notchback
Connector 36: Cigar Lighter/Ashtray Lamp
Connector 37: Clock
Connector 38: Clutch Start Switch
Connector 39: Clutch Switch (M/T)
Connector 40: Coolant Temperature Sensor (C68)
Connector 41: Cooling Fan - Auxiliary
Connector 42: Cooling Fan - Main
Connector 43: Cooling Fan Control Relay
Connector 44: Cooling Fan Resistor
Connector 45: Crankshaft Position Sensor (CKP) Sensor (L95, LXT)
Connector 46: Crankshaft Position (CKP) Sensor (L79)
Connector 47: Crankshaft Position (CKP) Sensor (LDA)
Connector 48: Crankshaft Position (CKP) Sensor (w/Throttle Actuator Control) (L34)
Connector 49: Crankshaft Position (CKP) Sensor (w/o Throttle Actuator Control) (L34)
Connector 50: Crankshaft Position (CKP) Sensor (LMN)
Connector 51: Cruise Control Module
Connector 52: Data Link Connector (DLC)
Connector 53: Daytime Running Lamp (DRL) Module (T61-Except North America)
Connector 54: Daytime Running Lamp (DRL) Module (T61-North America)
Connector 55: Daytime Running Lamp (DRL) Relay (T61-Except North America)
Connector 56: Daytime Running Lamp (DRL) Relay 1 (T61-Except North America)
Connector 57: Daytime Running Lamp (DRL) Relay 2 (T61-Except North America)
Connector 58: Diesel Particulate Filter Pressure Sensor (LMN)
Connector 59: Dome Lamp (TC0)
Connector 60: Dome Lamp (w/o TC0)
Connector 61: Door Ajar Switch - Left Front
Connector 62: Door Ajar Switch - Left Rear
Connector 63: Door Ajar Switch - Right Front
Connector 64: Door Ajar Switch - Right Rear
Connector 65: Door Lock Actuator - Driver
Connector 66: Door Lock Actuator - Front Passenger
Connector 67: Door Lock Actuator - Left Rear
Connector 68: Door Lock Actuator - Right Rear
Connector 69: Door Lock Relay
Connector 70: Door Lock Switch (Optional)
Connector 71: Door Tamper Switch - Driver
Connector 72: Door Tamper Switch - Passenger
Connector 73: Electronic Brake Control Module (EBCM) w/TCS
Connector 74: Electronic Brake Control Module (EBCM) w/o TCS
Connector 75: Engine Control Module (ECM) X1 (LMN)
Connector 76: Engine Control Module (ECM) X2 (LMN)
Connector 77: Engine Control Module (ECM) (L95, LXT)
Connector 78: Engine Control Module (ECM) X1 (HV-240) (L79)
Connector 79: Engine Control Module (ECM) X2 (HV-240) (L79)
Connector 80: Engine Control Module (ECM) X1 (MR-140) (LDA)
Connector 81: Engine Control Module (ECM) X2 (MR-140) (LDA)
Connector 82: Engine Control Module (ECM) X1 (L34) w/Throttle Actuator Control
Connector 83: Engine Control Module (ECM) X2 (L34) w/Throttle Actuator Control
Connector 84: Engine Control Module (ECM) X1 (MR-140) (L34) w/o Throttle Actuator Control
Connector 85: Engine Control Module (ECM) X2 (MR-140) (L34) w/o Throttle Actuator Control
Connector 86: Engine Coolant Temperature (ECT) Sensor (L95, LXT)
Connector 87: Engine Coolant Temperature (ECT) Sensor (L79)
Connector 88: Engine Coolant Temperature (ECT) Sensor (LDA)
Connector 89: Engine Coolant Temperature (ECT) Sensor (w/Throttle Actuator Control) (L34)
Connector 90: Engine Coolant Temperature (ECT) Sensor (w/o Throttle Actuator Control) (L34)
Connector 91: Engine Coolant Temperature (ECT) Sensor (LMN)
Connector 92: Evaporative Emission (EVAP) Canister Purge Solenoid Valve (L95, LXT)
Connector 93: Evaporative Emission (EVAP) Canister Purge Solenoid Valve (L79)
Connector 94: Evaporative Emission (EVAP) Canister Purge Solenoid Valve (LDA)
Connector 95: Evaporative Emission (EVAP) Canister Purge Solenoid Valve (w/Throttle Actuator Control) (L34)
Connector 96: Evaporative Emission (EVAP) Canister Purge Solenoid Valve (w/o Throttle Actuator) (L34)
Connector 97: Evaporative Emission (EVAP) Canister Vent Solenoid Valve (LDA)
Connector 98: Evaporative Emission (EVAP) Canister Vent Solenoid (w/Throttle Actuator Control) (L34)
Connector 99: Evaporative Emission (EVAP) Canister Vent Solenoid Valve (w/o Throttle Actuator Control) (L34)
Connector 100: Exhaust Gas Recirculation (EGR) Valve (ECE 83 Emissions) (L95, LXT)
Connector 101: Exhaust Gas Recirculation (EGR) Valve (Euro III Emissions) (L95, LXT)
Connector 102: Exhaust Gas Recirculation (EGR) Valve (Euro IV Emissions) (L95, LXT)
Connector 103: Exhaust Gas Recirculation (EGR) Valve (LDA)
Connector 104: Exhaust Gas Recirculation (EGR) Valve (w/Throttle Actuator Control) (L34)
Connector 105: Exhaust Gas Recirculation (EGR) Valve (w/o Throttle Actuator Control) (L34)
Connector 106: Exhaust Gas Recirculation (EGR) Valve (LMN)
Connector 107: Exhaust Gas Temperature Sensor 1 - (LMN)
Connector 108: Exhaust Gas Temperature Sensor 2 (LMN)
Connector 109: Fog Lamp - Left Front
Connector 110: Fog Lamp - Left Rear (T79)
Connector 111: Fog Lamp - Right Front
Connector 112: Fog Lamp - Right Rear (T79)
Connector 113: Fuel Filter Heater/Temperature Sensor (LMN)
Connector 114: Fuel Injector 1 (LMN)
Connector 115: Fuel Injector 2 (LMN)
Connector 116: Fuel Injector 3 (LMN)
Connector 117: Fuel Injector 4 (LMN)
Connector 118: Fuel Injectors (L95, LXT)
Connector 119: Fuel Injectors (L79)
Connector 120: Fuel Injectors (LDA)
Connector 121: Fuel Injectors (L34)
Connector 122: Fuel Injectors (w/o Throttle Actuator Control) (L34)
Connector 123: Fuel Pump/Sender
Connector 124: Fuel Pump (L79)
Connector 125: Fuel Pump (LDA)
Connector 126: Fuel Pump (w/o Throttle Actuator Control) (L34)
Connector 127: Fuel Pump/Sender (L95, LXT)
Connector 128: Fuel Pump/Sender (w/Throttle Actuator Control) (L34)
Connector 129: Fuel Pump Module (LMN)
Connector 130: Fuel Rail Pressure Control Valve (LMN)
Connector 131: Fuel Rail Pressure Sensor (LMN)
Connector 132: Fuel Tank Pressure Sensor (w/Throttle Actuator Control) (L34)
Connector 133: Generator
Connector 134: Glow Plug Control Unit (LMN)
Connector 135: Hazard Switch
Connector 136: Headlamp - High Beam - Left
Connector 137: Headlamp - High Beam - Right
Connector 138: Headlamp - Low Beam - Left
Connector 139: Headlamp - Low Beam - Right
Connector 140: Headlamp Leveling Switch (TR6)
Connector 141: Headlamp Switch
Connector 142: Heated Oxygen Sensor 1 (HO2S1) (LDA)
Connector 143: Heated Oxygen Sensor 1 (HO2S1) (w/o Throttle Actuator Control) (L34)
Connector 144: Heated Oxygen Sensor 2 (HO2S2) (LDA)
Connector 145: Heated Oxygen Sensor 2 (HO2S2) (w/o Throttle Actuator Control) (L34)
Connector 146: Heated Oxygen Sensor 2 (HO2S2) (Mexico, Japan) (LDA)
Connector 147: Heated Oxygen Sensor 2 (HO2S2) (Mexico, Japan) (w/o Throttle Actuator Control) (L34)
Connector 148: Heated Oxygen Sensor (HO2S) 1 (L95, LXT)
Connector 149: Heated Oxygen Sensor (HO2S) 1 (w/Throttle Actuator Control) (L34)
Connector 150: Heated Oxygen Sensor (HO2S) 2 (L95, LXT)
Connector 151: Heated Oxygen Sensor (HO2S) 2 (w/Throttle Actuator Control) (L34)
Connector 152: High Pressure Pump (LMN)
Connector 153: High Speed Blower Motor Relay (C68)
Connector 154: Hold Mode Switch (M98)
Connector 155: Hood Ajar Switch
Connector 156: Horn
Connector 157: HVAC Control Module X1 (C68)
Connector 158: HVAC Control Module X2 (C68)
Connector 159: HVAC Control Module (C60)
Connector 160: I/P Compartment Lamp
Connector 161: I/P Compartment Lamp Switch
Connector 162: I/P Dimmer Switch
Connector 163: Idle Air Control (IAC) Valve (L79)
Connector 164: Idle Air Control (IAC) Valve (LDA)
Connector 165: Idle Air Control (IAC) Valve (w/o Throttle Actuator Control) (L34)
Connector 166: Ignition Coil (IC) Module (L79)
Connector 167: Ignition Coil (IC) Module (LDA)
Connector 168: Ignition Coil (IC) Module (w/Throttle Actuator Control) (L34)
Connector 169: Ignition Coil (IC) Module (w/o Throttle Actuator Control) (L34)
Connector 170: Ignition Coil Module (1 and 4) (L95, LXT)
Connector 171: Ignition Coil Module (2 and 3) (L95, LXT)
Connector 172: Ignition Lock Cylinder Control Actuator (North America)
Connector 173: Ignition Key Alarm Switch
Connector 174: Ignition Key Alarm Switch
Connector 175: Ignition Key Cylinder Lamp
Connector 176: Ignition Switch
Connector 177: Immobilizer
Connector 178: Inflatable Restraint Front End Discriminating Sensor
Connector 179: Inflatable Restraint Front Passenger Presence Sensor
Connector 180: Inflatable Restraint I/P Module (Single Stage) (L95, LXT, LDA, L79)
Connector 181: Inflatable Restraint I/P Module (Dual Stage) (L34)
Connector 182: Inflatable Restraint Sensing and Diagnostic Module (SDM) (Except North America)
Connector 183: Inflatable Restraint Sensing and Diagnostic Module (SDM) (North America)
Connector 184: Inflatable Restraint Side Impact Module (AJ7)
Connector 185: Inflatable Restraint Side Impact Sensor (AJ7)
Connector 186: Inflatable Restraint Steering Wheel Module (Single Stage) (L95, LXT, LDA, L79)
Connector 187: Inflatable Restraint Steering Wheel Module (Dual Stage) (L34)
Connector 188: Inflatable Restraint Steering Wheel Module C1 (North America)
Connector 189: Inflatable Restraint Steering Wheel Module C2 (North America)
Connector 190: Inflatable Restraint Steering Wheel Module Coil
Connector 191: Inflatable Restraint Steering Wheel Module Coil - C1 (Single Stage) (L95, LXT, LDA, L79)
Connector 192: Inflatable Restraint Steering Wheel Module Coil - C1 (Dual Stage) (L34)
Connector 193: Inflatable Restraint Steering Wheel Module Coil - C2 (w/Cruise)
Connector 194: Inflatable Restraint Steering Wheel Module Coil - C2 (w/o Cruise)
Connector 195: Input Shaft Speed (ISS) Sensor (MLQ)
Connector 196: Input Speed Sensor (M98)
Connector 197: Inside Air Temperature (C68)
Connector 198: Instrument Cluster X1
Connector 199: Instrument Cluster X2
Connector 200: Instrument Cluster X3
Connector 201: Intake Air Temperature (IAT) Sensor (L95, LXT)
Connector 202: Intake Air Temperature (IAT) Sensor (L79)
Connector 203: Intake Air Temperature (IAT) Sensor (LDA)
Connector 204: Intake Air Temperature (IAT) Sensor (w/Throttle Actuator Control) (L34)
Connector 205: Intake Air Temperature (IAT) Sensor (w/o Throttle Actuator Control) (L34)
Connector 206: Intake Manifold Tuning Valve (L95, LXT)
Connector 207: Intake Manifold Tuning Valve Solenoid (L79)
Connector 208: Intake Manifold Tuning Valve Solenoid (LDA)
Connector 209: Intake Manifold Tuning Valve Solenoid (w/o Throttle Actuator Control) (L34)
Connector 210: Key Interlock Module (Except North America)
Connector 211: Key Interlock Module (North America)
Connector 212: Knock Sensor (KS) (L95, LXT)
Connector 213: Knock Sensor (KS) (L79)
Connector 214: Knock Sensor (KS) (LDA)
Connector 215: Knock Sensor (KS) (w/Throttle Actuator Control) (L34)
Connector 216: Knock Sensor (KS) (w/o Throttle Actuator Control) (L34)
Connector 217: Lamp Control Module
Connector 218: Lamp Driver Module
Connector 219: License Plate Lamp - Left
Connector 220: License Plate Lamp - Right
Connector 221: Manifold Absolute Pressure (MAP) Sensor (L95, LXT)
Connector 222: Manifold Absolute Pressure (MAP) Sensor (L79)
Connector 223: Manifold Absolute Pressure (MAP) Sensor (LDA)
Connector 224: Manifold Absolute Pressure (MAP) Sensor (w/Throttle Actuator Control) (L34)
Connector 225: Manifold Absolute Pressure (MAP) Sensor (w/o Throttle Actuator Control) (L34)
Connector 226: Mass Air Flow (MAF) Sensor (LMN)
Connector 227: Mode Actuator (C68)
Connector 228: Multifunction Alarm Module
Connector 229: Octane Selection Switch (L95, LXT)
Connector 230: Octane Selection Switch (L79)
Connector 231: Oil Feeding Connector
Connector 232: Oil Pressure Switch
Connector 233: Output Speed Sensor (M98)
Connector 234: Outside Rearview Mirror Driver
Connector 235: Outside Rearview Mirror Folding Module (Optional)
Connector 236: Outside Rearview Mirror Passenger
Connector 237: Outside Rearview Mirror Switch
Connector 238: Oxygen (O2) Sensor (L95, LXT)
Connector 239: Oxygen (O2) Sensor (L79)
Connector 240: Park Neutral Position (PNP) Switch (MLQ)
Connector 241: Park/Neutral Position Switch (M98)
Connector 242: Park/Neutral Position (PNP) Switch (MFA)
Connector 243: Park/Turn Signal Lamp - Left Front (Except North America)
Connector 244: Park/Turn Signal Lamp - Left Front (North America)
Connector 245: Park/Turn Signal Lamp - Right Front (Except North America)
Connector 246: Park/Turn Signal Lamp - Right Front (North America)
Connector 247: Parking Brake Switch
Connector 248: Power Steering Control Module
Connector 249: PTC Heater (LMN)
Connector 250: Radio (w/RDS) A
Connector 251: Radio (w/RDS) B
Connector 252: Radio (w/o RDS)
Connector 253: Radio Antenna Module (Hatchback)
Connector 254: Radio Antenna Module (Notchback)
Connector 255: Reading Lamp (CF5)
Connector 256: Reading Lamps (w/o CF5)
Connector 257: Rear Compartment Lamp
Connector 258: Rear Compartment Latch (Notchback)
Connector 259: Rear Compartment Lid Release Actuator (Notchback)
Connector 260: Rear Compartment Lid Release Switch (Notchback)
Connector 261: Rear Compartment Tamper Switch
Connector 262: Rear Compartment Tamper Switch (Notchback)
Connector 263: Rear Fog Lamp Relay (T79)
Connector 264: Rear Liftgate Latch - C1 (Hatchback)
Connector 265: Rear Liftgate Latch - C2 (Hatchback)
Connector 266: Rear Liftgate Latch - C3 (Hatchback)
Connector 267: Rear Window Defogger X1
Connector 268: Rear Window Defogger X2
Connector 269: Recirculation Actuator
Connector 270: Remote Control Door Lock Receiver/Theft Deterrent Control Module (w/Alarm)
Connector 271: Remote Control Door Lock Receiver/Theft Deterrent Control Module (w/o Alarm)
Connector 272: Rough Road Sensor (L95, LXT)
Connector 273: Rough Road Sensor (LDA)
Connector 274: Rough Road Sensor (w/o Throttle Actuator Control) (L34)
Connector 275: Rough Road Sensor (w/o ABS) (w/Throttle Actuator Control) (L34)
Connector 276: Seat Belt Pretensioner
Connector 277: Seat Belt Switch
Connector 278: Security Indicator
Connector 279: Shift Indicator Lamp
Connector 280: Shift Program Switch (MLQ)
Connector 281: Shift Program Switch (MFA)
Connector 282: Side Marker Lamp - Left Rear
Connector 283: Side Marker Lamp - Right Rear
Connector 284: Speaker - Double (DBS)
Connector 285: Speaker - Tweeters - Front
Connector 286: Speaker - Tweeters - Rear
Connector 287: Speakers - Front
Connector 288: Speakers - Rear
Connector 289: Steering Wheel Position Sensor
Connector 290: Stop Lamp Switch
Connector 291: Sunload Sensor (C68)
Connector 292: Sunroof Module
Connector 293: Sunroof Switch/Reading Lamp
Connector 294: Tail/Stop Lamp - Left Rear Inner (Hatchback)
Connector 295: Tail/Stop Lamp - Left Rear Outer (Hatchback)
Connector 296: Tail/Stop Lamp - Right Rear Inner (Hatchback)
Connector 297: Tail/Stop Lamp - Right Rear Outer (Hatchback)
Connector 298: Theft Deterrent Alarm
Connector 299: Throttle Body (L95, LXT)
Connector 300: Throttle Body Assembly (w/Throttle Actuator Control) (L34)
Connector 301: Throttle Plate Actuator (LMN)
Connector 302: Throttle Position (TP) Sensor (L79)
Connector 303: Throttle Position (TP) Sensor (LDA)
Connector 304: Throttle Position (TP) Sensor (w/o Throttle Actuator Control) (L34)
Connector 305: Tire Pressure Monitor System (TPMS) Module
Connector 306: Transaxle (M98)
Connector 307: Transmission Connector (MLQ)
Connector 308: Transmission Connector (MFA)
Connector 309: Transmission Control Module (TCM) X1 (M98)
Connector 310: Transmission Control Module (TCM) X1 (MFA)
Connector 311: Transmission Control Module (TCM) X1 (MLQ)
Connector 312: Transmission Control Module (TCM) X2 (M98)
Connector 313: Transmission Control Module (TCM) X2 (MFA)
Connector 314: Transmission Control Module (TCM) X2 (MLQ)
Connector 315: Transmission Control Module (TCM) X3 (MFA)
Connector 316: Turn Signal Lamp - Left Front (Except North America)
Connector 317: Turn Signal Lamp - Left Rear
Connector 318: Turn Signal Lamp - Right Front (Except North America)
Connector 319: Turn Signal Lamp - Right Rear
Connector 320: Turn Signal Multifunction Switch
Connector 321: Turn Signal Repeater Lamp - Left
Connector 322: Turn Signal Repeater Lamp - Right
Connector 323: Turn Signal/Hazard Flasher Module
Connector 324: Variable Effort Steering Actuator
Connector 325: Vehicle Speed Sensor (VSS) (MLQ)
Connector 326: Vehicle Speed Sensor (VSS) (Manual Transmission)
Connector 327: Wastegate Solenoid (LMN)
Connector 328: Water In Fuel Sensor (LMN)
Connector 329: Wheel Speed Sensor (WSS) - Front
Connector 330: Wheel Speed Sensor (WSS) - Rear
Connector 331: Window Motor - Left Front
Connector 332: Window Motor - Left Rear
Connector 333: Window Motor - Right Front
Connector 334: Window Motor - Right Rear
Connector 335: Window Switch - Driver - Front Power Only
Connector 336: Window Switch - Left Front - Front/Rear Power
Connector 337: Window Switch - Left Rear
Connector 338: Window Switch - Right Front
Connector 339: Window Switch - Right Rear
Connector 340: Windshield Washer Fluid Pump (Hatchback)
Connector 341: Windshield Washer Fluid Pump (Notchback)
Connector 342: Windshield Wiper Motor (w/CE1)
Connector 343: Windshield Wiper Motor (w/o CE1)
Connector 344: Windshield Wiper/Washer Switch A
Connector 345: Windshield Wiper/Washer Switch B (w/Rear Fog Lamps)
Connector 346: Windshield Wiper/Washer Switch B (w/o Rear Fog Lamps)
Connector 347: Wiper Washer Rain Sensor (CE1)
Connector 348: Wiper Motor Rear

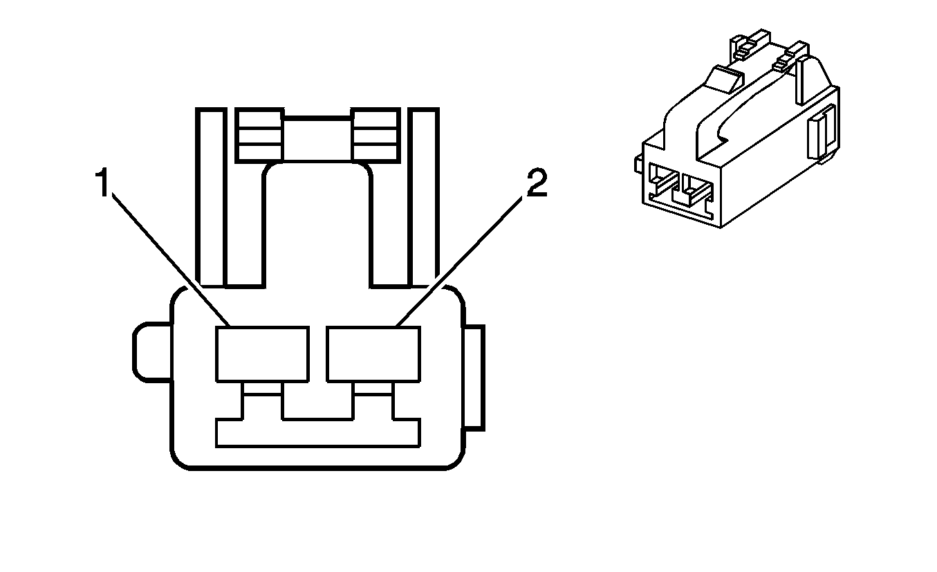
A/C Compressor Clutch (C60, C68)


Object Number: 684852  Size: CH

Connector Part Information

  • OEM: PED 12162017
  • Description: 2-Way F Metri-Pack 150 Series, Sealed (GY)

A/C Compressor Clutch (C60, C68)

Pin

Wire

Circuit

Function

A

0.5 D-GN

59

A/C Compressor Clutch Supply Voltage

B

0.5 BK

150

Ground

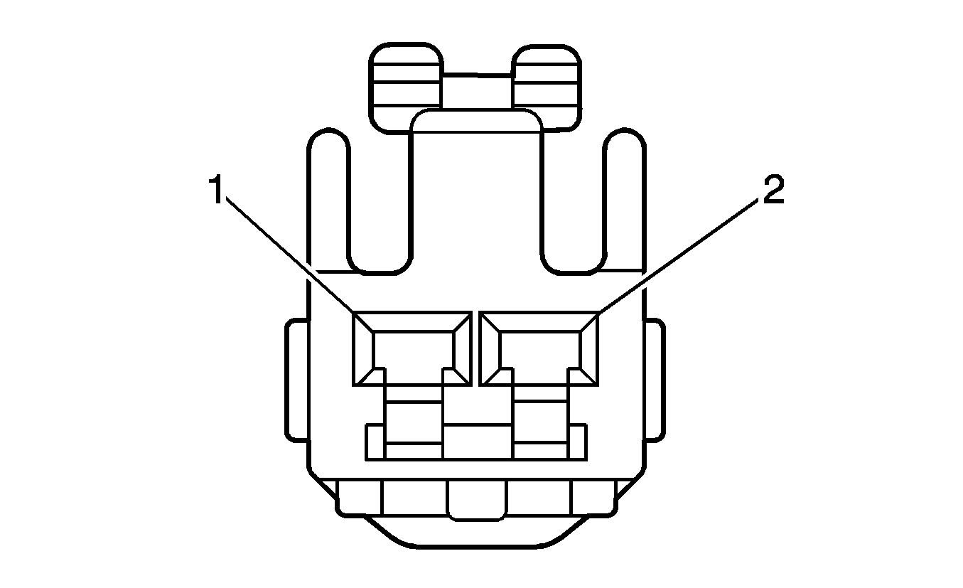
A/C Refrigerant Pressure Sensor Manual HVAC (L95, LXT)


Object Number: 258299  Size: CH

Connector Part Information

  • OEM: PED 12078090
  • Description: 3-Way F Metri-Pack 150 Series (BK)

A/C Refrigerant Pressure Sensor Manual HVAC (L95, LXT)

Pin

Wire

Circuit

Function

A

BN

413

Low Reference

B

L-BU/BK

1688

5-Volt Reference

C

L-BU

203

A/C Refrigerant Pressure Sensor Signal

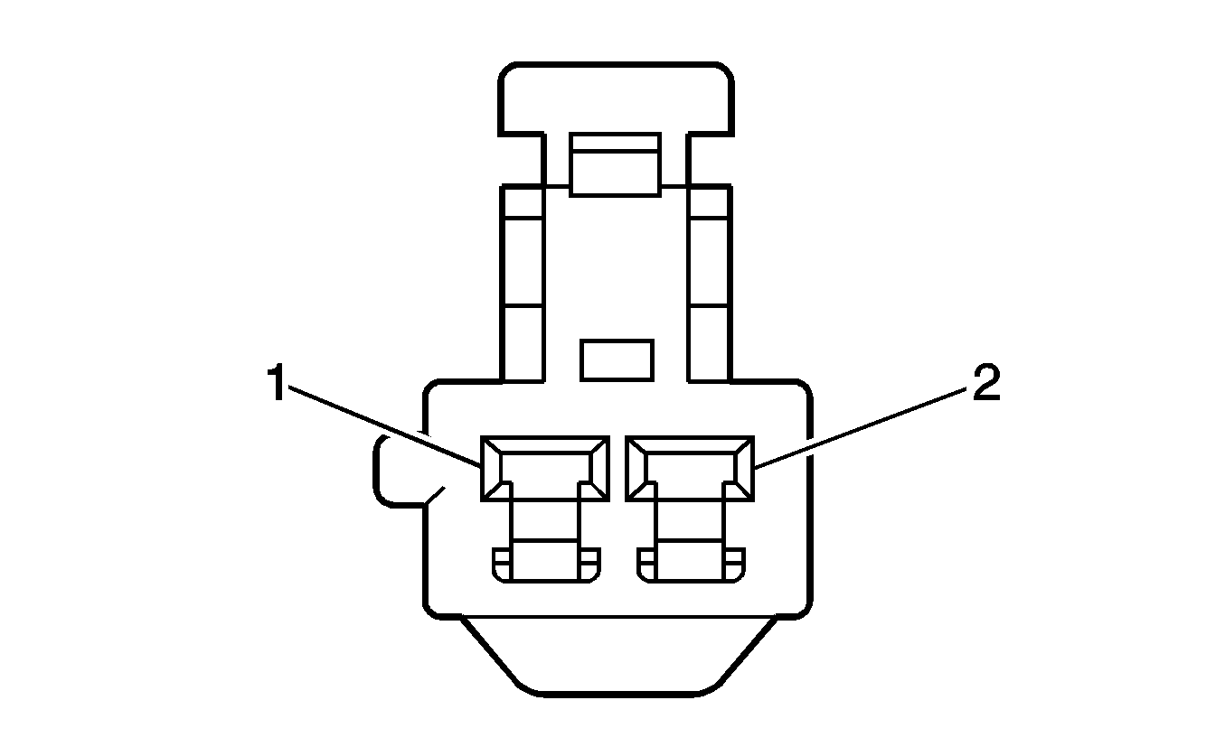
A/C Refrigerant Pressure Sensor Manual HVAC (LDA, L79, L34)


Object Number: 258299  Size: CH

Connector Part Information

  • OEM: PED 12078090
  • Description: 3-Way F Metri-Pack 150 Series (BK)

A/C Refrigerant Pressure Sensor Manual HVAC (LDA, L79, L34)

Pin

Wire

Circuit

Function

A

PU/WH

632

Low Reference

B

GY

605

5-Volt Reference

C

L-BU

380

A/C Refrigerant Pressure Sensor

A/C Refrigerant Pressure Sensor - Automatic/HVAC (L95, LXT)


Object Number: 258299  Size: CH

Connector Part Information

  • OEM: PED 12078090
  • Description: 3-Way F Metri-Pack 150 Series (WH)

A/C Refrigerant Pressure Sensor - Automatic/HVAC (L95, LXT)

Pin

Wire

Circuit

Function

A

0.5 BN

413

Low Reference

B

0.5 L-BU/BK

1688

5-Volt Reference

C

0.5 RD/L-BU

203

A/C Refrigerant Pressure Sensor Signal

A/C Refrigerant Pressure Sensor - Automatic/HVAC (LDA, L79, L34)


Object Number: 258299  Size: CH

Connector Part Information

  • OEM: PED 12078090
  • Description: 3-Way F Metri-Pack 150 Series (WH)

A/C Refrigerant Pressure Sensor - Automatic/HVAC (LDA, L79, LXT)

Pin

Wire

Circuit

Function

A

0.5 PU/WH

632

Low Reference

B

0.5 GY

605

5-Volt Reference

C

0.5 L-BU

380

5-Volt Reference

A/C Refrigerant Pressure Sensor - Automatic/HVAC (LMN)


Object Number: 258299  Size: CH

Connector Part Information

  • OEM: PED 12078090
  • Description: 3-Way F Metri-Pack 150 Series (WH)

A/C Refrigerant Pressure Sensor - Automatic/HVAC (LMN)

Pin

Wire

Circuit

Function

1

0.5 BN/WH

1688

5-Volt Reference

2

0.5 BN/WH

413

Low Reference

3

0.5 BN/BK

203

A/C Refrigerant Pressure Sensor Signal

A/C Refrigerant Pressure Sensor (LMN)


Object Number: 258299  Size: CH

Connector Part Information

  • OEM: PED 12078090
  • Description: 3-Way F Metri-Pack 150 Series (WH)

A/C Refrigerant Pressure Sensor (LMN)

Pin

Wire

Circuit

Function

A

BN/WH

605

5-Volt Reference

B

BK/WH

632

Low Reference

C

BN/BK

380

A/C Refrigerant Pressure Sensor Signal

Accelerator Pedal Position (APP) Sensor (L34)


Object Number: 1468516  Size: CH

Connector Part Information

  • OEM: AMP 174923
  • Description: 6-Way F (BK)

Accelerator Pedal Position (APP) Sensor (L34)

Pin

Wire

Circuit

Function

1

0.5 WH

791

APP Sensor 2 Signal

2

0.5 PU

1550

Low Reference

3

0.5 D-BU

790

APP Sensor 1 Signal

4

0.5 L-BU

1450

Low Reference

5

0.5 BN

488

5-Volt Reference 1

6

0.5 BN/BK

543

5-Volt Reference 2

Accelerator Pedal Position Sensor (LMN)


Object Number: 886053  Size: CH

Connector Part Information

  • OEM: PED 15326830
  • Description: 6-Way F GT 150 Series Unsealed

Accelerator Pedal Position Sensor (LMN)

Pin

Wire

Circuit

Function

1

WH

--

Accelerator Pedal Position Signal 2

2

PU

--

Accelerator Pedal Position Low Reference 2

3

BU

--

Accelerator Pedal Position Signal 1

4

L-BU

--

Accelerator Pedal Position Low Reference 1

5

BN

--

Accelerator Pedal Position 5-Volt Reference 1

6

BN/BK

--

Accelerator Pedal Position 5-Volt Reference 2

Air Temperature Actuator (C68)


Object Number: 1467023  Size: CH

Connector Part Information

  • OEM: KET MG 610203
  • Description: 7-Way F 118 (PA) Series (BK)

Air Temperature Actuator (C68)

Pin

Wire

Circuit

Function

1

--

--

Not Used

2

0.3 BK

1199

Air Temperature Door Control

3

0.3 BN

1812

Low Reference

4

--

--

Not Used

5

0.3 YE

1791

Low Reference

6

0.3 YE/BK

1814

Lower Mode Door Position Signal

7

0.3 L-BU

1316

Air Temperature Door Control

Ambient Air Temperature Sensor (C68)


Object Number: 1468380  Size: CH

Connector Part Information

  • OEM: KET MG 610489
  • Description: 2-Way F NMWP 04F-B Ass'y

Ambient Air Temperature Sensor (C68)

Pin

Wire

Circuit

Function

1

0.5 YE

61

Low Reference

2

0.5 L-GN/BK

735

Ambient Air Temperature Sensor Signal

Ashtray Lamp


Object Number: 1356111  Size: CH

Connector Part Information

  • OEM:
  • Description: 2-Way F (BK)

Ashtray Lamp

Pin

Wire

Circuit

Function

1

BN/WH

309

Ashtray Lamp Supply Voltage

2

D-GN

44

Ground

Automatic Transmission Shift Lever (Except North America)


Object Number: 1467039  Size: CH

Connector Part Information

  • OEM: KET MG 610396
  • Description: 4-Way F Series Sealed (WH)

Automatic Transmission Shift Lever (Except North America)

Pin

Wire

Circuit

Function

1

0.5 BK

1050

Ground

2

0.5 L-GN

275

Park/Neutral Position (PNP) Switch Signal

3

0.5 L-GN

275

Park/Neutral Position (PNP) Switch Signal

4

0.5 D-GN

286

Automatic Transmission Shift Lock Solenoid Supply Voltage

Automatic Transmission Shift Lever (North America)


Object Number: 1467039  Size: CH

Connector Part Information

  • OEM: KET MG 610396
  • Description: 4-Way F SDL Series (WH)

Automatic Transmission Shift Lever (North America)

Pin

Wire

Circuit

Function

1

0.50 BK

1050

Ground

2

0.5 L-GN

275

Park/Neutral Position (PNP) Switch Signal

3

0.5 L-GN

275

Shift Lock Control Solenoid

4

PK

239

Ignition 1 Voltage

Auxiliary Power Outlet


Object Number: 1467075  Size: CH

Connector Part Information

  • OEM: KET MG 630685-5
  • Description: 2-Way F 250 Series (BK)

Auxiliary Power Outlet

Pin

Wire

Circuit

Function

1

0.85 YE

243

Ignition 1 and 2 Voltage

2

0.85 BK

1050

Ground

Back Up Lamp - Left


Object Number: 1564575  Size: CH

Connector Part Information

  • OEM: 0001338
  • Description: 2-Way F CE-F22.2 Series (WH)

Back Up Lamp - Left

Pin

Wire

Circuit

Function

A

WH

24

Backup Lamps Supply Voltage

B

BK/WH

750

Ground

Back Up Lamp - Right


Object Number: 1564575  Size: CH

Connector Part Information

  • OEM:
  • Description: 2-Way F CE-F22.2 Series (WH)

Back Up Lamp - Right

Pin

Wire

Circuit

Function

A

WH

24

Backup Lamps Supply Voltage

B

BK/WH

750

Ground

Backup Lamp Switch (M/T)


Object Number: 635009  Size: CH

Connector Part Information

  • OEM: PED 12052641
  • Description: 2-Way F Metri-Pack 150 Series (BK)

Backup Lamp Switch (M/T)

Pin

Wire

Circuit

Function

1

PK

839

Ignition 1 Voltage

2

L-GN

24

Backup Lamp Supply Voltage

Battery Saver (ER1)


Object Number: 1467119  Size: CH

Connector Part Information

  • OEM: KET MG 651050
  • Description: 8-Way F

Battery Saver (ER1)

Pin

Wire

Circuit

Function

1

--

--

Not Used

2

WH

1080

Light Switch Signal

3

WH

1080

Illumination Relay Control

4

OG

1540

Ignition 1 Voltage

5

BK

1050

Ground

6

PU

128

Door Ajar Signal

7

L-GN

80

Key in Ignition Signal

8

--

--

Not Used

Blower Motor


Object Number: 1467007  Size: CH

Connector Part Information

  • OEM: KET MG 610043
  • Description: 2-Way F 250 Series (WH)

Blower Motor

Pin

Wire

Circuit

Function

1

3 YE

744

Automatic HVAC - Blower Motor Supply Voltage

3 PU

65

Manual HVAC - Blower Motor Feed

2

3 PU

743

Automatic HVAC - Blower Motor Speed Signal

3 BK

1050

Manual HVAC - Ground

Blower Motor Control Module (C68)


Object Number: 1468410  Size: CH

Connector Part Information

  • OEM: KET MG 610269
  • Description: 6-Way F 250 D/L Series

Blower Motor Control Module (C68)

Pin

Wire

Circuit

Function

1

1.25 D-BU

188

Blower Motor Resistor Assembly Supply Voltage

2

--

--

Not Used

3

3 BK

350

Ground

4

0.3 GY/BK

754

Blower Motor Speed Control

5

--

--

Not Used

6

3 PU

743

Blower Motor Speed Signal

Blower Motor Relay (C68)


Object Number: 1497842  Size: CH

Connector Part Information

  • OEM: AK 36409
  • Description: 4-Way F Relay

Blower Motor Relay (C68)

Pin

Wire

Circuit

Function

30

3 BK

350

Battery Positive Voltage

85

0.5 D-BU/BK

247

Ground

86

0.85 BN

41

Blower Motor High Control

87

3 PU

743

Blower Motor Feed

Blower Motor Relay (C60)


Object Number: 1497842  Size: CH

Connector Part Information

  • OEM: AK 36409
  • Description: 4-Way F Relay (GY)

Blower Motor Relay (C60)

Pin

Wire

Circuit

Function

30

RD

742

Battery Positive Voltage

85

BK

250

Ground

86

OG

52

Blower Motor High Control

87

PU

65

Blower Motor Feed

Blower Motor Resistor (C60)


Object Number: 1467011  Size: CH

Connector Part Information

  • OEM: KET MG 610047
  • Description: 4-Way F 250 Series (WH)

Blower Motor Resistor (C60)

Pin

Wire

Circuit

Function

1

L-BU

72

Medium 2 Blower Motor Control

2

PU

63

Blower Motor Medium 1 Control

3

PU

65

Blower Motor Feed

4

YE

60

Blower Motor Low Control

Blower Switch (C60)


Object Number: 1466990  Size: CH

Connector Part Information

  • OEM: AMP 178004-1
  • Description: 4-Way F 250 Series Dbl Lock Plug 4P (WH)

Blower Switch (C60)

Pin

Wire

Circuit

Function

B1

L-BU

72

Medium 2 Blower Motor Control

B2

PU

63

Blower Motor Medium 1 Control

B3

BN

41

Ignition 1 Voltage

B4

YE

60

Blower Motor Low Control

Boost Pressure Sensor (LMN)


Object Number: 1835112  Size: CH

Connector Part Information

  • OEM: TYCO 368162-1
  • Description: 4-Way F JPT Sealed

Boost Pressure Sensor (LMN)

Pin

Wire

Circuit

Function

1

YE/BU

--

Ground

2

L-GN

--

Intake Air Temperature Signal

3

WH/BK

--

5-Volt Reference

4

GY/BK

--

Boost Pressure Signal

Brake Fluid Level Switch


Object Number: 1467028  Size: CH

Connector Part Information

  • OEM: KET MG 610320
  • Description: 2-Way F SWP Series (BK)

Brake Fluid Level Switch

Pin

Wire

Circuit

Function

1

0.5 PU/WH

33

Brake Warning Indicator Control

2

0.5 BK

1150

Ground

Camshaft Position (CMP) Sensor (L95, LXT)


Object Number: 1467004  Size: CH

Connector Part Information

  • OEM: AMP 85205-1
  • Description: 3-Way F JR Power Timer 3P Hsg Ass'y (BK)

Camshaft Position (CMP) Sensor (L95, LXT)

Pin

Wire

Circuit

Function

1

0.5 PK/BK

1846

Ignition 1 Voltage

2

0.5 L-GN

632

Low Reference

3

0.5 BN/WH

633

Camshaft Position (CMP) Sensor Signal

Camshaft Position (CMP) Sensor (L79)


Object Number: 1467076  Size: CH

Connector Part Information

  • OEM: KET AMP 85205-1
  • Description: 3-Way F ITC (Injector Connector) Series

Camshaft Position (CMP) Sensor (L79)

Pin

Wire

Circuit

Function

1

2 PK/BK

1846

Ignition 1 Voltage

2

0.5 BK/WH

252

Ground

3

0.5 BN/WH

633

Camshaft Position (CMP) Sensor Signal

Camshaft Position (CMP) Sensor (LDA)


Object Number: 1467076  Size: CH

Connector Part Information

  • OEM: KET MG 640541
  • Description: 3-Way F ITC (Injector Connector) Series

Camshaft Position (CMP) Sensor (LDA)

Pin

Wire

Circuit

Function

1

0.5 PK/BK

1846

Ignition 1 Voltage

2

0.5 BK/WH

251

Ground

3

0.5 PU (BN/WH)

633

Camshaft Position (CMP) Sensor Signal

Camshaft Position (CMP) Sensor (w/Throttle Actuator Control) (L34)


Object Number: 1467076  Size: CH

Connector Part Information

  • OEM: AMP 85205-1
  • Description: 3-Way F ITC (Injector Connector) Series (BK)

Camshaft Position (CMP) Sensor (w/Throttle Actuator Control) (L34)

Pin

Wire

Circuit

Function

1

0.5 PK/BK

1846

Ignition 1 Voltage

2

0.5 BK/WH

251

Ground

3

0.5 PU

633

Camshaft Position (CMP) Sensor Signal

Camshaft Position (CMP) Sensor (w/o Throttle Actuator Control) (L34)


Object Number: 1467076  Size: CH

Connector Part Information

  • OEM: KET MG 640541
  • Description: 3-Way F ITC (Injector Connector) Series

Camshaft Position (CMP) Sensor (w/o Throttle Actuator Control) (L34)

Pin

Wire

Circuit

Function

1

0.5 PK/BK

1846

Ignition 1 Voltage

2

0.5 BK/WH

251

Ground

3

0.5 PU (BN/WH)

633

Camshaft Position (CMP) Sensor Signal

Camshaft Position (CMP) Sensor (LMN)


Object Number: 1467004  Size: CH

Connector Part Information

  • OEM: TYCO 85205-1
  • Description: 3-Way F JPT Sealed

Camshaft Position (CMP) Sensor (LMN)

Pin

Wire

Circuit

Function

1

L-GN/BK

--

Signal

2

BU/WH

--

Ground

3

PK/WH

--

Battery Positve Voltage

Center High Mounted Stop Lamp (CHMSL) Hatchback


Object Number: 1467036  Size: CH

Connector Part Information

  • OEM: KET MG 610392
  • Description: 2-Way F SDL Series (WH)

Center High Mounted Stop Lamp (CHMSL) Hatchback

Pin

Wire

Circuit

Function

1

BK

750

Ground

2

L-BU

20

Stop Lamp Switch Signal

Center High Mounted Stop Lamp (CHMSL) Notchback


Object Number: 1467036  Size: CH

Connector Part Information

  • OEM: KET MG 630679
  • Description: 2-Way F SDL Series (WH)

Center High Mounted Stop Lamp (CHMSL) Notchback

Pin

Wire

Circuit

Function

1

L-BU

20

Stop Lamp Switch Signal

2

BK

1250

Ground

Cigar Lighter/Ashtray Lamp


Object Number: 1467059  Size: CH

Connector Part Information

  • OEM: KET MG 620046
  • Description: 4-Way M 250 Series (WH)

Cigar Lighter/Ashtray Lamp

Pin

Wire

Circuit

Function

1

D-GN

44

Instrument Panel Lamps Dimmer Switch Signal

2

BN/WH

309

Right Park Lamp Supply Voltage

3

YE

143

Accessory Voltage

4

BK

1050

Ground

Clock


Object Number: 1468511  Size: CH

Connector Part Information

  • OEM: MOLEX 5557-06R
  • Description: 6-Way F Mini Fit Conn. Rec. Housing (WH)

Clock

Pin

Wire

Circuit

Function

1

0.5 D-GN/WH

1358

Passenger Presence Indicator

2

0.3 OG

1140

Battery Positive Voltage

3

0.3 BK

1050

Ground

4

0.5 PK

939

Ignition 1 Voltage

5

0.3 YE

43

Accessory Voltage

6

0.3 BN/WH

309

Right Park Lamp Supply Voltage

Clutch Start Switch


Object Number: 1466989  Size: CH

Connector Part Information

  • OEM: PED 12010649
  • Description: 2-Way F 56 Series (WH)

Clutch Start Switch

Pin

Wire

Circuit

Function

1

YE

5

Crank Voltage

2

GY

48

Clutch Start Switch Signal

Clutch Switch (M/T)


Object Number: 1468385  Size: CH

Connector Part Information

  • OEM: PED 02977373
  • Description: 2-Way F 56 Series, Unsealed (GY)

Clutch Switch (M/T)

Pin

Wire

Circuit

Function

1

0.5 BK

250

Ignition 1 Voltage

2

0.5 BN/WH

379

Cruise Control Clutch Pedal Switch Output

Coolant Temperature Sensor (C68)


Object Number: 1467020  Size: CH

Connector Part Information

  • OEM: KET MG 610070
  • Description: 2-Way F 090 (2.3 mm) Series

Coolant Temperature Sensor (C68)

Pin

Wire

Circuit

Function

1

0.5 YE

61

Low Reference

2

0.5 GY/BK

1596

Coolant Temperature Sensor Signal

Cooling Fan - Auxiliary


Object Number: 1500905  Size: CH

Connector Part Information

  • OEM: KUM PB 045-02027
  • Description: 2-Way F WWP02F-B Assembly (BK)

Cooling Fan - Auxiliary

Pin

Wire

Circuit

Function

1

2 BK

150

Ground

2

2 PU

532

Cooling Fan Motor Supply Voltage

Cooling Fan - Main


Object Number: 1466989  Size: CH

Connector Part Information

  • OEM: AMP 176146-2
  • Description: 2-Way F 187 Series Sealed Connector 2 Pos Plug Hsg Assembly (BK)

Cooling Fan - Main

Pin

Wire

Circuit

Function

1

2 L-BU

504

Cooling Fan Low Reference (North America)

2 BK

50

Ground

2

2 L-BU

409

Cooling Fan Motor Supply Voltage (North America)

2 PU

532

Cooling Fan Motor Supply Voltage

Cooling Fan Control Relay


Object Number: 535919  Size: CH

Connector Part Information

  • OEM: PED 12110539
  • Description: 9-Way F Metri-Pack 280 Series Sealed (BK)

Cooling Fan Control Relay

Pin

Wire

Circuit

Function

30

2 L-BU

504

Cooling Fan Low Reference

85

0.5 PK/BK

1846

Ignition 1 Voltage

86

0.5 GY

473

High Speed Cooling Fan Relay Control

87

2 BK

50

Ground

87A

2 PU

532

Cooling Fan Motor Supply Voltage

Cooling Fan Resistor


Object Number: 1500905  Size: CH

Connector Part Information

  • OEM: AMP 176143-2
  • Description: 2-Way F WWP02F-B Assembly (BK)

Cooling Fan Resistor

Pin

Wire

Circuit

Function

1

2 L-BU

409

Cooling Fan Motor Supply Voltage

2

2 PU

532

Cooling Fan Motor Supply Voltage

Crankshaft Position Sensor (CKP) Sensor (L95, LXT)


Object Number: 1467004  Size: CH

Connector Part Information

  • OEM: AMP 85205-1
  • Description: 3-Way F JR Power Timer 3P Hsg Ass'y (BK)

Crankshaft Position Sensor (CKP) Sensor (L95, LXT)

Pin

Wire

Circuit

Function

1

0.5 YE/BK

1868

Low Reference

2

0.5 D-BU/WH

1869

Crankshaft Position (CKP) Sensor Signal

3

0.5 BK/WH

51

Ground

Crankshaft Position (CKP) Sensor (L79)


Object Number: 1467004  Size: CH

Connector Part Information

  • OEM: AMP 85205-1
  • Description: 3-Way JR Power Timer 3P Hsg Ass'y (BK)

Crankshaft Position (CKP) Sensor (L79)

Pin

Wire

Circuit

Function

1

0.5 D-BU/WH

1869

Crankshaft Position (CKP) Sensor Signal

2

0.5 YE/BK

1868

Low Reference

3

0.5 BK/WH

51

Ground

Crankshaft Position (CKP) Sensor (LDA)


Object Number: 1467004  Size: CH

Connector Part Information

  • OEM: AMP 85205-1
  • Description: 3-Way JR Power Timer 3P Hsg Ass'y (BK

Crankshaft Position (CKP) Sensor (LDA)

Pin

Wire

Circuit

Function

1

0.5 D-BU/WH

1869

Crankshaft Position (CKP) Sensor Signal

2

0.5 YE/BK

1868

Low Reference

3

0.5 BK/WH

51

Ground

Crankshaft Position (CKP) Sensor (w/Throttle Actuator Control) (L34)


Object Number: 1467004  Size: CH

Connector Part Information

  • OEM: AMP 85205-1
  • Description: 3-Way JR Power Timer 3P Hsg Assembly (BK)

Crankshaft Position (CKP) Sensor (w/Throttle Actuator Control) (L34)

Pin

Wire

Circuit

Function

1

0.5 D-BU/WH

1869

Crankshaft Position (CKP) Sensor Signal

2

0.5 YE/BK

1868

Low Reference

3

0.5 BK/WH

51

Ground

Crankshaft Position (CKP) Sensor (w/o Throttle Actuator Control) (L34)


Object Number: 1467004  Size: CH

Connector Part Information

  • OEM: AMP 85205-1
  • Description: 3-Way JR Power Timer 3P Hsg Ass'y (BK)

Crankshaft Position (CKP) Sensor (w/o Throttle Actuator Control) (L34)

Pin

Wire

Circuit

Function

1

0.5 D-BU/WH

1869

Crankshaft Position (CKP) Sensor Signal

2

0.5 YE/BK

1868

Low Reference

3

0.5 BK/WH

51

Ground

Crankshaft Position (CKP) Sensor (LMN)


Object Number: 1467004  Size: CH

Connector Part Information

  • OEM: TYCO 85205-1
  • Description: 3-Way F JPT Sealed

Crankshaft Position (CKP) Sensor (LMN)

Pin

Wire

Circuit

Function

1

BN/WH

--

Signal

2

GY

--

Low Reference

3

YE/BK

--

Ground

Cruise Control Module


Object Number: 570216  Size: CH

Connector Part Information

  • OEM: PED 12065425
  • Description: 10-Way F Metri-Pack 150 Series, Sealed (BK)

Cruise Control Module

Pin

Wire

Circuit

Function

A

0.5 D-GN/WH

817

Vehicle Speed Sensor (VSS) Signal

B

0.5 GY

397

Cruise Control Switch Signal

C

0.5 L-BU

20

Stop Lamp Switch Signal

D

0.3 GY/BK

87

Cruise Control Release Signal

E

0.5 BK

250

Ground

F

0.5 BN/WH

379

Cruise Control Clutch Pedal Switch Signal

0.5 OG/BK

434

Automatic Transmission Park/Neutral Position (PNP) Signal

G

0.5 D-BU

84

Cruise Control SET/COAST Switch Signal

H

0.5 PK

739

Ignition 1 Voltage

J

0.3 GY

121

Engine Speed Signal

K

0.5 WH

85

Cruise Control Engage Signal

Data Link Connector (DLC)


Object Number: 68793  Size: CH

Connector Part Information

  • OEM: 12110250
  • Description: 16-Way F Metri-Pack 150 Series (BK)

Data Link Connector (DLC)

Pin

Wire

Circuit

Function

1-2

--

--

Not Used

3

D-BU

555

Serial Data

4

BK

250

Ground

5

BK

250

Ground

6

--

--

Not Used (Gasoline)

PU

--

CAN High (Diesel)

7

PU

2000

Serial Data

8

L-GN

483

Serial Data

9-11

--

--

Not Used

12

D-BU/WH

774

Serial Data

13

L-BU

327

Serial Data

14

--

--

Not Used (Gasoline)

YE

--

CAN Low (Diesel)

15

--

--

Not Used

16

OG

1840

Battery Positive Voltage

Daytime Running Lamp (DRL) Module (T61-Except North America)


Object Number: 1500892  Size: CH

Connector Part Information

  • OEM: F8-4
  • Description: 8-Way M Connector (BK)

Daytime Running Lamp (DRL) Module (T61-Except North America)

Pin

Wire

Circuit

Function

1

OG

140

Battery Voltage

2

BN/WH

309

Park Lamp Signal

3

D-BU

2641

Daytime Running Lamp (DRL) Relay Control

4

PU

12

Headlamp Low Beam Supply Voltage

5

BK

1050

Ground

6

PK

239

Ignition Voltage

7

BN/WH

309

Park Lamp Signal

8

PU/WH

231

Oil Pressure Signal

Daytime Running Lamp (DRL) Module (T61-North America)


Object Number: 1481283  Size: CH

Connector Part Information

  • OEM: PED 12064998
  • Description: 8-Way F Connector (BK)

Daytime Running Lamp (DRL) Module (T61-North America)

Pin

Wire

Circuit

Function

A

OG

140

Battery Voltage

B

L-GN

11

Headlamp High Beam Supply Voltage

C

PU

12

Headlamp Low Beam Supply Voltage

D

PU/WH

33

Brake Warning Indicator Control

E

BK

1050

Ground

F

BN

141

Ignition 3 Voltage

G

WH

629

Daytime Running Lamp (DRL) Indicator Control

H

--

--

Not Used

Daytime Running Lamp (DRL) Relay (T61-Except North America)


Object Number: 1497842  Size: CH

Connector Part Information

  • OEM: AK 83803
  • Description: 9-Way F Relay (BK)

Daytime Running Lamp (DRL) Relay (T61-Except North America)

Pin

Wire

Circuit

Function

30

BN/WH

309

Right Park Lamp Supply Voltage

85

BK

250

Ground

86

L-GN

11

Headlamp High Beam Supply Voltage

87

PU

12

Headlamp Low Beam Supply Voltage

Daytime Running Lamp (DRL) Relay 1 (T61-Except North America)


Object Number: 1497842  Size: CH

Connector Part Information

  • OEM: AK 838033
  • Description: 9-Way F Relay

Daytime Running Lamp (DRL) Relay 1 (T61-Except North America)

Pin

Wire

Circuit

Function

30

D-BU

2641

Daytime Running Lamp (DRL) Relay Control

85

OG

140

Battery Positive Voltage

86

WH

1080

Park Lamp Relay Control

87

OG

140

Battery Positive Voltage

Daytime Running Lamp (DRL) Relay 2 (T61-Except North America)


Object Number: 1497842  Size: CH

Connector Part Information

  • OEM: AK 36409
  • Description: 9-Way F Relay

Daytime Running Lamp (DRL) Relay 2 (T61-Except North America)

Pin

Wire

Circuit

Function

30

L-BU/BK

2346

Flash to Pass Signal

85

BN

141

Battery Positive Voltage

86

GY/BK

1798

Headlamp Relay Control

87

L-BU

1346

Headlamp Relay Supply Voltage/Headlamp Control

Diesel Particulate Filter Pressure Sensor (LMN)


Object Number: 1830930  Size: CH

Connector Part Information

  • OEM: FEP 1J0973703
  • Description: 3-Way F Sealed

Diesel Particulate Filter Pressure Sensor (LMN)

Pin

Wire

Circuit

Function

1

PU/WH

--

5-Volt Reference

2

L-BU

--

Low Reference

3

YE/BK

--

Signal

Dome Lamp (TC0)


Object Number: 1467042  Size: CH

Connector Part Information

  • OEM: KET MG 610398
  • Description: 6-Way F SDL Series (WH)

Dome Lamp (TC0)

Pin

Wire

Circuit

Function

1

OG

640

Battery Positive Voltage

2

--

--

Not Used

3

PK

839

Ignition 1 Voltage

4

BK

850

Ground

5

PU

156

Courtesy Lamp Control

6

D-GN/WH

900

Key Cylinder Lamp Control

Dome Lamp (w/o TC0)


Object Number: 1467039  Size: CH

Connector Part Information

  • OEM: KET MG 610396
  • Description: 4-Way F SDL Series (WH)

Dome Lamp (w/o TC0)

Pin

Wire

Circuit

Function

1

--

--

Not Used

2

BK

850

Ground

3

PU

156

Courtesy Lamp Control

4

OG

640

Battery Positive Voltage

Door Ajar Switch - Left Front


Object Number: 365953  Size: CH

Connector Part Information

  • OEM: KET MG 630063
  • Description: 2-Way 250 Series (BK)

Door Ajar Switch - Left Front

Pin

Wire

Circuit

Function

A

PU

156

Courtesy Lamp Control

Door Ajar Switch - Left Rear


Object Number: 365953  Size: CH

Connector Part Information

  • OEM: KET MG 630063
  • Description: 2-Way 250 Series (BK)

Door Ajar Switch - Left Rear

Pin

Wire

Circuit

Function

A

PU

156

Courtesy Lamp Control

Door Ajar Switch - Right Front


Object Number: 365953  Size: CH

Connector Part Information

  • OEM: KET MG 630063
  • Description: 2-Way 250 Series (BK)

Door Ajar Switch - Right Front

Pin

Wire

Circuit

Function

A

PU

156

Courtesy Lamp Control

Door Ajar Switch - Right Rear


Object Number: 365953  Size: CH

Connector Part Information

  • OEM: KET MG 630063
  • Description: 2-Way 250 Series (BK)

Door Ajar Switch - Right Rear

Pin

Wire

Circuit

Function

A

PU

156

Courtesy Lamp Control

Door Lock Actuator - Driver


Object Number: 68721  Size: CH

Connector Part Information

  • OEM: PED 15300027
  • Description: 2-Way F Metri-Pack 280 Series, Sealed (BK)

Door Lock Actuator - Driver

Pin

Wire

Circuit

Function

A

PU/WH

294

Door Lock Actuator Unlock Control

B

GY

295

Door Lock Actuator Lock Control

Door Lock Actuator - Front Passenger


Object Number: 68721  Size: CH

Connector Part Information

  • OEM: PED 15300027
  • Description: 2-Way F Metri-Pack 280 Series, Sealed (BK)

Door Lock Actuator - Front Passenger

Pin

Wire

Circuit

Function

A

PU/WH

294

Door Lock Actuator Unlock Control

B

GY

295

Door Lock Actuator Lock Control

Door Lock Actuator - Left Rear


Object Number: 68721  Size: CH

Connector Part Information

  • OEM: PED 15300027
  • Description: 2-Way F Metri-Pack 280 Series, Sealed (BK)

Door Lock Actuator - Left Rear

Pin

Wire

Circuit

Function

A

PU

294

Door Lock Actuator Unlock Control

B

GY

295

Door Lock Actuator Lock Control

Door Lock Actuator - Right Rear


Object Number: 68721  Size: CH

Connector Part Information

  • OEM: PED 15300027
  • Description: 2-Way F Metri-Pack 280 Series, Sealed (BK)

Door Lock Actuator - Right Rear

Pin

Wire

Circuit

Function

A

PU

294

Door Lock Actuator Unlock Control

B

WH

295

Door Lock Actuator Lock Control

Door Lock Relay


Object Number: 1467054  Size: CH

Connector Part Information

  • OEM: KET MG 610896
  • Description: 8-Way F PCB Connector SDL-II PCB Hsg (WH)

Door Lock Relay

Pin

Wire

Circuit

Function

1

L-GN/WH

355

Driver Door Lock Relay Lock Control

2

GY

295

Door Lock Actuator Lock Control

3

PU

294

Door Lock Actuator Unlock Control

4

WH

194

Door Unlock Control

5

OG/BK

1340

Battery Positive Voltage

6

L-BU/BK

195

Door Lock Control

7

YE

356

Driver Door Lock Relay Unlock Control

8

BK

350

Ground

Door Lock Switch (Optional)


Object Number: 1467038  Size: CH

Connector Part Information

  • OEM: KET MG 610394
  • Description: 3-Way F SDL Series (WH)

Door Lock Switch (Optional)

Pin

Wire

Circuit

Function

1

L-GN/WH

355

Driver Door Lock Relay Lock Control

2

BK

1150

Ground

3

WH

356

Driver Door Lock Relay Unlock Control

Door Tamper Switch - Driver


Object Number: 1481291  Size: CH

Connector Part Information

  • OEM: AK 32421
  • Description: 4-Way F Connector (GY)

Door Tamper Switch - Driver

Pin

Wire

Circuit

Function

A

L-BU/BK

195

Door Lock Control

B

BK

1150

Ground

C

WH

194

Door Unlock Control

D

L-GN

1370

Driver Door Lock Cylinder Signal

Door Tamper Switch - Passenger


Object Number: 1481291  Size: CH

Connector Part Information

  • OEM: AK 32421
  • Description: 4-Way F Connector (GY)

Door Tamper Switch - Passenger

Pin

Wire

Circuit

Function

A

PU

1371

Passenger Door Lock Cylinder Signal

B

--

--

Not Used

C

BK

350

Ground

D

--

--

Not Used

Electronic Brake Control Module (EBCM) w/TCS


Object Number: 1883722  Size: CH

Connector Part Information

  • OEM: AMP 1376600-1
  • Description: 47-Way M

Electronic Brake Control Module (EBCM) w/TCS

Pin

Wire

Circuit

Function

1

4 RD

42

B+

2

0.5 D-BU

774

Serial Data

3

--

--

Not Used

4

0.5 BN

739

Ignition 1 Voltage

5-9

--

--

Not Used

10

0.5 WH/YE

866

Rough Road Signal

11-12

--

--

Not Used

13

0.5 PU/WH

33

Brake Oil Pressure Switch

14

0.5 L-BU

876

Rough Road Signal

15

--

--

Not Used

16

3 BK/WH

2051

Ground

17-31

--

--

Not Used

32

4 RD

42

B+

33

0.5 WH

833

Right Front Wheel Speed Sensor Signal

34

0.5 GY

872

Right Front Wheel Speed Sensor Return

35

0.5 D-GN

905

TCS Warning Lamp Indicator Control

36

0.5 BK

884

Left Rear Wheel Speed Sensor Return

37

0.5 RD

885

Left Rear Wheel Speed Sensor Signal

38-40

--

--

Not Used

41

0.5 L-BU

20

Stop Lamp Switch Signal

42

0.5 WH

883

Right Rear Wheel Speed Sensor Return

43

0.5 BN

882

Right Rear Wheel Speed Sensor Signal

44

0.5 L-GN/BK

867

ABS Warning Lamp

45

0.5 L-BU

830

Left Front Wheel Speed Sensor Return

46

0.5 BN

873

Left Front Wheel Speed Sensor Signal

47

4 BK

2050

Ground

Electronic Brake Control Module (EBCM) w/o TCS


Object Number: 1883720  Size: CH

Connector Part Information

  • OEM: AMP 1612683-1
  • Description: 26-Way F

Electronic Brake Control Module (EBCM) w/o TCS

Pin

Wire

Circuit

Function

1

4 RD

42

B+

2

0.5 BK

884

Left Rear Wheel Speed Sensor Return

3

0.5 RD

885

Left Rear Wheel Speed Sensor Signal

4

0.5 L-GN/BK

867

ABS Warning Lamp

5

0.5 WH

833

Right Front Wheel Speed Sensor Signal

6

0.5 GY

872

Right Front Wheel Speed Sensor Return

7

--

--

Not Used

8

0.5 L-BU

830

Left Front Wheel Speed Sensor Return

9

0.5 BN

873

Left Front Wheel Speed Sensor Signal

10

0.5 PU/WK

33

Brake Oil Pressure Switch

11

0.5 WH

883

Right Rear Wheel Speed Sensor Return

12

0.5 BN

882

Right Rear Wheel Speed Sensor Signal

13

3 BK/WH

2051

Ground

14

4 RD

42

B+

15

--

--

Not Used

16

0.5 L-BU

20

Stop Lamp Switch Signal

17

0.5 WH/YE

866

Rough Road Signal

18

0.5 D-BU

774

Serial Data

19

0.5 L-GN

876

Rough Road Signal

20

0.5 BN

739

Ignition 1 Voltage

21-25

--

--

Not Used

26

4 BK

2050

Ground

Engine Control Module (ECM) X1 (LMN)


Object Number: 1725344  Size: CH

Connector Part Information

  • OEM: AMP 2-1355123-3
  • Service: N/A
  • Description: 60-Way F 60POS Receptacle Hsg Assembly (BK)

Engine Control Module (ECM) X1 (LMN)

Pin

Wire

Circuit

Function

1

L-BU

--

Fuel Injector 3 Control (w/ Immobilizer)

YE/BK

--

Fuel Injector 1 Control (w/o Immobilizer)

2

L-GN/BK

--

Fuel Injector 2 Control (w/ Immobilizer)

GN

--

Fuel Injector 4 Control (w/ Immobilizer)

3

--

--

Not Used

4

BN/WH

--

Fuel Rail Pressure Regulator Supply Voltage

5

--

--

Not Used

6

PU

--

Cruise Switch Ground

7

WH/BK

--

CKP Shield Ground

8

GN/WH

--

Fuel Rail Pressure Sensor Low Reference

9-11

--

--

Not Used

12

GY

--

CKP Low Reference

13

WH/BK

--

Boost Pressure Sensor 5 Volt Reference

14-15

--

--

Not Used

16

YE/BK

--

Fuel Injector 1 Control (w/ Immobilizer)

L-BU

--

Fuel Injector 3 Control (w/ Immobilizer)

17

GN

--

Fuel Injector 4 Control (w/ Immobilizer)

L-GN/BK

--

Fuel Injector 2 Control (w/o Immobilizer)

18

--

--

Not Used

19

PU/WH

--

Fuel Injection Pump Supply Voltage

20

BU/WH

--

CMP Low Reference

21-22

--

--

Not Used

23

YE/BU

--

Boost Pressure Sensor Low Reference

24-26

--

--

Not Used

27

BN/WH

--

CKP Signal

28

L-BU

--

Fuel Rail Pressure Sensor 5-Volt Reference

29-30

--

--

Not Used

31

PU

--

Fuel Injector 2 Low Reference (w/ Immobilizer)

WH/BK

--

Fuel Injector 4 Low Reference (w/o Immobilizer)

32

--

--

Not Used

33

WH/BK

--

Fuel Injector 4 Low Reference (w/ Immobilizer)

PU

--

Fuel Injector 2 Low Reference (w/o Immobilizer)

34

L-BU/BK

--

Fuel Rail Pressure Regulator Control

35-36

--

--

Not Used

37

BU/WH

--

IAT Signal

38-39

--

--

Not Used

40

GY/BK

--

Boost Pressure Sensor Signal

41

--

--

Not Used

42

PU/WH

--

MAF Signal

43

GY/BK

--

Fuel Rail Pressure Sensor Signal

44

YE/BK

--

IAT, MAF Low Reference

45

WH

--

Cruise Indicator Control

46

BN/WH

--

Fuel Injector 3 Low Reference (w/ Immobilizer)

WH

--

Fuel Injector 1 Low Reference (w/o Immobilizer)

47

WH

--

Fuel Injector 1 Low Reference (w/ Immobilizer)

BN/WH

--

Fuel Injector 3 Low Reference (w/o Immobilizer)

48

--

--

Not Used

49

GN

--

Fuel Injection Pump Control

50

L-GN/BK

--

CMP Signal

51

--

--

Not Used

52

GN

--

Throttle Plate Actuator Feedback Signal

53

L-GN

--

IAT Signal

54-55

--

--

Not Used

56

GN/WH

--

Cruise Switch Signal

57-58

--

--

Not Used

59

WH

--

Throttle Plate Actuator Control

60

GN/WH

--

EGR Control

Engine Control Module (ECM) X2 (LMN)


Object Number: 1725343  Size: CH

Connector Part Information

  • OEM: AMP 3-1355136-3
  • Service: N/A
  • Description: 94-Way F 94POS Receptacle Hsg Assembly (BK)

Engine Control Module (ECM) X2 (LMN)

Pin

Wire

Circuit

Function

1

PK

--

Battery Positive Voltage

2

BK

--

Ground

3

PK

--

Battery Positive Voltage

4

BK

--

Ground

5

PK

--

Battery Positive Voltage

6

BK

--

Ground

7

--

--

Not Used

8

BN/WH

--

APP Sensor Low Reference (2)

9

GN

--

APP Sensor Signal (1)

10

YE/BK

--

Fuel Temperature Sensor Low Reference

11

L-GN/BK

--

Fuel Temperature Signal

12

BK/WH

--

A/C Refrigerant Pressure Sensor Low Reference

13

BN/BK

--

A/C Refrigerant Pressure Sensor Signal

14-16

--

--

Not Used

17

YE

--

Stop Lamp Switch Signal

18

GY/BK

--

ECT Low Reference

19

BN

--

Generator Voltage Signal

20

GN/WH

--

Fuel Pump Relay Control

21

L-BU/WH

--

Change Oil Soon Indicator Control

22

BN/WH

--

A/C Refrigerant Pressure Sensor 5-Volt Reference

23-25

--

--

Not Used

26

L-GN/BK

--

ECT Gauge Signal

27

--

--

Not Used

28

PK/BK

--

Ignition 1 Voltage

29

PU/WH

--

A/C Compressor Relay Control

30

L-BU

--

APP Sensor Low Reference (1)

31

YE

--

APP Sensor Signal (2)

32

L-BU/BK

--

Exhaust Gas Temperature Sensor Signal 2

33

YE/WH

--

Exhaust Gas Temperature Sensor 2 Low Reference

34

PU/WH

--

Exhaust Gas Temperature Sensor Signal 1

35

BU/WH

--

Exhaust Gas Temperature Sensor 1 Low Reference

36

--

--

Not Used

37

L-BU

--

Diesel Particulate Filter Pressure Sensor Low Reference

38-43

--

--

Not Used

44

PU/WH

--

Diesel Particulate Filter Pressure Sensor 5-Volt Reference

45

GY/BK

--

APP Sensor 5-Volt Reference (1)

46

WH

--

APP Sensor 5-Volt Reference (2)

47

BN

--

Serial Data

48

BU/WH

--

Engine Speed Signal

49

BN

--

Charge Indicator Control

50-51

--

--

Not Used

52

WH

--

Glow Plug Diagnosis

53

--

--

Not Used

54

BN

--

Brake Pedal Switch Signal

55-56

--

--

Not Used

57

GN/WH

--

PTC Request Signal

58-63

--

--

Not Used

64

YE/BK

--

Diesel Particulate Filter Pressure Sensor Signal

65

--

--

Not Used

66

BN

--

ECT Sensor Signal

67

GY/BK

--

ECT Indicator Control

68

BU

--

Fuel Heater Relay Control

69

GN

--

Cooling Fan Low Speed Relay Control

70

YE/BK

--

Diesel Particulate Filter Indicator Control

71

PU/WH

--

MIL Control

72

GY/BK

--

Engine Main Relay Coil Control

73

GN/BK

--

Wastegate Solenoid Control

74

PK/BK

--

Vehicle Speed Signal (VSS) (M/T)

75

BU/WH

--

Generator Field Duty Cycle Signal

76-78

--

--

Not Used

79

GN/WH

--

A/C Request Signal

80

GN/WH

--

Cruise Control Clutch Switch Signal

81-82

--

--

Not Used

83

L-GN

--

CAN Low

84

L-BU

--

CAN High

85-88

--

--

Not Used

89

PU

--

Fuel Warning Signal

90

BU

--

Cooling Fan High Speed Relay Control

91

L-GN/WH

--

PTC Relay 2,3 Control

92

L-BU

--

Glow Plug Indicator Control

93

WH/RD

--

Glow Plug Control

94

YE

--

PTC Relay 1 Control

Engine Control Module (ECM) (L95, LXT)


Object Number: 1500001  Size: CF

Connector Part Information

  • OEM: 211PC902S0008
  • Description: 90-Way F Connector (BK)

Engine Control Module (ECM) (L95, LXT)

Pin

Wire

Circuit

Function

1-2

--

--

Not Used

3

1.25 BK/WH

251

Ground

4

--

--

Ground

5

0.5 GY

435

Exhaust Gas Recirculation (EGR) Solenoid Low Control

6

0.5 D-GN/WH

465

Fuel Pump Relay Control

7

0.5 D-BU/WH

471

Main Relay Control

8

0.5 D-GN

135

Engine Coolant Temperature (ECT) Gage Signal

9

0.5 D-BU

473

High Speed - Cooling Fan Relay Control

10

0.5 D-GN

335

Low Speed - Cooling Fan Relay Control

11

0.5 BK/WH

51

Shield Ground

12

0.5 D-BU/WH

1876

Low Reference

13

0.5 OG/BK

469

Heated Oxygen Sensor (HO2S) 1 Heater Control

14

0.5 PU

1670

Heated Oxygen Sensor (HO2S) 2 Low Reference

15

--

--

Not Used

16

0.5 BN

413

Heated Oxygen Sensor (HO2S) 2 Heater Control

17

0.5 L-GN

632

Low Reference

18

--

--

Not Used

19

0.5 BK/YE

808

Low Reference

20

0.5 L-BU

203

A/C Refrigerant Pressure Sensor Signal

21

0.5 D-BU

1936

Fuel Level Sensor Signal

22

0.5 BN/WH

633

Camshaft Position (CMP) Sensor Signal

23

--

--

Not Used

24

1.25 BK/WH

251

Ground

25

0.5 BK/WH

51

Shield Ground

26

--

--

Not Used

27

0.5 L-BU

772

Octane Switch Signal (Non-OBD)

1.25 BK/WH

251

Ground (Euro Emissions)

28

1.25 BK/WH

251

Ground

29

0.85 PK

539

Ignition 1 Voltage

30

0.5 OG

440

Battery Positive Voltage

31

0.85 WH

423

Ignition Coil (IC) Timing Control (2 and 3)

32

0.85 OG

406

Ignition Coil (IC) Timing Control (1 and 4)

33

1.25 BK/WH

251

Ground

34

--

--

Not Used

35

0.5 BN/WH

1666

Heated Oxygen Sensor (HO2S) 1 Signal

36

--

--

Not Used

37

0.5 WH/BK

962

Intake Manifold Tuning Valve Solenoid Control

38

--

--

Not Used

39

0.5 BN/WH

419

Multifunction Indicator Lamp (MIL) Control

40

0.5 PU

30

Fuel Level Sensor Signal

41

0.5 PU

67

A/C Compressor Clutch Coil Supply Voltage

42

0.5 YE/BK

496

Knock Sensor (KS) Signal

43

0.5 D-GN

534

High Idle Switch Signal

44

0.5 PU/WH

1665

Heated Oxygen Sensor (HO2S) 1 Low Reference (OBD)

O2 Sensor Signal (Non OBD)

45

0.5 BN

1456

Exhaust Gas Recirculation (EGR) Valve Position Signal

46

0.5 GY

605

Low Reference

47-49

--

--

Not Used

50

0.5 L-BU/BK

1688

5-Volt Reference

51

0.5 D-GN/WH

817

Vehicle Speed Signal (Manual Transmission)

52

0.5 D-GN/WH

762

A/C Request Signal

53

0.5 WH

873

Rough Road Sensor Signal

0.5 D-BU

876

Rough Road Sensor Signal w/ABS

54

0.5 YE/BK

1868

Low Reference

55

0.5 PK

427

Idle Speed Control Motor Switch Signal

56

0.5 PU

2000

Keyword Serial Data

57

0.5 YE

710

CAN Serial Data Low (Automatic Transmission)

58

--

--

Not Used

59

0.5 BK

1744

Fuel Injector 1 Control

60

0.5 PK/BK

1746

Fuel Injector 3 Control

61

0.5 D-BU

426

Idle Motor Return

62

0.5 L-BU

425

Idle Motor Feed

63

--

--

Not Used

64

0.5 BN/WH

1671

Heated Oxygen Sensor (HO2S) 2 Signal

65

0.5 D-GN/WH

428

EVAP Canister Purge Solenoid Control

66

0.5 PK/BK

1846

Ignition 1 Voltage

67

1.25 BK/WH

251

Ground

68

0.5 WH

121

Engine Speed Signal

69

0.5 GY

435

Exhaust Gas Recirculation (EGR) Solenoid Low Control (Non OBD)

70-73

--

--

Not Used

74

0.5 D-BU

417

Throttle Position (TP) Sensor Signal

75

0.5 L-GN

432

Manifold Absolute Pressure (MAP) Sensor Signal

76

0.5 YE

410

Engine Coolant Temperature (ECT) Sensor Signal

77

--

--

Not Used

78

0.5 BN

472

Intake Air Temperature (IAT) Sensor Signal

79

0.5 GY

416

5-Volt Reference

80

--

--

Not Used

81

0.5 PU

773

Octane Switch Signal

0.5 BK/WH

251

Ground

82

--

--

Not Used

83

0.5 BN

990

Power Steering Pressure Switch Signal

84

0.5 OG

830

5-Volt Reference

85

0.5 D-BU/WH

1869

Crankshaft Position Sensor Signal

86-87

--

--

Not Used

88

0.5 PU

1807

CAN Serial Data High

89

0.5 L-BU/BK

844

Fuel Injector 4 Control

90

0.5 L-GN/BK

1745

Fuel Injector 2 Control

Engine Control Module (ECM) X1 (HV-240) (L79)


Object Number: 1481265  Size: CF

Connector Part Information

  • OEM: PED 12129231
  • Description: 32-Way Retainer Lock (GY)

Engine Control Module (ECM) X1 (HV-240) (L79)

Pin

Wire

Circuit

Function

1

0.5 BK/WH

51

Ground

2

0.5 BK/WH

51

Ground

3

0.5 YE/BK

496

Knock Sensor Signal

4

D-GN

411

Exhaust Gas Recirculation (EGR) Valve Control

5

--

--

Not Used

6

0.5 YE/BK

1868

Low Reference

7

0.5 D-BU

417

Throttle Position (TP) Sensor Signal

8

0.5 PK/BK

1746

Fuel Injector 3 Control

9

0.5 BK

1744

Fuel Injector 1 Control

10

BK/WH

252

Low Reference

11

0.5 YE

410

Engine Coolant Temperature (ECT) Sensor Signal

12

D-GN/RD

1665

Oxygen (O2) Sensor 1 Low Reference (Unleaded Only)

13

0.5 PU/WH

1749

Idle Air Control (IAC) Coil B High Control

14

--

--

Not Used

15

0.5 GY

416

5-Volt Reference

16

0.5 OG/BK

469

Low Reference

17

0.5 BK/WH

51

Ground

18

0.5 L-BU

406

Ignition Coil (IC) 1 and 4 Control

19

0.5 D-GN/WH

423

Ignition Coil (IC) 2 and 3 Control

20

0.5 D-GN/WH

428

Evaporative Emissions (EVAP) Canister Purge Solenoid Control

21

0.5 D-BU/WH

1869

Crankshaft Position (CKP) Sensor Signal

22

0.5 L-GN/BK

1745

Fuel Injector 2 Control

23

0.5 BN

472

Intake Air Temperature (IAT) Sensor 5-Volt Reference

24

0.5 L-GN

432

Manifold Absolute Pressure (MAP) Sensor Signal

25

0.5 BN/WH

633

Camshaft Position (CMP) Sensor Signal

26

0.5 L-BU/BK

844

Fuel Injector 4 Control

27

0.5 GY

1653

Oxygen (O2) Sensor 1 Signal (Unleaded Only)

28

0.5 BN

1747

Idle Air Control (IAC) Coil A High Control

29

0.5 WH

444

Idle Air Control (IAC) B Low Control

30

0.5 YE/WH

1748

Idle Air Control (IAC) A Low Control

31

0.5 L-BU/BK

1688

5-Volt Reference Voltage

32

0.5 BK/YE

808

Low Reference

Engine Control Module (ECM) X2 (HV-240) (L79)


Object Number: 1468388  Size: CF

Connector Part Information

  • OEM: PED 12129232
  • Description: 32-Way Retainer Lock (WH)

Engine Control Module (ECM) X2 (HV-240) (L79)

Pin

Wire

Circuit

Function

1

0.5 PU/WH

632

Low Reference

2

0.5 OG

440

Battery Positive Voltage

3

0.5 PK/D-BU

539

Ignition 1 Voltage

4-6

--

--

Not Used

7

0.5 L-BU

380

A/C Refrigerant Pressure (ACP) Sensor Signal

8

0.5 L-BU

722

Octane Switch Signal

9

0.5 GY

121

Engine Speed Signal

10

0.5 D-GN/WH

762

A/C Request Signal

11

--

--

Not Used

12

0.5 D-BU

473

High Speed Cooling Fan Relay Control

13

WH/BK

--

Intake Manifold Tuning Valve Solenoid Control

14

0.5 PU

1807

CAN Serial Data High

15

0.5 PU

2000

Keyword Serial Data

16

--

--

Not Used

17

0.5 GY

605

5-Volt Reference

18

0.5 OG

440

Battery Positive Voltage

19

0.5 GY

1936

Fuel Gage

20-21

--

--

Not Used

22

0.5 PU

723

Octane Switch Signal

23

0.5 D-GN/WH

817

Vehicle Speed Signal (Manual Transmission)

24

0.5 D-GN

135

Engine Coolant (ECT) Sensor Gage Signal

25

--

--

Not Used

26

0.5 D-GN/WH

465

Fuel Pump Relay Control

27

0.5 D-GN/WH

335

Low Speed Cooling Fan Relay Control

28

0.5 D-GN

67

A/C Compressor Clutch Coil Supply Voltage

29

--

--

Not Used

30

0.5 YE

710

CAN Serial Data Low

31

0.5 WH

30

Fuel Level Sensor Signal

32

0.5 BN/WH

419

Malfunction Indicator Lamp (MIL) Control

Engine Control Module (ECM) X1 (MR-140) (LDA)


Object Number: 1466972  Size: CF

Connector Part Information

  • OEM: AMP 0-368434-2
  • Description: 64-Way F ECU 64P Conn Ass'y (32-bit-B)

Engine Control Module (ECM) X1 (MR-140) (LDA)

Pin

Wire

Circuit

Function

1

0.5 OG

440

Battery Positive Voltage

2-4

--

--

Not Used

5

0.5 BK/WH

51

Ground

6

0.5 D-GN/WH

817

Vehicle Speed Signal (Manual Transmission)

7

0.5 D-BU

876

Rough Road Signal - W/ABS

8-11

--

--

Not Used

12

0.5 D-BU

473

High Speed Cooling Fan Relay Control

13

WH/BK

962

Intake Manifold Tuning Valve Solenoid Control

14

0.5 PU

1807

CAN Serial Data High

15

0.5 YE

710

CAN Serial Data Low

16

BN/WH

1669

Heated Oxygen Sensor (HO2S) 1 Heater Control

17

0.5 OG

440

Battery Positive Voltage

18

0.5 PK/BU

539

Ignition 1 Voltage

19-20

--

--

Not Used

21

0.5 D-GN

602

Rough Road Sensor Signal

22

0.5 L-BU

380

A/C Refrigerant Pressure (ACP) Sensor Signal

23

--

--

Not Used

24

0.5 D-GN

135

Engine Coolant Temperature (ECT) Sensor Gage Signal

25

0.5 GY (WH)

121

Engine Speed Signal

26-27

--

--

Not Used

28

0.5 D-GN/WH (D-GN)

335

Low Speed Cooling Fan Relay Control

29

0.5 D-GN (PU)

67

A/C Compressor Clutch Coil Supply Voltage

30

0.5 WH

30

Fuel Level Sensor Signal

31

--

--

Not Used

32

0.5 PU

2000

Keyword Serial Data

33

--

--

Not Used

34

0.5 PU/WH

632

Low Reference

35

0.5 D-GN/WH

762

A/C Request Signal

36

0.5 PU

1670

Heated Oxygen Sensor (HO2S) 2 Signal

37-49

--

--

Not Used

50

0.5 GY

605

5-Volt Reference

51

0.5 GY

1936

Fuel Level Sensor Signal

52

0.5 YE/D-GN

890

Fuel Tank Pressure Sensor Signal

53

0.5 L-GN

413

Heated Oxygen Sensor (HO2S) 2 Low Reference

54

0.5 L-GN (D-GN/WH)

465

Fuel Pump Relay Control

55-63

--

--

Not Used

64

0.5 BN/WH

419

Malfunction Indicator Lamp (MIL) Control

Engine Control Module (ECM) X2 (MR-140) (LDA)


Object Number: 1501851  Size: CF

Connector Part Information

  • OEM: AMP 1-368434-1
  • Description: 64-Way F ECU 64P Conn Ass'y (32-bit-B)

Engine Control Module (ECM) X2 (MR-140) (LDA)

Pin

Wire

Circuit

Function

1

0.5 L-BU

406

Ignition Coil (IC) Timing Control 1 and 4

2

0.5 BN/BK

1671

Heated Oxygen Sensor (HO2S) 2 Heater Control

3

0.5 GY

120

Fuel Pump Supply Voltage

4

0.5 WH

428

Evaporative Emissions (EVAP) Canister Purge Solenoid Control

5

0.5 YE/BK

1868

Low Reference

6

0.5 GY (D-BU)

417

Throttle Position (TP) Sensor Signal

7

0.5 GY (BN)

472

Intake Air Temperature (IAT) Sensor Signal

8

0.5 D-BU/WH (L-GN)

432

Manifold Absolute Pressure (MAP) Sensor Signal

9

0.5 WH/BK

1456

Exhaust Gas Recirculation (EGR) Valve Position Signal

10

--

--

Not Used

11

0.5 D-GN/WH (L-BU/BK)

844

Fuel Injector 4 Control

12

GY

1653

Heated Oxygen Sensor (HO2S) 1 Signal

13

0.5 BN

1747

Idle Air Control (IAC) A High Control

14

0.5 WH

444

Idle Air Control (IAC) B Low Control

15

0.5 YE/WH

1748

Idle Air Control (IAC) A Low Control

16

0.5 L-BU/BK

1688

5-Volt Reference

17

--

--

Not Used

18

0.5 YE/BK

496

Knock Sensor Signal

19

0.5 D-GN

435

Exhaust Gas Recirculation (EGR) Solenoid Low Control

20

--

--

Not Used

21

0.5 D-BU/WH

1869

Crankshaft Position (CKP) Sensor Signal

22

0.5 BN/WH (L-GN/BK)

1745

Fuel Injector 2 Control

23

--

--

Not Used

24

0.5 D-GN/BK (PK/BK)

1746

Fuel Injector 3 Control

25

0.5 YE/D-BU (BK)

1744

Fuel Injector 1 Control

26

0.5 PU (BN/WH)

633

Camshaft Position (CMP) Sensor Signal

27

--

--

Not Used

28

0.5 L-GN (YE)

410

Engine Coolant Temperature (ECT) Sensor Signal

29

D-GN/RD

1665

Heated Oxygen Sensor (HO2S) 1 Low Reference

30

0.5 PU/WH

1749

Idle Air Control (IAC) Coil B High Control

31

--

--

Not Used

32

0.5 D-GN/WH (D-GN/YE)

416

5-Volt Reference

33

0.5 L-BU

406

Ignition Coil (IC) Timing Control (1 and 4)

34

--

--

Not Used

35

0.5 D-GN/WH

423

Ignition Coil (IC) Timing Control (2 and 3)

36

--

--

Not Used

37

0.5 BK/WH

51

Ground

38

0.5 BK/WH

51

Ground

39

0.5 BK/WH

51

Ground

40

0.5 BK/WH

51

Ground

41

0.5 BK/WH

51

Ground

42-47

--

--

Not Used

48

0.5 OG/BK

469

Low Reference

49-50

--

--

Not Used

51

0.5 D-GN/WH

423

Ignition Coil (IC) Timing Control (2 and 3)

52

0.5 D-GN

435

Exhaust Gas Recirulation (EGR) Low Control

53-63

--

--

Not Used

64

0.5 BK (BK/YE)

808

Low Reference

Engine Control Module (ECM) X1 (L34) w/Throttle Actuator Control


Object Number: 1501851  Size: CF

Connector Part Information

  • OEM: AMP 0-368434-1
  • Description: 64-Way F ECU 64P Conn Assembly (32-bit-B) (BK)

Engine Control Module (ECM) X1 (L34) w/Throttle Actuator Control

Pin

Wire

Circuit

Function

1

0.5 BN/BK

543

5-Volt Reference

2

0.5 GY

605

5-Volt Reference

3

0.5 PU

1550

Low Reference

4

0.5 L-GN

413

Low Reference

5

0.5 PU/WH

632

Low Reference

6

0.5 BN

488

5-Volt Reference

7-8

--

--

Not Used

9

0.5 L-BU

1450

Low Reference

10-11

--

--

Not Used

12

0.5 PK/BK

1846

Ignition 1 Voltage

13

0.5 PK/BK

1846

Ignition 1 Voltage

14

--

--

Not Used

15

0.5 BN/WH

379

CPP Switch Signal (M/T)

16

--

--

Not Used

17

0.5 OG

440

Battery Positive Voltage

18

0.5 OG

440

Battery Positive Voltage

19

0.5 BK/WH

51

Ground

20

0.5 BK/WH

51

Ground

21

0.5 BK/WH

51

Ground

22

0.5 BK/WH

51

Ground

23-24

--

--

Not Used

25

D-GN/WH

762

A/C Request Signal

26

L-BU

20

Stop Lamp Switch Output

27

--

--

Not Used

28

BN

17

Stop Lamp Switch Output

29

0.5 WH

791

APP Sensor 2 Signal

30

L-BU

380

A/C Pressure Sensor Signal

31

0.5 PU

2000

Serial Data

32

--

--

Not Used

33

0.5 PK/D-BU

539

Ignition 1 Voltage

34

0.5 BK/WH

51

Ground

35

D-GN

67

A/C Clutch Relay Control

36

0.5 BK

441

Main Relay Control

37

WH

183

Cruise Indicator Control

38

D-GN/WH

817

Vehicle Speed Signal (M/T)

39-40

--

--

Not Used

41

0.5 GY

121

Engine Speed Signal

42

0.5 L-GN

465

Fuel Pump Relay Control

43

0.5 GY

1936

Fuel Level Sensor Signal

44

0.5 D-BU

790

APP Sensor 1 Signal

45

0.5 D-BU/WH

397

Cruise Control Switch Signal

46

0.5 PU

1807

CAN Serial Data High

47

0.5 YE/D-GN

890

Fuel Tank Pressure Sensor Signal

48

0.5 D-GN

602

Rough Road Sensor Signal w/o ABS

49

0.5 BN/WH

419

MIL Control

50

D-GN/WH

355

Low Speed Cooling Fan Relay Control

51-55

--

--

Not Used

56

D-GN

135

Engine Coolant Temperature Gauge Control

57

0.5 BN/BK

1671

Heated Oxygen Sensor (HO2S) 2 Heater Control

58-60

--

--

Not Used

61

0.5 WH

30

Fuel Gauge Control

62

0.5 PU

1670

Heated Oxygen Sensor (HO2S) 2 Signal

63

0.5 YE

710

CAN Serial Data Low

64

D-BU

876

Rough Road Signal w/ABS

Engine Control Module (ECM) X2 (L34) w/Throttle Actuator Control


Object Number: 1466972  Size: CF

Connector Part Information

  • OEM: AMP 1-368434-2
  • Description: 64-Way F ECU 64P Conn Assembly (32-bit-B) (BN)

Engine Control Module (ECM) X2 (L34) w/Throttle Actuator Control

Pin

Wire

Circuit

Function

1-2

--

--

Not Used

3

0.5 L-BU

406

Ignition Coil (IC) Timing Control 1 and 4

4

0.5 D-GN/WH

423

Ignition Coil (IC) Timing Control 2 and 3

5-6

--

--

Not Used

7

YE

45

Intake Manifold Tuning Valve Sensor Signal

8

YE

492

Intake Manifold Tuning Valve Control

9-14

--

--

Not Used

15

0.5 D-BU/RD

581

Electronic Throttle Control (ETC) (-)

16

0.5 D-BU/RD

581

Electronic Throttle Control (ETC) (-)

17-18

--

--

Not Used

19

0.5 L-BU

406

Ignition Coil (IC) Timing Control 1 and 4

20

0.5 D-GN/WH

423

Ignition Coil (IC) Timing Control 2 and 3

21

0.5 D-BU/WH

808

Low Reference

22

0.5 YE/BK

496

Knock Sensor Signal

23-24

--

--

Not Used

25

0.5 L-GN

410

Engine Coolant Temperature (ECT) Sensor Signal

26

0.5 D-GN/RK

1665

Heated Oxygen Sensor (HO2S) 1 Low Reference

27

--

--

Not Used

28

0.5 D-BU/WH

432

Manifold Absolute Pressure (MAP) Sensor Signal

29

0.5 GY

534

Throttle Position (TP) Sensor 2 Signal

30

0.5 GY

471

Intake Air Temperature (IAT) Sensor Signal

31

0.5 L-BU/WH

582

Electronic Throttle Control (ETC) (+)

32

0.5 L-BU/WH

582

Electronic Throttle Control (ETC) (+)

33

0.5 L-BU/BK

1688

5-Volt Reference

34

0.5 GY

1653

Heated Oxygen Sensor (HO2S) 1Signal

35

0.5 OG/BK

469

Low Reference

36

0.6 D-BU/WH

1869

Crankshaft Position (CKP) Sensor Signal

37

0.5 YE/BK

1868

Low Reference

38-40

--

--

Not Used

41

0.5 D-GNWH

417

Throttle Position (TP) Sensor 1 Signal

42

0.5 WH/BK

1456

Exhaust Gas Recirculation (EGR) Valve Position Sensor Signal

43-45

--

--

Not Used

46

0.5 PU

633

Camshaft Position (CMP) Sensor Signal

47-48

--

--

Not Used

49

0.5 BN/WH

1669

Heated Oxygen Sensor (HO2S) 1 Heater Control

50

0.5 D-BU/YE

474

5-Volt Reference

51

0.5 BK

808

Low Reference

52

0.5 BN

426

Low Reference

53

0.5 D-GN

435

Exhaust Gas Recirculation (EGR) Solenoid Valve Control

54

0.5 PK

139

Ignition 1 Voltage

55

0.5 D-GN/BK

1746

Fuel Injector 3 Control

56

0.5 BN/WH

1745

Fuel Injector 2 Control

57-60

--

--

Not Used

61

0.5 L-BU/BK

1986

Evaporative Emissions (EVAP) Canister Vent Solenoid Control

62

0.5 WH

428

Evaporative Emissions (EVAP) Canister Purge Solenoid Control

63

0.5 YE/D-BU

1744

Fuel Injector 1 Control

64

0.5 D-GN/WH

844

Fuel Injector 4 Control

Engine Control Module (ECM) X1 (MR-140) (L34) w/o Throttle Actuator Control


Object Number: 1466972  Size: CF

Connector Part Information

  • OEM: AMP 0-368434-2
  • Description: 64-Way F ECU 64P Conn Ass'y (32-bit-B)

Engine Control Module (ECM) X1 (MR-140) (L34) w/o Throttle Actuator Control

Pin

Wire

Circuit

Function

1

0.5 OG

440

Battery Positive Voltage

2-4

--

--

Not Used

5

0.5 BK/WH

51

Ground

6

0.5 D-GN/WH

817

Vehicle Speed Signal (Manual Transmission)

7

0.5 D-BU

876

Rough Road Signal - W/ABS

8-11

--

--

Not Used

12

0.5 D-BU

473

High Speed Cooling Fan Relay Control

13

WH/BK

962

Intake Manifold Tuning Valve Solenoid Control

14

0.5 PU

1807

CAN Serial Data High

15

0.5 YE

710

CAN Serial Data Low

16

BN/WH

1669

Heated Oxygen Sensor (HO2S) 1 Heater Control

17

0.5 OG

440

Battery Positive Voltage

18

0.5 PK/BU

539

Ignition 1 Voltage

19-20

--

--

Not Used

21

0.5 D-GN

602

Rough Road Sensor Signal

22

0.5 L-BU

380

A/C Refrigerant Pressure (ACP) Sensor Signal

23

--

--

Not Used

24

0.5 D-GN

135

Engine Coolant Temperature (ECT) Sensor Gage Signal

25

0.5 GY (WH)

121

Engine Speed Signal

26-27

--

--

Not Used

28

0.5 D-GN/WH (D-GN)

335

Low Speed Cooling Fan Relay Control

29

0.5 D-GN (PU)

67

A/C Compressor Clutch Coil Supply Voltage

30

0.5 WH

30

Fuel Level Sensor Signal

31

--

--

Not Used

32

0.5 PU

2000

Keyword Serial Data

33

--

--

Not Used

34

0.5 PU/WH

632

Low Reference

35

0.5 D-GN/WH

762

A/C Request Signal

36

0.5 PU

1670

Heated Oxygen Sensor (HO2S) 2 Signal

37-49

--

--

Not Used

50

0.5 GY

605

5-Volt Reference

51

0.5 GY

1936

Fuel Level Sensor Signal

52

0.5 YE/D-GN

890

Fuel Tank Pressure Sensor Signal

53

0.5 L-GN

413

Heated Oxygen Sensor (HO2S) 2 Low Reference

54

0.5 L-GN (D-GN/WH)

465

Fuel Pump Relay Control

55-63

--

--

Not Used

64

0.5 BN/WH

419

Multifunction Indicator Lamp (MIL) Control

Engine Control Module (ECM) X2 (MR-140) (L34) w/o Throttle Actuator Control


Object Number: 1501851  Size: CF

Connector Part Information

  • OEM: AMP 1-368434-1
  • Description: 64-Way F ECU 64P Conn Ass'y (32-bit-B)

Engine Control Module (ECM) X2 (MR-140) (L34) w/o Throttle Actuator Control

Pin

Wire

Circuit

Function

1

0.5 L-BU

406

Ignition Coil (IC) Timing Control 1 and 4

2

0.5 BN/BK

1671

Heated Oxygen Sensor (HO2S) 2 Heater Control

3

0.5 GY

120

Fuel Pump Supply Voltage

4

0.5 WH

428

Evaporative Emissions (EVAP) Canister Purge Solenoid Control

5

0.5 YE/BK

1868

Low Reference

6

0.5 GY (D-BU)

417

Throttle Position (TP) Sensor Signal

7

0.5 GY (BN)

472

Intake Air Temperature (IAT) Sensor Signal

8

0.5 D-BU/WH (L-GN)

432

Manifold Absolute Pressure (MAP) Sensor Signal

9

WH/BK

1456

Exhaust Gas Recirculation (EGR) Valve Position Signal

10

--

--

Not Used

11

0.5 D-GN/WH (L-BU/BK)

844

Fuel Injector 4 Control

12

GY

1653

Heated Oxygen Sensor (HO2S) 1 Signal

13

0.5 BN

1747

Idle Air Control (IAC) A High Control

14

0.5 WH

444

Idle Air Control (IAC) B Low Control

15

0.5 YE/WH

1748

Idle Air Control (IAC) A Low Control

16

0.5 L-BU/BK

1688

5-Volt Reference

17

--

--

Not Used

18

0.5 YE/BK

496

Knock Sensor Signal

19

0.5 D-GN

435

Exhaust Gas Recirculation (EGR) Solenoid Low Control

20

--

--

Not Used

21

0.5 D-BU/WH

1869

Crankshaft Position (CKP) Sensor Signal

22

0.5 BN/WH (L-GN/BK)

1745

Fuel Injector 2 Control

23

--

--

Not Used

24

0.5 D-GN/BK (PK/BK)

1746

Fuel Injector 3 Control

25

0.5 YE/D-BU (BK)

1744

Fuel Injector 1 Control

26

0.5 PU (BN/WH)

633

Camshaft Position (CMP) Sensor Signal

27

--

--

Not Used

28

0.5 L-GN (YE)

410

Engine Coolant Temperature (ECT) Sensor Signal

29

D-GN/RD

1665

Heated Oxygen Sensor (HO2S) 1 Low Reference

30

0.5 PU/WH

1749

Idle Air Control (IAC) Coil B High Control

31

--

--

Not Used

32

0.5 D-GN/WH (D-GN/YE)

416

5-Volt Reference

33

0.5 L-BU

406

Ignition Coil (IC) Timing Control (1 and 4)

34

--

--

Not Used

35

0.5 D-GN/WH

423

Ignition Coil (IC) Timing Control (2 and 3)

36

--

--

Not Used

37

0.5 BK/WH

51

Ground

38

0.5 BK/WH

51

Ground

39

0.5 BK/WH

51

Ground

40

0.5 BK/WH

51

Ground

41

0.5 BK/WH

51

Ground

42-47

--

--

Not Used

48

0.5 OG/BK

469

Low Reference

49-50

--

--

Not Used

51

0.5 D-GN/WH

423

Ignition Coil (IC) Timing Control (2 and 3)

52

0.5 D-GN

435

Exhaust Gas Recirulation (EGR) Low Control

53-63

--

--

Not Used

64

0.5BK (BK/YE)

808

Low Reference

Engine Coolant Temperature (ECT) Sensor (L95, LXT)


Object Number: 62426  Size: CH

Connector Part Information

  • OEM: PED 12040753
  • Description: 2-Way F Metri-Pack 150 Series, Sealed, Pull To Seat (BK)

Engine Coolant Temperature (ECT) Sensor (L95, LXT)

Pin

Wire

Circuit

Function

1

0.5 YE

410

Engine Coolant Temperature (ECT) Sensor Signal

2

0.5 BK/YE

808

Low Reference

Engine Coolant Temperature (ECT) Sensor (L79)


Object Number: 62426  Size: CH

Connector Part Information

  • OEM: PED 12040753
  • Description: 2-Way F Metri-Pack 150 Series Sealed, Pull To Seat (BK)

Engine Coolant Temperature (ECT) Sensor (L79)

Pin

Wire

Circuit

Function

A

0.5 BK/YE

808

Low Reference

B

0.5 YE

410

Engine Coolant Temperature (ECT) Sensor Signal

Engine Coolant Temperature (ECT) Sensor (LDA)


Object Number: 62426  Size: CH

Connector Part Information

  • OEM: PED 12040753
  • Description: 2-Way F Metri-Pack 150 Series Sealed, Pull To Seat (BK)

Engine Coolant Temperature (ECT) Sensor (LDA)

Pin

Wire

Circuit

Function

A

0.5 BK (BK/YE)

808

Low Reference

B

0.5 L-GN (YE)

410

Engine Coolant Temperature (ECT) Sensor Signal

Engine Coolant Temperature (ECT) Sensor (w/Throttle Actuator Control) (L34)


Object Number: 62426  Size: CH

Connector Part Information

  • OEM: PED 12040753
  • Description: 2-Way F Metri-Pack 150 Series Sealed, Pull To Seat (BK)

Engine Coolant Temperature (ECT) Sensor (w/Throttle Actuator Control) (L34)

Pin

Wire

Circuit

Function

1

0.5 L-GN

410

Engine Coolant Temperature (ECT) Sensor Signal

2

0.5 BK

808

Low Reference

Engine Coolant Temperature (ECT) Sensor (w/o Throttle Actuator Control) (L34)


Object Number: 62426  Size: CH

Connector Part Information

  • OEM: PED 12040753
  • Description: 2-Way F Metri-Pack 150 Series Sealed, Pull To Seat (BK)

Engine Coolant Temperature (ECT) Sensor (w/o Throttle Actuator Control) (L34)

Pin

Wire

Circuit

Function

A

0.5 BK (BK/YE)

808

Low Reference

B

0.5 L-GN (YE)

410

Engine Coolant Temperature (ECT) Sensor Signal

Engine Coolant Temperature (ECT) Sensor (LMN)


Object Number: 62426  Size: CH

Connector Part Information

  • OEM: PED 12040753
  • Description: 2-Way F 150 Series Sealed

Engine Coolant Temperature (ECT) Sensor (LMN)

Pin

Wire

Circuit

Function

1

GY/BK

--

Signal

2

BN

--

Ground

Evaporative Emission (EVAP) Canister Purge Solenoid Valve (L95, LXT)


Object Number: 1467003  Size: CH

Connector Part Information

  • OEM: AMP 85202-1
  • Description: 2-Way F JR Power Timer 2P Hsg Ass'y (BK)

Evaporative Emission (EVAP) Canister Purge Solenoid Valve (L95, LXT)

Pin

Wire

Circuit

Function

1

0.5 PK/BK

1846

Ignition 1 Voltage

2

0.5 D-GN/WH

428

EVAP Canister Purge Solenoid Control

Evaporative Emission (EVAP) Canister Purge Solenoid Valve (L79)


Object Number: 684795  Size: CH

Connector Part Information

  • OEM: PED 12052643
  • Description: 2-Way F Metri-Pack 150 Series Sealed (RD)

Evaporative Emission (EVAP) Canister Purge Solenoid Valve (L79)

Pin

Wire

Circuit

Function

1

0.5 PK/BK

1846

Ignition 1 Voltage

2

D-GN/WH

428

Evaporative Emission (EVAP) Canister Purge Solenoid Control

Evaporative Emission (EVAP) Canister Purge Solenoid Valve (LDA)


Object Number: 684795  Size: CH

Connector Part Information

  • OEM: PED 12052643
  • Description: 2-Way F Metri-Pack 150 Series Sealed (RD)

Evaporative Emission (EVAP) Canister Purge Solenoid Valve (LDA)

Pin

Wire

Circuit

Function

1

0.5 PK/BK

1846

Ignition 1 Voltage

2

0.5 WH

428

Evaporative Emission (EVAP) Canister Purge Solenoid Control

Evaporative Emission (EVAP) Canister Purge Solenoid Valve (w/Throttle Actuator Control) (L34)


Object Number: 684795  Size: CH

Connector Part Information

  • OEM: PED 12052643
  • Description: 2-Way F Metri-Pack 150 Series Sealed (BN)

Evaporative Emission (EVAP) Canister Purge Solenoid Valve (w/Throttle Actuator Control) (L34)

Pin

Wire

Circuit

Function

1

0.5 PK/BK

1846

Ignition 1 Voltage

2

0.5 WH

428

Evaporative Emission (EVAP) Canister Purge Solenoid Control

Evaporative Emission (EVAP) Canister Purge Solenoid Valve (w/o Throttle Actuator) (L34)


Object Number: 684795  Size: CH

Connector Part Information

  • OEM: PED 12052643
  • Description: 2-Way F Metri-Pack 150 Series Sealed (RD)

Evaporative Emission (EVAP) Canister Purge Solenoid Valve (w/o Throttle Actuator Control) (L34)

Pin

Wire

Circuit

Function

A

0.5 PK/BK

1846

Ignition 1 Voltage

B

0.5 WH

428

Evaporative Emission (EVAP) Canister Purge Solenoid Control

Evaporative Emission (EVAP) Canister Vent Solenoid Valve (LDA)


Object Number: 684795  Size: CH

Connector Part Information

  • OEM: PED 12052643
  • Description: 2-Way F Metri-Pack 150 Series Sealed (RD)

Evaporative Emission (EVAP) Canister Vent Solenoid Valve (LDA)

Pin

Wire

Circuit

Function

1

0.5 PK/BK

1846

Ignition 1 Voltage

2

L-BU/PU

428

Evaporative Emission (EVAP) Canister Vent Solenoid Control

Evaporative Emission (EVAP) Canister Vent Solenoid (w/Throttle Actuator Control) (L34)


Object Number: 684795  Size: CH

Connector Part Information

  • OEM: PED 12052643
  • Description: 2-Way F Metri-Pack 150 Series Sealed (RD)

Evaporative Emission (EVAP) Canister Vent Solenoid (w/Throttle Actuator Control) (L34)

Pin

Wire

Circuit

Function

1

0.5 L-BU/PU

1986

Evaporative Emission (EVAP) Canister Vent Solenoid Control

2

0.5 PK/BK

1846

Ignition 1 Voltage

Evaporative Emission (EVAP) Canister Vent Solenoid Valve (w/o Throttle Actuator Control) (L34)


Object Number: 684795  Size: CH

Connector Part Information

  • OEM: PED 12052643
  • Description: 2-Way F Metri-Pack 150 Series Sealed (RD)

Evaporative Emission (EVAP) Canister Vent Solenoid Valve (w/o Throttle Actuator Control) (L34)

Pin

Wire

Circuit

Function

1

PK/BK

1846

Ignition 1 Voltage

2

L-BU/PU

428

Evaporative Emission (EVAP) Canister Vent Solenoid Control

Exhaust Gas Recirculation (EGR) Valve (ECE 83 Emissions) (L95, LXT)


Object Number: 1466982  Size: CH

Connector Part Information

  • OEM: AMP 368530
  • Description: 2-Way M Econoseal J Mark II + Connector Plug Housing (BK)

Exhaust Gas Recirculation (EGR) Valve (ECE 83 Emissions) (L95, LXT)

Pin

Wire

Circuit

Function

1

0.5 GY

435

Exhaust Gas Recirculation (EGR) Solenoid Control

2

0.5 PK

139

Ignition 1 Voltage

Exhaust Gas Recirculation (EGR) Valve (Euro III Emissions) (L95, LXT)


Object Number: 1466981  Size: CH

Connector Part Information

  • OEM: AMP 368530-1
  • Description: 6-Way F Econoseal J-Mark II + 6P (BK)

Exhaust Gas Recirculation (EGR) Valve (Euro III Emissions) (L95, LXT)

Pin

Wire

Circuit

Function

1

GY

416

5-Volt Reference Voltage

2

BK/YE

808

Sensor Ground

3

BN

1456

Exhaust Gas Recirculation (EGR) Signal

4

PK

139

Ignition 1 Voltage

5

--

--

Not Used

6

GY

435

Exhaust Gas Recirculation (EGR) Solenoid Low Control

Exhaust Gas Recirculation (EGR) Valve (Euro IV Emissions) (L95, LXT)


Object Number: 1466981  Size: CH

Connector Part Information

  • OEM: AMP 368530-1
  • Description: 6-Way F Econoseal J-Mark II + 6P (BK)

Exhaust Gas Recirculation (EGR) Valve (Euro IV Emissions) (L95, LXT)

Pin

Wire

Circuit

Function

1

0.5 GY

435

Exhaust Gas Recirculation (EGR) Solenoid Low Control

2

0.5 BK/YE

808

Sensor Ground

3

0.5 BN

1456

Exhaust Gas Recirculation (EGR) Signal

4

0.5 GY

416

5-Volt Reference Voltage

5

0.5 PK

139

Ignition 1 Voltage

6

--

--

Not Used

Exhaust Gas Recirculation (EGR) Valve (LDA)


Object Number: 684863  Size: CH

Connector Part Information

  • OEM: PED 12186139
  • Description: 5-Way F Metri-Pack 150 Series Sealed, Pull To Seat (L-GY)

Exhaust Gas Recirculation (EGR) Valve (LDA)

Pin

Wire

Circuit

Function

1

0.5 D-GN

435

Exhaust Gas Recirulation (EGR) Solenoid Low Control

2

0.5 OG/BK

469

Low Reference

3

0.5 WH/BK

1456

Exhaust Gas Recirulation (EGR) Valve Position Signal

4

0.5 L-BU/BK

1688

5-Volt Reference

5

0.5 GY

120

Fuel Pump Supply Voltage

Exhaust Gas Recirculation (EGR) Valve (w/Throttle Actuator Control) (L34)


Object Number: 684863  Size: CH

Connector Part Information

  • OEM: PED 12186139
  • Description: 5-Way F Metri-Pack 150 Series Sealed, Pull To Seat (L-GY)

Exhaust Gas Recirculation (EGR) Valve (w/Throttle Actuator Control) (L34)

Pin

Wire

Circuit

Function

1

0.5 D-GN

435

Exhaust Gas Recirulation (EGR) Solenoid Low Control

2

0.5 OG/BK

469

Low Reference

3

0.5 WH

1456

Exhaust Gas Recirulation (EGR) Valve Position Signal

4

0.5 L-BU/BK

1688

5-Volt Reference

5

0.5 PK

120

Supply Voltage

Exhaust Gas Recirculation (EGR) Valve (w/o Throttle Actuator Control) (L34)


Object Number: 684863  Size: CH

Connector Part Information

  • OEM: PED 12186139
  • Description: 5-Way F Metri-Pack 150 Series Sealed, Pull To Seat (L-GY)

Exhaust Gas Recirculation (EGR) Valve (w/o Throttle Actuator Control) (L34)

Pin

Wire

Circuit

Function

A

0.5 D-GN

435

Exhaust Gas Recirulation (EGR) Solenoid Low Control

B

0.5 OG/BK

469

Low Reference

C

0.5 WH/BK

1456

Exhaust Gas Recirulation (EGR) Valve Position Signal

D

0.5 L-BU/BK

1688

5-Volt Reference

E

0.5 GY

120

Fuel Pump Supply Voltage

Exhaust Gas Recirculation (EGR) Valve (LMN)


Object Number: 1467003  Size: CH

Connector Part Information

  • OEM: TYCO 827551-3
  • Description: 2-Way F Timmer Sealed

Exhaust Gas Recirculation (EGR) Valve (LMN)

Pin

Wire

Circuit

Function

1

GN/WH

--

EGR Solenoid Control

2

PK/WH

--

Battery Positive Voltage

Exhaust Gas Temperature Sensor 1 - (LMN)


Object Number: 1265364  Size: CH

Connector Part Information

  • OEM: 621-02020
  • Description: 2-Way F

Exhaust Gas Temperature Sensor 1 (LMN)

Pin

Wire

Circuit

Function

1

PU/WH

--

Signal

2

BU/WH

--

Ground

Exhaust Gas Temperature Sensor 2 (LMN)


Object Number: 1265364  Size: CH

Connector Part Information

  • OEM: 621-02020
  • Description: 2-Way F

Exhaust Gas Temperature Sensor 2 (LMN)

Pin

Wire

Circuit

Function

1

L-BU/BK

--

Signal

2

YE/WH

--

Ground

Fog Lamp - Left Front


Object Number: 646148  Size: CH

Connector Part Information

  • OEM: PED 12020599
  • Description: 2-Way F Metri-Pack 280 Series (BK)

Fog Lamp - Left Front

Pin

Wire

Circuit

Function

A

PU

34

Front Fog Lamp Supply Voltage

B

BK

50

Ground

Fog Lamp - Left Rear (T79)


Object Number: 38605  Size: CH

Connector Part Information

  • OEM: 12092379
  • Description: 3-Way F Lamp Socket Wedge Base W3 (BK)

Fog Lamp - Left Rear (T79)

Pin

Wire

Circuit

Function

A

WH

122

Rear Fog Lamp Supply Voltage

B

--

--

Not Used

G

BK/WH

70

Ground

Fog Lamp - Right Front


Object Number: 646148  Size: CH

Connector Part Information

  • OEM: PED 12020599
  • Description: 2-Way F Metri-Pack 280 Series (BK)

Fog Lamp - Right Front

Pin

Wire

Circuit

Function

A

PU

34

Front Fog Lamp Supply Voltage

B

BK

150

Ground

Fog Lamp - Right Rear (T79)


Object Number: 38605  Size: CH

Connector Part Information

  • OEM: 12092379
  • Description: 3-Way F Lamp Socket Wedge Base W3 (BK)

Fog Lamp - Right Rear (T79)

Pin

Wire

Circuit

Function

A

WH

122

Rear Fog Lamp Supply Voltage

B

--

--

Not Used

G

BK/WH

70

Ground

Fuel Filter Heater/Temperature Sensor (LMN)


Object Number: 1835094  Size: CH

Connector Part Information

  • OEM: FCI 17260406A
  • Description: 6-Way F 150/280 Series Sealed

Fuel Filter Heater/Temperature Sensor (LMN)

Pin

Wire

Circuit

Function

1-2

--

--

Not Used

3

BK

--

Ground

4

PU

--

Fuel Filter Heater Supply Voltage

5

L-GN/BK

--

Fuel Temperature Signal

6

YE/BK

--

Fuel Temperature Ground

Fuel Injector 1 (LMN)


Object Number: 784092  Size: CH

Connector Part Information

  • OEM: BOSCH 1928403874
  • Description: 2-Way F Sealed

Fuel Injector 1 (LMN)

Pin

Wire

Circuit

Function

1

YE/BK

--

Control

2

WH

--

Low Reference

Fuel Injector 2 (LMN)


Object Number: 784092  Size: CH

Connector Part Information

  • OEM: BOSCH 1928403874
  • Description: 2-Way F Sealed

Fuel Injector 2 (LMN)

Pin

Wire

Circuit

Function

1

L-GN/BK

--

Control

2

PU

--

Low Reference

Fuel Injector 3 (LMN)


Object Number: 784092  Size: CH

Connector Part Information

  • OEM: BOSCH 1928403874
  • Description: 2-Way F Sealed

Fuel Injector 3 (LMN)

Pin

Wire

Circuit

Function

1

L-BU

--

Control

2

BN/WH

--

Low Reference

Fuel Injector 4 (LMN)


Object Number: 784092  Size: CH

Connector Part Information

  • OEM: BOSCH 1928403874
  • Description: 2-Way F Sealed

Fuel Injector 4 (LMN)

Pin

Wire

Circuit

Function

1

GN

--

Control

2

WH/BK

--

Low Reference

Fuel Injectors (L95, LXT)


Object Number: 1467003  Size: CH

Connector Part Information

  • OEM: AMP 85202-1
  • Description: 2-Way F JR Power Timer 2P Hsg Ass'y (BK)

Fuel Injectors (L95, LXT)

Pin

Wire

Circuit

Function

1

0.5 PK

139

Ignition 1 Voltage

2

0.5 BK

1744

Fuel Injector 1 Control

0.5 L-GN/BK

1745

Fuel Injector 2 Control

0.5 PK/BK

1746

Fuel Injector 3 Control

0.5 L-BU/BK

844

Fuel Injector 4 Control

Fuel Injectors (L79)


Object Number: 366123  Size: CH

Connector Part Information

  • OEM: PED 15326181
  • Description: 2-Way F Micro-Pack 064 Series Sealed (BK)

Fuel Injectors (L79)

Pin

Wire

Circuit

Function

A

PK

139

Ignition 1 Voltage

B

BK

1744

Fuel Injector 1 Control

L-GN/BK

1745

Fuel Injector 2 Control

PK/BK

1746

Fuel Injector 3 Control

L-BU/BK

844

Fuel Injector 4 Control

Fuel Injectors (LDA)


Object Number: 366123  Size: CH

Connector Part Information

  • OEM: PED 15326181
  • Description: 2-Way F Micro-Pack 064 Series Sealed (BK)

Fuel Injectors (LDA)

Pin

Wire

Circuit

Function

A

PK

139

Ignition 1 Voltage

B

YE/BU (BK)

1744

Fuel Injector 1 Control

BN/WH (L-GN/BK)

1745

Fuel Injector 2 Control

D-GN/BK (PK/BK)

1746

Fuel Injector 3 Control

D-GN/WH(L-BU/BK)

844

Fuel Injector 4 Control

Fuel Injectors (L34)


Object Number: 603098  Size: CH

Connector Part Information

  • OEM: PED 15305086
  • Description: 2-Way F Metri-Pack 150 Series Sealed (BK)

Fuel Injectors (L34)

Pin

Wire

Circuit

Function

A

0.5 PK

139

Ignition 1 Voltage

B

0.5 YE/D-BU

1744

Fuel Injector 1 Control

0.5 BN/WH

1745

Fuel Injector 2 Control

0.5 D-GN/BK

1746

Fuel Injector 3 Control

0.5 D-GN/WH

844

Fuel Injector 4 Control

Fuel Injectors (w/o Throttle Actuator Control) (L34)


Object Number: 366123  Size: CH

Connector Part Information

  • OEM: PED 15326181
  • Description: 2-Way F Micro-Pack 064 Series Sealed (BK)

Fuel Injectors (w/o Throttle Actuator Control) (L34)

Pin

Wire

Circuit

Function

A

0.5 PK

139

Ignition 1 Voltage

B

0.5 YE/BU (BK)

1744

Fuel Injector 1 Control

0.5 BN/WH (L-GN/BK)

1745

Fuel Injector 2 Control

0.5 D-GN/BK (PK/BK)

1746

Fuel Injector 3 Control

0.5 D-GN/WH (L-BU/BK

844

Fuel Injector 4 Control

Fuel Pump/Sender


Object Number: 1468528  Size: CH

Connector Part Information

  • OEM: AMP 936039
  • Description: 6-Way F Fuel Pump 6POS Conn'r Ass'y (BN)

Fuel Pump/Sender

Pin

Wire

Circuit

Function

1

D-BU

1936

Fuel Level Sensor Signal

2

BK

1250

Ground

PU/BK

632

Low Reference (Diesel)

3

GY

120

Fuel Pump Supply Voltage

4

BK

1250

Ground

5

PU

172

Low Fuel Indicator Control

6

PU/BK

632

Low Reference

Fuel Pump (L79)


Object Number: 1468528  Size: CH

Connector Part Information

  • OEM: AMP 936039
  • Description: 6-Way Fuel Pump 6POS CONN'R ASS'Y

Fuel Pump (L79)

Pin

Wire

Circuit

Function

1

0.5 D-BU

1936

Fuel Level Sensor Signal

2

1.25 BK

1250

Ground

3

0.5 GY

120

Fuel Pump Supply Voltage

4

0.5 BK

1250

Ground

5

0.5 PU

172

Low Fuel Indicator Control

6

0.5 PU/BK

632

Low Reference

Fuel Pump (LDA)


Object Number: 1468528  Size: CH

Connector Part Information

  • OEM: AMP 936039
  • Description: 6-Way Fuel Pump 6POS CONN'R ASS'Y

Fuel Pump (LDA)

Pin

Wire

Circuit

Function

1

D-BU

1936

Fuel Level Sensor Signal

2

BK

1250

Ground

3

GY

120

Fuel Pump Supply Voltage

4

BK

1250

Ground

5

PU

172

Low Fuel Indicator Control

6

PU/BK

632

Low Reference

Fuel Pump (w/o Throttle Actuator Control) (L34)


Object Number: 1468528  Size: CH

Connector Part Information

  • OEM: AMP 936039
  • Description: 6-Way Fuel Pump 6POS CONN'R ASS'Y

Fuel Pump (w/o Throttle Actuator Control) (L34)

Pin

Wire

Circuit

Function

1

D-BU

1936

Fuel Level Sensor Signal

2

1.25 BK

1250

Ground

3

1.25 GY

120

Fuel Pump Supply Voltage

4

BK

1250

Ground

5

PU

172

Low Fuel Indicator Control

6

PU/BK

632

Low Reference

Fuel Pump/Sender (L95, LXT)


Object Number: 1468528  Size: CH

Connector Part Information

  • OEM: AMP 936039
  • Description: 6-Way F Fuel Pump 6POS Conn'r Ass'y (BN)

Fuel Pump/Sender (L95, LXT)

Pin

Wire

Circuit

Function

1

0.5 D-BU

1936

Fuel Level Sensor Signal

2

1.25 BK

1250

Ground

3

0.5 GY

120

Fuel Pump Supply Voltage

4

0.5 BK

1250

Ground

5

0.5 PU

172

Low Fuel Indicator Control

6

0.5 PU/BK

632

Low Reference

Fuel Pump/Sender (w/Throttle Actuator Control) (L34)


Object Number: 1468528  Size: CH

Connector Part Information

  • OEM: AMP 936039
  • Description: 6-Way F Fuel Pump 6POS Connector Assembly (BN)

Fuel Pump/Sender (w/Throttle Actuator Control) (L34)

Pin

Wire

Circuit

Function

1

D-BU

1936

Fuel Level Sensor Signal

2

1.25 BK

1250

Ground

3

1.25 GY

120

Fuel Pump Supply Voltage

4

BK

1250

Ground

5

PU

172

Low Fuel Indicator Control

6

PU/BK

632

Low Reference

Fuel Pump Module (LMN)


Object Number: 1468407  Size: CH

Connector Part Information

  • OEM: KET MG641521
  • Description: 5-Way F 090II Sealed

Fuel Pump Module (LMN)

Pin

Wire

Circuit

Function

1

BU

--

Fuel Level +

2

PU/BK

--

Fuel Level -

3

--

--

Not Used

4

BK

--

Ground

5

GY

--

Fuel Pump Supply Voltage

Fuel Rail Pressure Control Valve (LMN)


Object Number: 784092  Size: CH

Connector Part Information

  • OEM: BOSCH 1928403874
  • Description: 2-Way F Sealed

Fuel Rail Pressure Control Valve (LMN)

Pin

Wire

Circuit

Function

1

L-BU/BK

--

Control

2

BN/WH

--

12V

Fuel Rail Pressure Sensor (LMN)


Object Number: 1331443  Size: CH

Connector Part Information

  • OEM: BOSCH 1928403968
  • Description: 2-Way F Sealed

Fuel Rail Pressure Sensor (LMN)

Pin

Wire

Circuit

Function

1

GN/WH

--

Ground

2

GY/BK

--

Signal

3

L-BU

--

5-Volt Reference

Fuel Tank Pressure Sensor (w/Throttle Actuator Control) (L34)


Object Number: 516611  Size: CH

Connector Part Information

  • OEM: PED 12059595
  • Description: 3-Way F Metri-Pack 150 Series Sealed (BK)

Fuel Tank Pressure Sensor (w/Throttle Actuator Control) (L34)

Pin

Wire

Circuit

Function

1

0.5 BK/WH

632

Low Reference

2

0.5 D-GN

890

Fuel Tank Pressure Sensor Signal

3

0.5 GY

605

5-Volt Reference

Generator


Object Number: 697046  Size: CH

Connector Part Information

  • OEM: PED 12186568
  • Description: 4-Way F Metri-Pack 150 Series (BK)

Generator

Pin

Wire

Circuit

Function

A

--

--

Not Used

B

BN

25

Charge Indicator Control/Signal

C

PK/D-BU

539

Ignition 1 Voltage

D

--

--

Not Used

Glow Plug Control Unit (LMN)


Object Number: 1835994  Size: CH

Connector Part Information

  • OEM: FCI 60432001
  • Description: 11-Way F Sealed

Glow Plug Control Unit (LMN)

Pin

Wire

Circuit

Function

1

PU

--

Glow Plug 4 Supply Voltage

2

PU

--

Glow Plug 3 Supply Voltage

3

PU

--

Glow Plug 2 Supply Voltage

4

PU

--

Glow Plug 1 Supply Voltage

5

--

--

Not Used

6

PK

--

Ignition Voltage

7

BK

--

Ground

8

--

--

Not Used

9

WH

--

Diagnosis

10

RD/WH

--

Battery Positive Voltage

11

WH/RD

--

Glow Plug Control

Hazard Switch


Object Number: 1467121  Size: CH

Connector Part Information

  • OEM: KET MG 651056
  • Description: 10-Way F 090-II Series (WH)

Hazard Switch

Pin

Wire

Circuit

Function

1

--

--

Not Used

2

D-GN

44

Instrument Panel Lamps Dimmer Switch

3

BN/WH

309

Right Park Lamp Supply Voltage

4

BN

27

Hazard Flasher Signal (Optional)

5

L-BU

14

Left Turn Signal Lamps Supply Voltage

6

D-BU

15

Right Turn Signal Lamps Supply Voltage

7

L-BU

1508

Turn Signal Switch Signal

8

OG

1040

Battery Positive Voltage

9

PK

16

Turn Signal Flasher Signal

10

PK

339

Ignition 1 Voltage

Headlamp - High Beam - Left


Object Number: 73251  Size: CH

Connector Part Information

  • OEM: 12033701
  • Description: 2-Way F Metri-Pack 480 Series, Sealed (BK)

Headlamp - High Beam - Left

Pin

Wire

Circuit

Function

A

RD

711

Left Headlamp High Beam Supply Voltage

B

BK/WH

1250

Ground

Headlamp - High Beam - Right


Object Number: 73251  Size: CH

Connector Part Information

  • OEM: 12033701
  • Description: 2-Way F Metri-Pack 480 Series, Sealed (BK)

Headlamp - High Beam - Right

Pin

Wire

Circuit

Function

A

RD

311

Right Headlamp High Beam Supply Voltage

B

BK/WH

1250

Ground

Headlamp - Low Beam - Left


Object Number: 73251  Size: CH

Connector Part Information

  • OEM: 12033701
  • Description: 2-Way F Metri-Pack 480 Series, Sealed (BK)

Headlamp - Low Beam - Left

Pin

Wire

Circuit

Function

A

L-GN

712

Left Headlamp Low Beam Supply Voltage

B

BK/WH

250

Ground

Headlamp - Low Beam - Right


Object Number: 73251  Size: CH

Connector Part Information

  • OEM: 12033701
  • Description: 2-Way F Metri-Pack 480 Series, Sealed (BK)

Headlamp - Low Beam - Right

Pin

Wire

Circuit

Function

A

PU

312

Right Headlamp Low Beam Supply Voltage

B

BK/WH

250

Ground

Headlamp Leveling Switch (TR6)


Object Number: 1468511  Size: CH

Connector Part Information

  • OEM: MOLEX 5557-06R
  • Description: 6-Way F Mini Fit Conn. Rec. Housing (WH)

Headlamp Leveling Switch (TR6)

Pin

Wire

Circuit

Function

1

0.3 BN/WH

309

Right Park Lamp Supply Voltage

2

D-GN

189

Headlamp Leveling Motor Supply Voltage

3

PU

12

Headlamp Low Beam Supply Voltage

4

D-GN

44

Instrument Panel Lamps Dimming Control

5

--

--

Not Used

6

BK

250

Ground

Headlamp Switch


Object Number: 1468422  Size: CH

Connector Part Information

  • OEM: MOLEX 5559-06P
  • Description: 6-Way Mini Fit Conn. Crimp Pin Housing (BK)

Headlamp Switch

Pin

Wire

Circuit

Function

1

BN/WH

309

Right Park Lamp Supply Voltage (w/o North America DRL)

PU

12

Headlamp Low Beam Supply Voltage (w/North America DRL)

2

GY/BK

1798

Headlamp Relay Control

3

BK

250

Ground

4

--

--

Not Used

5

YE

317

Front Fog Relay Coil Supply Voltage

6

WH

1080

Park Lamp Relay Control

Heated Oxygen Sensor 1 (HO2S1) (LDA)


Object Number: 1466979  Size: CH

Connector Part Information

  • OEM: PED 12162144
  • Description: 4-Way F Metri-Pack 150 Series Sealed (BK)

Heated Oxygen Sensor 1 (HO2S1) (LDA)

Pin

Wire

Circuit

Function

1

D-GN/RD

1665

Heated Oxygen Sensor (HO2S) 1 Low Reference

2

0.5 PK/BK

1846

Ignition 1 Voltage

3

GY

1653

Heated Oxygen Sensor (HO2S) 1 Signal

4

BN/WH

1669

Heated Oxygen Sensor (HO2S) 1 Heater Control

Heated Oxygen Sensor 1 (HO2S1) (w/o Throttle Actuator Control) (L34)


Object Number: 1466979  Size: CH

Connector Part Information

  • OEM: PED 12162144
  • Description: 4-Way F Metri-Pack 150 Series Sealed (BK)

Heated Oxygen Sensor 1 (HO2S1) (w/o Throttle Actuator Control) (L34)

Pin

Wire

Circuit

Function

1

D-GN/RD

1665

Heated Oxygen Sensor (HO2S) 1 Low Reference

2

0.5 PK/BK

1846

Ignition 1 Voltage

3

GY

1653

Heated Oxygen Sensor (HO2S) 1 Signal

4

BN/WH

1669

Heated Oxygen Sensor (HO2S) 1 Heater Control

Heated Oxygen Sensor 2 (HO2S2) (LDA)


Object Number: 1466979  Size: CH

Connector Part Information

  • OEM: AMP 174257-2
  • Description: 4-Way F 070 Series Econoseal-J MK-2 Cap Hsg 4P (BK)

Heated Oxygen Sensor 2 (HO2S2) (LDA)

Pin

Wire

Circuit

Function

1

0.5 PU

1670

Heated Oxygen Sensor (HO2S) 2 Signal

2

0.5 PK/BK

1846

Ignition 1 Voltage

3

0.5 L-GN

413

Heated Oxygen Sensor (HO2S) 2 Low Reference

4

0.5 BN/BK

1671

Heated Oxygen Sensor (HO2S) 2 Heater Control

Heated Oxygen Sensor 2 (HO2S2) (w/o Throttle Actuator Control) (L34)


Object Number: 1466979  Size: CH

Connector Part Information

  • OEM: AMP 174257-2
  • Description: 4-Way F 070 Series Econoseal-J MK-2 Cap Hsg 4P (BK)

Heated Oxygen Sensor 2 (HO2S2) (w/o Throttle Actuator Control) (L34)

Pin

Wire

Circuit

Function

1

0.5 PU

1670

Heated Oxygen Sensor (HO2S) 2 Signal

2

0.5 PK/BK

1846

Ignition 1 Voltage

3

0.5 L-GN

413

Heated Oxygen Sensor (HO2S) 2 Low Reference

4

0.5 BN/BK

1671

Heated Oxygen Sensor (HO2S) 2 Heater Control

Heated Oxygen Sensor 2 (HO2S2) (Mexico, Japan) (LDA)


Object Number: 1466979  Size: CH

Connector Part Information

  • OEM: AMP 174257-2
  • Description: 4-Way F 070 Series Econoseal-J MK-2 Cap Hsg 4P (BK)

Heated Oxygen Sensor 2 (HO2S2) (Mexico, Japan) (LDA)

Pin

Wire

Circuit

Function

1

0.5 PK/BK

1846

Ignition 1 Voltage

2

0.5 PU

1670

Heated Oxygen Sensor (HO2S) 2 Signal

3

0.5 BN/BK

1671

Heated Oxygen Sensor (HO2S) 2 Heater Control

4

0.5 L-GN

413

Heated Oxygen Sensor (HO2S) 2 Low Reference

Heated Oxygen Sensor 2 (HO2S2) (Mexico, Japan) (w/o Throttle Actuator Control) (L34)


Object Number: 1466979  Size: CH

Connector Part Information

  • OEM: AMP 174257-2
  • Description: 4-Way F 070 Series Econoseal-J MK-2 Cap Hsg 4P (BK)

Heated Oxygen Sensor 2 (HO2S2) (Mexico, Japan) (w/o Throttle Actuator Control) (L34)

Pin

Wire

Circuit

Function

1

0.5 PK/BK

1846

Ignition 1 Voltage

2

0.5 PU

1670

Heated Oxygen Sensor (HO2S) 2 Signal

3

0.5 BN/BK

1671

Heated Oxygen Sensor (HO2S) 2 Heater Control

4

0.5 L-GN

413

Heated Oxygen Sensor (HO2S) 2 Low Reference

Heated Oxygen Sensor (HO2S) 1 (L95, LXT)


Object Number: 1466979  Size: CH

Connector Part Information

  • OEM: AMP 174257-2
  • Description: 4-Way M 070 Series Econoseal J MK-2 Plug Ass'y 4P (BK)

Heated Oxygen Sensor (HO2S) 1 (L95, LXT)

Pin

Wire

Circuit

Function

1

1665 PU/WH

1665

Heated Oxygen Sensor (HO2S) 1 Low Reference

2

0.5 PK/BK

1846

Ignition 1 Voltage

3

0.5 OG/BK

469

Heated Oxygen Sensor (HO2S) 1 Heater Control

4

0.5 BN/WH

1666

Heated Oxygen Sensor (HO2S) 1 Signal

Heated Oxygen Sensor (HO2S) 1 (w/Throttle Actuator Control) (L34)


Object Number: 1466979  Size: CH

Connector Part Information

  • OEM: PED 12162144
  • Description: 4-Way F Metri-Pack 150 Series Sealed (BK)

Heated Oxygen Sensor (HO2S) 1 (w/Throttle Actuator Control) (L34)

Pin

Wire

Circuit

Function

1

0.5 D-GN/RD

1665

Heated Oxygen Sensor (HO2S) 1 Low Reference

2

0.5 PK/BK

1846

Ignition 1 Voltage

3

0.5 GY

1653

Heated Oxygen Sensor (HO2S) 1 Signal

4

0.5 BN/WH

1669

Heated Oxygen Sensor (HO2S) 1 Heater Control

Heated Oxygen Sensor (HO2S) 2 (L95, LXT)


Object Number: 1466979  Size: CH

Connector Part Information

  • OEM: AMP 174257-2
  • Description: 4-Way M 070 Series Econoseal J MK-2 Plug Ass'y 4P (BK)

Heated Oxygen Sensor (HO2S) 2 (L95, LXT)

Pin

Wire

Circuit

Function

1

0.5 PU

1670

Heated Oxygen Sensor (HO2S) 2 Low Reference

2

0.5 PK/BK

1846

Ignition 1 Voltage

3

0.5 L-GN

413

Heated Oxygen Sensor (HO2S) 2 Heater Control

4

0.5 BN/BK

1671

Heated Oxygen Sensor (HO2S) 2 Signal

Heated Oxygen Sensor (HO2S) 2 (w/Throttle Actuator Control) (L34)


Object Number: 1466979  Size: CH

Connector Part Information

  • OEM: AMP 174259-2
  • Description: 4-Way F 070 Series Econoseal-J MK-2 Cap Hsg 4P (BK)

Heated Oxygen Sensor (HO2S) 2 (w/Throttle Actuator Control) (L34)

Pin

Wire

Circuit

Function

1

0.5 PU

1670

Heated Oxygen Sensor (HO2S) 2 Signal

2

0.5 PK/BK

1846

Ignition 1 Voltage

3

0.5 L-GN

413

Low Reference

4

0.5 BN/BK

1671

Heated Oxygen Sensor (HO2S) 2 Heater Control

High Pressure Pump (LMN)


Object Number: 784092  Size: CH

Connector Part Information

  • OEM: BOSCH 1928403874
  • Description: 2-Way F Sealed

High Pressure Pump (LMN)

Pin

Wire

Circuit

Function

1

PU/WH

--

Signal

2

GN

--

Control

High Speed Blower Motor Relay (C68)


Object Number: 1497842  Size: CH

Connector Part Information

  • OEM: AK 36409
  • Description: 4-Way F (GY)

High Speed Blower Motor Relay (C68)

Pin

Wire

Circuit

Function

30

3 BK

350

Ground

85

0.5 D-BU/BK

247

High Speed Blower Relay Control

86

0.85 BN

41

Ignition 2 Voltage

87

3 PU

743

Blower Motor Speed Control

Hold Mode Switch (M98)


Object Number: 1467039  Size: CH

Connector Part Information

  • OEM: KET MG652999
  • Description: 4-Way F 040 Unsealed

Hold Mode Switch (M98)

Pin

Wire

Circuit

Function

1

GN/WH

--

Hold Mode Switch Signal

2

BN/WH

--

Illumination Supply Voltage

3

GN

--

Illumination Control

4

BK

--

Ground

Hood Ajar Switch


Object Number: 1467036  Size: CH

Connector Part Information

  • OEM: KET MG 610392
  • Description: 2-Way F SDL Series (WH)

Hood Ajar Switch

Pin

Wire

Circuit

Function

1

0.5 PK/BK

109

Hood Ajar Switch Signal

2

0.5 OG

1240

Battery Positive Voltage

Horn


Object Number: 1467089  Size: CH

Connector Part Information

  • OEM: KET MG 641156
  • Description: 2-Way F 090 WP Series (GY)

Horn

Pin

Wire

Circuit

Function

1

0.5 BK

50

Ground (Signal Horn)

0.5 BK

150

Ground (Dual Horn)

2

0.5 D-GN

29

Horn Control (Signal Horn)

0.5 BK/WH

29

Horn Control (Dual Horn)

HVAC Control Module X1 (C68)


Object Number: 1468412  Size: CH

Connector Part Information

  • OEM: MOLEX 51155-1615
  • Description: 16-Way F

HVAC Control Module X1 (C68)

Pin

Wire

Circuit

Function

1

0.5 BK

350

Ground

2

0.3 L-BU

1316

Air Temperature Door Control

3

0.3 D-GN

44

Instrument Panel Lamps Dimmer Switch Signal

4

0.3 BN/WH

309

Right Park Lamp Voltage

5

0.5 BN

41

Ignition 2 Voltage

6-7

--

--

Not Used

8

0.3 YE

1791

Low Reference

9

--

--

Not Used

10

0.5 D-BU/BK

247

High Speed Blower Relay Control

11

0.5 D-GN/WH

762

A/C Request Signal

12

0.3 WH

193

Rear Defog Relay Control

13

0.5 YE

61

Low Reference

14

0.3 OG

1140

Battery Positive Voltage

15

--

--

Not Used

16

0.3 D-GN

1910

Inside Air Temperature Sensor Signal

HVAC Control Module X2 (C68)


Object Number: 1467032  Size: CH

Connector Part Information

  • OEM: MOLEX 51155-2015
  • Description: 20-Way F

HVAC Control Module X2 (C68)

Pin

Wire

Circuit

Function

1

0.3 GY/BK

754

Blower Motor Speed Signal

2

0.5 D-GN/RD

817

Vehicle Speed Signal

3

--

--

Not Used

4

0.3 BN

1812

Low Reference

5

0.3 YE/BK

1814

Lower Mode Door Position Signal

6

0.3 BK

1199

Air Temperature Door Control

7

0.5 D-GN

95

Windshield Washer Switch Signal

8

0.5 L-GN/BK

735

Ambient Air Temperature Sensor Signal

9

0.5 GY/BK

1596

Coolant Temperature Sensor Signal

10

0.5 L-BU/BK

590

Sunload Sensor Signal

11

0.5 BK

350

Ground

12

1.25 D-BU

188

Blower Motor Resistor Assembly Supply Voltage

13

0.3 PK/WH

1648

Recirculation Door Control A

14

0.3 D-GN/BK

1647

Recirculation Door Control B

15

--

--

Not Used

16

0.3 D-GN/BK

1395

Upper Mode Valve Solenoid Control

17

0.3 PK

1396

Defrost Mode Valve Solenoid Control

18

0.3 YE/BU

1397

Lower Mode Valve Solenoid Control

19

0.3 WH/BK

1398

Mode Valve Signal

20

PK/BK

1399

Mode Valve Signal

HVAC Control Module (C60)


Object Number: 1467034  Size: CH

Connector Part Information

  • OEM: KET MG 610376
  • Description: 12-Way F PCB 040 Series (WH)

HVAC Control Module (C60)

Pin

Wire

Circuit

Function

A1

PK

239

Ignition 1 Voltage

A2

WH

193

Rear Defog Relay Control

A3

BK

1050

Ground

A4

L-GN/BK

1647

Recirculation Door Control B

A5

PK/WH

1648

Recirculation Door Control A

A6

OG

1140

Battery Positive Voltage

A7

OG

52

Blower Motor High Control

A8

D-GN/WH

762

A/C Request Signal

A9

BN/WH

309

Right Park Lamp Supply Voltage

A10

D-GN

44

Instrument Panel Lamps Dimming Control

A11-A12

--

--

Not Used

I/P Compartment Lamp


Object Number: 1467028  Size: CH

Connector Part Information

  • OEM: AK 36277
  • Description: 2-Way F SWP Series (BK)

I/P Compartment Lamp

Pin

Wire

Circuit

Function

1

PU

175

I/P Compartment Lamp Signal

2

BK

1050

Ground

I/P Compartment Lamp Switch


Object Number: 1467028  Size: CH

Connector Part Information

  • OEM: F2-14
  • Description: 2-Way F SWP Series (BK)

I/P Compartment Lamp Switch

Pin

Wire

Circuit

Function

1

OG

1540

Battery Positive Voltage (w/Rear Fog Lamps) (w/Lamp Driver Control Module)

2

PU

175

I/P Compartment Lamp Signal

I/P Dimmer Switch


Object Number: 1467010  Size: CH

Connector Part Information

  • OEM: KET MG 610045
  • Description: 3-Way F 250 Series (WH)

I/P Dimmer Switch

Pin

Wire

Circuit

Function

1

D-GN

44

Instrument Panel Lamps Dimmer Switch

2

BK

250

Ground

3

BN/WH

309

Right Park Lamp Supply Voltage

Idle Air Control (IAC) Valve (L79)


Object Number: 38608  Size: CH

Connector Part Information

  • OEM: PED 12040754
  • Description: 4-Way F Black Metri-Pack 150 Series (BK)

Idle Air Control (IAC) Valve (L79)

Pin

Wire

Circuit

Function

A

0.5 WH

444

Idle Air Control (IAC) Coil B Low Control

B

0.5 PU/WH

1749

Idle Air Control (IAC) Coil B High Control

C

0.5 YE/WH

1748

Idle Air Control (IAC) Coil A Low Control

D

0.5 BN

1747

Idle Air Control (IAC) Coil A High Control

Idle Air Control (IAC) Valve (LDA)


Object Number: 38608  Size: CH

Connector Part Information

  • OEM: PED 12040754
  • Description: 4-Way F Black Metri-Pack 150 Series (BK)

Idle Air Control (IAC) Valve (LDA)

Pin

Wire

Circuit

Function

A

0.5 WH

444

Idle Air Control (IAC) Coil B Low Control

B

0.5 PU/WH

1749

Idle Air Control (IAC) Coil B High Control

C

0.5 YE/WH

1748

Idle Air Control (IAC) Coil A Low Control

D

0.5 BN

1747

Idle Air Control (IAC) Coil A High Control

Idle Air Control (IAC) Valve (w/o Throttle Actuator Control) (L34)


Object Number: 38608  Size: CH

Connector Part Information

  • OEM: PED 12040754
  • Description: 4-Way F Black Metri-Pack 150 Series (BK)

Idle Air Control (IAC) Valve (w/o Throttle Actuator Control) (L34)

Pin

Wire

Circuit

Function

A

0.5 WH

444

Idle Air Control (IAC) Coil B Low Control

B

0.5 PU/WH

1749

Idle Air Control (IAC) Coil B High Control

C

0.5 YE/WH

1748

Idle Air Control (IAC) Coil A Low Control

D

0.5 BN

1747

Idle Air Control (IAC) Coil A High Control

Ignition Coil (IC) Module (L79)


Object Number: 516611  Size: CH

Connector Part Information

  • OEM: PED 12059595
  • Description: 3-Way F Metri-Pack 150 Series Sealed (BK)

Ignition Coil (IC) Module (L79)

Pin

Wire

Circuit

Function

A

0.5 L-BU

406

Ignition Coil (IC) Timing Control (1 and 4)

B

0.5 PK

739

Ignition 1 Voltage

C

0.5 D-GN/WH

423

Ignition Coil (IC) Timing Control (2 and 3)

Ignition Coil (IC) Module (LDA)


Object Number: 516611  Size: CH

Connector Part Information

  • OEM: PED 12059595
  • Description: 3-Way F Metri-Pack 150 Series Sealed (BK)

Ignition Coil (IC) Module (LDA)

Pin

Wire

Circuit

Function

A

L-BU

406

Ignition Coil (IC) Timing Control (1 and 4)

B

PK

739

Ignition 1 Voltage

C

D-GN/WH

423

Ignition Coil (IC) Timing Control (2 and 3)

Ignition Coil (IC) Module (w/Throttle Actuator Control) (L34)


Object Number: 516611  Size: CH

Connector Part Information

  • OEM: PED 12059595
  • Description: 3-Way F Metri-Pack 150 Series Sealed (BK)

Ignition Coil (IC) Module (w/Throttle Actuator Control) (L34)

Pin

Wire

Circuit

Function

A

0.5 L-BU

406

Ignition Coil Control (1 and 4)

B

0.5 PK/BK

739

Ignition 1 Voltage

C

0.5 D-GN/WH

423

Ignition Coil Control (2 and 3)

Ignition Coil (IC) Module (w/o Throttle Actuator Control) (L34)


Object Number: 516611  Size: CH

Connector Part Information

  • OEM: PED 12059595
  • Description: 3-Way F Metri-Pack 150 Series Sealed (BK)

Ignition Coil (IC) Module (w/o Throttle Actuator Control) (L34)

Pin

Wire

Circuit

Function

A

0.5 L-BU

406

Ignition Coil (IC) Timing Control (1 and 4)

B

0.5 PK

739

Ignition 1 Voltage

C

0.5 D-GN/WH

423

Ignition Coil (IC) Timing Control (2 and 3)

Ignition Coil Module (1 and 4) (L95, LXT)


Object Number: 1467100  Size: CH

Connector Part Information

  • OEM: KET MG 641789-4
  • Description: 2-Way F 090-II WP Series

Ignition Coil Module (1 and 4) (L95, LXT)

Pin

Wire

Circuit

Function

1

0.85 OG

406

Ignition Coil Control (1 and 4)

2

0.85 PK

739

Ignition 1 Voltage

Ignition Coil Module (2 and 3) (L95, LXT)


Object Number: 1467099  Size: CH

Connector Part Information

  • OEM: KET MG 641637-5
  • Description: 2-Way F 090-II WP Series (BK)

Ignition Coil Module (2 and 3) (L95, LXT)

Pin

Wire

Circuit

Function

1

0.85 WH

423

Ignition Coil Control (2 and 3)

2

0.85 PK

739

Ignition 1 Voltage

Ignition Lock Cylinder Control Actuator (North America)


Object Number: 1467036  Size: CH

Connector Part Information

  • OEM: KET MG 610392
  • Description: 2-Way F SDL Series (WH)

Ignition Lock Cylinder Control Actuator (North America)

Pin

Wire

Circuit

Function

1

0.5 YE

1075

Ignition Lock Cylinder Actuator Control

0.5 OG (North America)

2

0.5 YE

43

Accessory Voltage

0.5 D-GN/WH (North America)

Ignition Key Alarm Switch


Object Number: 1467020  Size: CH

Connector Part Information

  • OEM: KET MG 610070
  • Description: 2-Way 090 (2.3 mm) Series (WH)

Ignition Key Alarm Switch

Pin

Wire

Circuit

Function

1

OG

640

Battery Positive Voltage

OG

640

Battery Positive Voltage

2

L-GN

80

Key In Ignition Switch Signal

L-GN

80

Key In Ignition Switch Signal

Ignition Key Alarm Switch


Object Number: 1467020  Size: CH

Connector Part Information

  • OEM: KET MG 610070
  • Description: 2-Way 090 (2.3 mm) Series (WH)

Ignition Key Alarm Switch

Pin

Wire

Circuit

Function

1

OG

640

Battery Positive Voltage

OG

640

Battery Positive Voltage

2

L-GN

80

Key In Ignition Switch Signal

L-GN

80

Key In Ignition Switch Signal

Ignition Key Cylinder Lamp


Object Number: 1467026  Size: CH

Connector Part Information

  • OEM: KET MG 610207
  • Description: 2-Way F 118 (PA) Series (WH)

Ignition Key Cylinder Lamp

Pin

Wire

Circuit

Function

1

OG

640

Battery Positive Voltage

2

D-GN/WH

900

Key Cylinder Lamp Control

Ignition Switch


Object Number: 1467106  Size: CH

Connector Part Information

  • OEM: KET MG 650887
  • Description: 6-Way F 250 III Series (WH)

Ignition Switch

Pin

Wire

Circuit

Function

1

OG

300

Ignition 3 Voltage

2

RD

642

Battery Positive Voltage

3

D-BU

5

Crank Voltage

4

PK

3

Ignition 1 Voltage

5

RD

1642

Battery Positive Voltage

6

BN

4

Accessory Voltage

Immobilizer


Object Number: 1480213  Size: CH

Connector Part Information

  • OEM: MOLEX 35508-0700
  • Description: 7-Way F Wire-to-Board Housing

Immobilizer

Pin

Wire

Circuit

Function

1

0.5 PK

639

Ignition 1 Voltage

2

0.5 OG

240

Battery Positive Voltage

3

--

--

Not Used

4

0.5 BK

1050

Ground

5

0.5 PU

2000

Serial Data

6

0.5 PU

800

Serial Data

7

0.5 YE

749

Theft Deterrent Control Unit Signal

Inflatable Restraint Front End Discriminating Sensor


Object Number: 1500894  Size: CH

Connector Part Information

  • OEM: YAZAKI 7283-6507-70
  • Description: 2-Way F Connector (YE)

Inflatable Restraint Front End Discriminating Sensor

Pin

Wire

Circuit

Function

1

0.5 L-GN/RD

2106

Front End Sensor - Left Signal

0.5 D-GN/WH

2104

Front End Sensor - Right Signal

2

0.5 BN/BK

2105

Front End Sensor - Left Voltage

0.5 PU

2103

Front End Sensor - Right Signal

Inflatable Restraint Front Passenger Presence Sensor


Object Number: 810084  Size: CH

Connector Part Information

  • OEM: AMP 1-0967640-1
  • Description: 4-Way F Connector (BK)

Inflatable Restraint Front Passenger Presence Sensor

Pin

Wire

Circuit

Function

1

0.5 PK

939

Ignition 1 Voltage

2

0.5 YE/WH

1415

Communication

3

0.5 BK

252

Ground

BK/WH (North America)

4

--

--

Not Used

Inflatable Restraint I/P Module (Single Stage) (L95, LXT, LDA, L79)


Object Number: 1481288  Size: CH

Connector Part Information

  • OEM: FCI60201704
  • Description: 2-Way Connector (YE)

Inflatable Restraint I/P Module (Single Stage) (L95, LXT, LDA, L79)

Pin

Wire

Circuit

Function

1

0.5 BK/D-BU

1403

I/P Module - High Control (LHD)

0.5WH/BK

I/P Module - High Control (RHD)

2

0.5 OG/D-BU

1404

I/P Module - Low Control (LHD)

0.5 D-GN/WH

I/P Module - Low Control (RHD)

Inflatable Restraint I/P Module (Dual Stage) (L34)


Object Number: 1500895  Size: CH

Connector Part Information

  • OEM: FCI54550400
  • Description: 4-Way F Connector (YE)

Inflatable Restraint I/P Module (Dual Stage) (L34)

Pin

Wire

Circuit

Function

1

0.5 OG/D-BU

1404

IP Module - Low Control

2

0.5 BK/D-BU

1403

IP Module - High Control

3

0.5 D-GN/D-BU

1411

IP - Stage 2 - High Control

4

0.5 BK/D-GN

1412

IP Module - Stage 2 - Low Control

Inflatable Restraint Sensing and Diagnostic Module (SDM) (Except North America)


Object Number: 1466994  Size: CH

Connector Part Information

  • OEM: AMP 368233-1
  • Description: 50-Way Air Bag 50P Plug Ass'y (BK)

Inflatable Restraint Sensing and Diagnostic Module (SDM) (Except North America)

Pin

Wire

Circuit

Function

1

0.5 PK/BK

1186

Seat Belt Pretensioner - Passenger High Control

2

0.5 D-BU/WH

1187

Seat Belt Pretensioner - Passenger Low Control

3

0.5 PK

1184

Seat Belt Pretensioner - Driver Low Control

4

0.5 D-BU

1185

Seat Belt Pretensioner - Driver High Control

5

0.5 YE

1139

Ignition 1 Voltage

6

0.5 BK/WH

251

Ground

7

0.5 D-GN

358

Air Bag Indicator Control

8

--

--

Not Used

9

0.5 L-BU

327

Serial Data

10

0.5 BN

347

Steering Wheel Module - Low Control

11

0.5 BU

348

Steering Wheel Module - Low Control

12

0.5 BN/WH

238

Seat Belt Switch - Left

13

0.5 BK/D-BU

1403

I/P Module - High Control (LHD)

0.5 WH/BK

I/P Module - High Control (RHD)

14

0.5 OG/D-BU

1404

I/P Module - Low Control (LHD)

0.5 D-GN/WH

I/P Module - Low Control (RHD)

15

--

--

Not Used

16

0.5 WH/YE

1180

Side Impact Module - Right - Low Control

17

0.5 D-GN/YE

1181

Side Impact Module - Right - High Control

18

0.5 D-GN/D-BU

1183

Side Impact Module - Driver High Control

19

0.5 WH/D-BU

1182

Side Impact Module - Driver Low Control

20

0.5 RD/YE

753

Side Impact Sensor - Driver - Voltage (LHD)

0.5 PK/WH

714

Side Impact Sensor - Passenger Voltage (RHD)

21

0.5 PK/WH

714

Side Impact Sensor - Passenger Voltage (LHD)

0.5 RD/YE

753

Side Impact Sensor - Driver Voltage (RHD)

22-44

--

--

Not Used

45

0.5 BK

754

Side Impact Sensor - Driver Signal (LHD)

BN/WH

715

Side Impact Sensor - Passenger Signal (RHD)

46

0.5 BN/WH

715

Side Impact Sensor - Passenger Signal (LHD)

BK

754

Side Impact Sensor - Driver Signal (RHD)

47-50

--

--

Not Used

Inflatable Restraint Sensing and Diagnostic Module (SDM) (North America)


Object Number: 1500891  Size: CH

Connector Part Information

  • OEM: AMP 0-1393359-2
  • Description: 75-Way F Connector (OG)

Inflatable Restraint Sensing and Diagnostic Module (SDM) (North America)

Pin

Wire

Circuit

Function

1

--

--

Not Used

2-25

--

--

Not Used (Shorting Bar)

26

0.5 YE

1139

Ignition 1 Voltage

27

0.5 D-GN

358

Air Bag Indicator Control

28

0.5 BK/WH

251

Ground

29

0.5 D-BU

348

Steering Wheel Module - Low Control

30

0.5 BN

347

Steering Wheel Module - High Control

31

0.5 BK/D-BU

1403

I/P Module - High Control

32

0.5 OG/D-BU

1404

I/P Module - Low Control

33

0.5 D-BU

1185

Seat Belt Pretensioner - Driver - High Control

34

0.5 PK

1184

Seat Belt Pretensioner - Driver - Low Control

35

0.5 PK/BK

1186

Seat Belt Pretensioner - Passenger - High Control

36

0.5 D-BU/WH

1187

Seat Belt Pretensioner - Passenger - Low Control

37

0.5 D-BU/WH

1182

Side Impact Module - Driver High Control

38

0.5 D-GN/D-BU

1183

Side Impact Module - Driver Low Control

39

0.5 D-GN/YE

1181

Side Impact Module - Passenger Low Control

40

0.5 WH/YE

1180

Side Impact Module - Passenger High Control

41

0.5 YE

1409

Steering Wheel Module - High Control

42

0.5 YE/BK

1410

Steering Wheel Module - High Control

43

0.5 D-GN/D-BU

1411

IP Module - Stage 2 - High Control

44

0.5 BK/D-GN

1412

IP Module - Stage 2 - Low Control

45-53

--

--

Not Used

54

0.5 L-BU

327

Serial Data

55

--

--

Not Used

56

0.5 D-GN/WH

1358

Driver Information Center (DIC) Switch Signal

57-60

--

--

Not Used

61

0.5 BN/WH

238

Seat Belt Switch - Left

62-63

--

--

Not Used

64

0.5 YE/WH

1415

Communication

65-67

--

--

Not Used

68

0.5 BN/WH

715

Side Impact Sensor - Passenger Signal

69

0.5 PK/WH

714

Side Impact Sensor - Passenger Voltage

70

0.5 RD/YE

753

Side Impact Sensor - Driver Voltage

71

0.5 BK

754

Side Impact Sensor - Driver Signal

72

0.5 D-GN/WH

2104

Discriminating Sensor - Right - Signal

73

0.5 PU

2103

Discriminating Sensor - Right - Signal

74

0.5 BN/BK

2105

Discriminating Sensor - Left - Signal

75

0.5 L-GN/RD

2106

Discriminating Sensor - Left - Signal

Inflatable Restraint Side Impact Module (AJ7)


Object Number: 1481288  Size: CH

Connector Part Information

  • OEM: Yazaki 7C83-5524-70
  • Description: 2-Way Connector (YE)

Inflatable Restraint Side Impact Module (AJ7)

Pin

Wire

Circuit

Function

1

0.5 WH/D-BU

1182

Side Impact Module - Driver Low Control

WH/YE

1180

Side Impact Module - Passenger Low Control

2

D-GN/D-BU

1183

Side Impact Module - Driver High Control

0.5 D-GN/YE

1181

Side Impact Module - Passenger High Control

Inflatable Restraint Side Impact Sensor (AJ7)


Object Number: 1481290  Size: CH

Connector Part Information

  • OEM: V23540-M5602-Y120
  • Description: 2-Way

Inflatable Restraint Side Impact Sensor (AJ7)

Pin

Wire

Circuit

Function

1

BK/WH

754

Side Impact Sensor - Driver Signal

BN/WH

715

Side Impact Sensor - Passenger Signal

2

0.5 PK

753

Side Impact Sensor - Driver Voltage

0.5 PK/WH

714

Side Impact Sensor - Passenger Voltage

Inflatable Restraint Steering Wheel Module (Single Stage) (L95, LXT, LDA, L79)


Object Number: 130675  Size: CH

Connector Part Information

  • OEM: PED 12162794
  • Description: 2-Way M Metri-Pack 280 Series, Unsealed (YE)

Inflatable Restraint Steering Wheel Module (Single Stage) (L95, LXT, LDA, L79)

Pin

Wire

Circuit

Function

1

D-BU

348

Steering Wheel Module - Low Control

2

BN

347

Steering Wheel Module - High Control

Inflatable Restraint Steering Wheel Module (Dual Stage) (L34)


Object Number: 1500895  Size: CH

Connector Part Information

  • OEM: FC I54550400
  • Description: 4-Way Connector (YE)

Inflatable Restraint Steering Wheel Module (Dual Stage) (L34)

Pin

Wire

Circuit

Function

1

YE/BK

1410

Trailer ABS Failure Indicator Control

2

YE

1409

Discriminating Sensor - Right Signal

3

BN

347

Steering Wheel Module - High Control

4

D-BU

348

Steering Wheel Module - Low Control

Inflatable Restraint Steering Wheel Module C1 (North America)


Object Number: 966373  Size: CH

Connector Part Information

  • OEM: 54550267
  • Description: 2-Way F ABX-3 Code B (WH)

Inflatable Restraint Steering Wheel Module C1 (North America)

Pin

Wire

Circuit

Function

A

BN

347

Steering Wheel Module - High Control

B

D-GN/WH

348

Steering Wheel Module - Low Control

Inflatable Restraint Steering Wheel Module C2 (North America)


Object Number: 966373  Size: CH

Connector Part Information

  • OEM: 54550271
  • Description: 2-Way F ABX-3 Code G (BK)

Inflatable Restraint Steering Wheel Module C2 (North America)

Pin

Wire

Circuit

Function

A

L-BU/RD

1410

Steering Wheel Module - High Control

B

BK/WH

1409

Steering Wheel Module - Low Control

Inflatable Restraint Steering Wheel Module Coil


Object Number: 1265340  Size: CH

Connector Part Information

  • OEM: KET MG 641032
  • Description: 3-Way

Inflatable Restraint Steering Wheel Module Coil

Pin

Wire

Circuit

Function

1

D-BU

1796

Radio Control Steering Column Signal

2

BK/WH

372

Remote Radio Return Audio

3

BK

28

Horn Relay Control

Inflatable Restraint Steering Wheel Module Coil - C1 (Single Stage) (L95, LXT, LDA, L79)


Object Number: 130675  Size: CH

Connector Part Information

  • OEM: PED 12162794
  • Description: 2-Way M Metri-Pack 280 Series, Unsealed (YE)

Inflatable Restraint Steering Wheel Module Coil - C1 (Single Stage) (L95, LXT, LDA, L79)

Pin

Wire

Circuit

Function

1

D-BU

348

Steering Wheel Module - Low Control

2

BN

347

Steering Wheel Module - High Control

Inflatable Restraint Steering Wheel Module Coil - C1 (Dual Stage) (L34)


Object Number: 1500895  Size: CH

Connector Part Information

  • OEM: FC 154550400
  • Description: 4-Way F Connector (YE)

Inflatable Restraint Steering Wheel Module Coil - C1 (Dual Stage) (L34)

Pin

Wire

Circuit

Function

1

YE/BK

1410

Steering Wheel Module - High Control

2

YE

1409

Steering Wheel Module - High Control

3

BN

347

Steering Wheel Module - High Control

4

D-BU

348

Steering Wheel Module - Low Control

Inflatable Restraint Steering Wheel Module Coil - C2 (w/Cruise)


Object Number: 1467119  Size: CH

Connector Part Information

  • OEM: KET MG 651050
  • Description: 8-Way F 090-II Series (WH)

Inflatable Restraint Steering Wheel Module Coil - C2 (w/Cruise)

Pin

Wire

Circuit

Function

1

D-BU

1796

Radio Control - Steering Column Signal

2

BK/WH

372

Remote Radio Return - Audio

3

BK

28

Horn Relay Control

4

GY

397

Cruise Control Switch Signal

5

GY/BK

87

Cruise Control Release Signal

6

D-BU

84

Cruise Control SET/Coast Switch Signal

7

OG

1540

Battery Positive Voltage

8

--

--

Not Used

Inflatable Restraint Steering Wheel Module Coil - C2 (w/o Cruise)


Object Number: 1467029  Size: CH

Connector Part Information

  • OEM: KET MG 641032
  • Description: 3-Way F

Inflatable Restraint Steering Wheel Module Coil - C2 (w/o Cruise)

Pin

Wire

Circuit

Function

1

D-BU

1796

Radio Control - Steering Column Signal

2

BK/WH

372

Remote Radio Return - Audio

3

BK

28

Horn Relay Control

Input Shaft Speed (ISS) Sensor (MLQ)


Object Number: 1481270  Size: CH

Connector Part Information

  • OEM: YAZAKI 7283-8125-90
  • Description: 2-Way F Connector (GN)

Input Shaft Speed (ISS) Sensor (MLQ)

Pin

Wire

Circuit

Function

1

0.5 YE/BK

1297

Input Shaft Speed Sensor Low Signal

2

0.5 D-BU/WH

1296

Input Shaft Speed Sensor High Signal

Input Speed Sensor (M98)


Object Number: 1481270  Size: CH

Connector Part Information

  • OEM: YZK 7283-8125-30
  • Description: 2-Way F 090II Type Sealed

Input Speed Sensor (M98)

Pin

Wire

Circuit

Function

1

BU/WH

--

Input Shaft Speed Sensor Low

2

YE/BK

--

Input Shaft Speed Sensor High

Inside Air Temperature (C68)


Object Number: 1468403  Size: CH

Connector Part Information

  • OEM: KET MG 620074
  • Description: 2-Way M 090 Connector (2.3 mm)

Inside Air Temperature (C68)

Pin

Wire

Circuit

Function

1

0.3 D-GN

1910

Inside Air Temperature Sensor Signal

2

0.5 YE

61

Low Reference

Instrument Cluster X1


Object Number: 1467134  Size: CH

Connector Part Information

  • OEM: KET MG 651563
  • Description: 23-Way F PCB 050 Series (WH)

Instrument Cluster X1

Pin

Wire

Circuit

Function

1

0.5 PU/WH

33

Brake Warning Indicator Control

2

0.5 BN

25

Charge Indicator Control/Charge Indicator Signal

3

0.5 YE

1481

Hold Mode Indicator Control

4

0.5 BN

956

Speed Sensitive Power Steering (SSPS) Warning Lamp Control

5

0.5 D-BU

744

Trunk Open Signal (Optional)

6

--

--

Not Used

7

0.3 PU/WH

821

Engine Overspeed Indicator Control

8-9

--

--

Not Used

10

0.5 BK

250

Ground

11

0.3 BK/WH

238

Seat Belt Switch - Left

12

0.5 WH

156

Courtesy Lamp Control

13

0.3 L-GN

867

ABS Indicator Failure Control

14

0.5 WH

905

Traction Control Warning

15

0.5 BN/WH

1084

Tire Pressure Monitoring System

16

0.5 L-BU

--

Glow Plug Indicator (Diesel)

--

--

Not Used (Gasoline)

17

0.5 L-BU

14

Left Turn Signal Lamps Supply Voltage

18

0.3 OG

640

Battery Positive Voltage

19

0.5 PK

239

Ignition 1 Voltage

20

--

--

Not Used (Gasoline)

L-BU

--

Change Oil Soon Indicator (Diesel)

21

--

--

Not Used (Gasoline)

0.5 PU

--

Fuel Warning Signal (Diesel)

22

0.3 BN/WH

309

Right Park Lamp Supply Voltage

23

0.3 D-GN

44

Instrument Panel Lamps Dimmer Switch Signal

Instrument Cluster X2


Object Number: 1467032  Size: CH

Connector Part Information

  • OEM: KET MG 610363
  • Description: 20-Way F PCB 040 Series (WH)

Instrument Cluster X2

Pin

Wire

Circuit

Function

1

0.5 BK

250

Ground

2

0.3 D-GN

135

Engine Coolant Temperature (ECT) Sensor Gage Signal

0.3 L-GN/BK

135

Engine Coolant Temperature (ECT) Sensor Gage Signal (Diesel)

3

0.5 WH

30

Fuel Level Sensor Signal

0.5 PU/BK

632

Low Reference (Diesel)

4

0.5 GY

121

Engine Speed Signal

5

0.5 D-GN/WH

817

Vehicle Speed Sensor (VSS) Signal

6

0.5 BN/WH

419

Malfunction Indicator Lamp (MIL) Control

7

0.5 BN

358

Air Bag Indicator Control

8

0.5 PU/WH (2.0L)

231

Oil Pressure Indicator Control

0.5 PU/BK

9

0.5 L-GN

11

Headlamp High Beam Supply Voltage

10

0.5 WH

85

Cruise Control Engage Signal (w/Cruise Control)

11

0.5 D-BU

15

Right Turn Signal Lamps Supply Voltage

12

--

--

Not Used (Gasoline)

0.5 BU

1936

Low Fuel Signal (Diesel)

13

--

--

Not Used (Gasoline)

0.5 YE/BK

3070

Diesel Particulate Filter Indicator (Diesel)

14

0.5 PU

172

Low Fuel Indicator Control

15

0.5 PK

239

Ignition 1 Voltage (Gasoline)

0.5 GY/BK

3067

Coolant Temperature Indicator (Diesel)

16

--

--

Not Used (Gasoline)

0.5 BN/WH

3058

Water In Fuel Indicator (Diesel)

17

0.5 BN

27

Hazard Flasher Signal (Optional)

18

0.5 WH

629

DRL Indicator Control (w/DRL)

19

0.5 YE

317

Fog Lamp Relay Coil Supply Voltage

20

0.5 RD

122

Rear Fog Lamp Supply Voltage (w/Rear Fog Lamps)

Instrument Cluster X3


Object Number: 1467054  Size: CH

Connector Part Information

  • OEM: KET MG 610896
  • Description: 8-Way F PCB Connector SDL-II PCB Hsg (WH)

Instrument Cluster X3

Pin

Wire

Circuit

Function

1-2

--

--

Not Used

3

0.5 D-BU/RD

3010

Park/Neutral Position (PNP) Switch L1 Signal

4

0.5 GY

2380

Park/Neutral Position (PNP) Switch Low Gear Signal

--

--

Not Used (North America)

5

0.5 D-GN

2384

Park/Neutral Position (PNP) Switch 2nd Gear Signal

--

--

Not Used (North America)

6

0.5 L-GN/BK

3013

Park/Neutral Position (PNP) Switch L4 Signal

7

0.5 L-GN/RD

3012

Park/Neutral Position (PNP) Switch L3 Signal

8

0.5 L-GN/RD

3011

Park/Neutral Position (PNP) Switch L2 Signal

Intake Air Temperature (IAT) Sensor (L95, LXT)


Object Number: 1467003  Size: CH

Connector Part Information

  • OEM: AMP 85202-1
  • Description: 2-Way F JR Power Timer 2P Hsg Ass'y (BK)

Intake Air Temperature (IAT) Sensor (L95, LXT)

Pin

Wire

Circuit

Function

1

0.5 BN

472

Intake Air Temperature (IAT) Sensor Signal

2

0.5 OG/BK

469

Low Reference

Intake Air Temperature (IAT) Sensor (L79)


Object Number: 1467003  Size: CH

Connector Part Information

  • OEM: AMP 85202-1
  • Description: 2-Way JR Power Timer 2P Hsg Ass'y (BK)

Intake Air Temperature (IAT) Sensor (L79)

Pin

Wire

Circuit

Function

1

0.5 BK/YE

808

Low Reference

2

0.5 BN

472

Intake Air Temperature (IAT) Sensor Signal

Intake Air Temperature (IAT) Sensor (LDA)


Object Number: 1467003  Size: CH

Connector Part Information

  • OEM: AMP 85202-1
  • Description: 2-Way JR Power Timer 2P Hsg Ass'y (BK)

Intake Air Temperature (IAT) Sensor (LDA)

Pin

Wire

Circuit

Function

1

0.5 BK

808

Low Reference

2

0.5 GY (BN)

472

Intake Air Temperature (IAT) Sensor Signal

Intake Air Temperature (IAT) Sensor (w/Throttle Actuator Control) (L34)


Object Number: 1467003  Size: CH

Connector Part Information

  • OEM: AMP 85202-1
  • Description: 2-Way JR Power Timer 2P Hsg Assembly (BK)

Intake Air Temperature (IAT) Sensor (w/Throttle Actuator Control) (L34)

Pin

Wire

Circuit

Function

1

0.5 BK

808

Low Reference

2

0.5 GY

472

Intake Air Temperature (IAT) Sensor Signal

Intake Air Temperature (IAT) Sensor (w/o Throttle Actuator Control) (L34)


Object Number: 1467003  Size: CH

Connector Part Information

  • OEM: AMP 85202-1
  • Description: 2-Way JR Power Timer 2P Hsg Ass'y (BK)

Intake Air Temperature (IAT) Sensor (w/o Throttle Actuator Control) (L34)

Pin

Wire

Circuit

Function

1

0.5 BK

808

Low Reference

2

0.5 GY (BN)

472

Intake Air Temperature (IAT) Sensor Signal

Intake Manifold Tuning Valve (L95, LXT)


Object Number: 1466982  Size: CH

Connector Part Information

  • OEM: AMP 174352-2
  • Description: 2-Way M Econoseal J Mark II + Connector Plug Housing (BK)

Intake Manifold Tuning Valve (L95, LXT)

Pin

Wire

Circuit

Function

1

0.5 WH/BK

962

Intake Manifold Tuning Valve Solenoid Control

2

0.5 PK/BU

539

Ignition 1 Voltage

Intake Manifold Tuning Valve Solenoid (L79)


Object Number: 1466982  Size: CH

Connector Part Information

  • OEM: AMP 174352-2
  • Description: 2-Way M Econoseal J Mark II + Connector Plug Housing (BK)

Intake Manifold Tuning Valve Solenoid (L79)

Pin

Wire

Circuit

Function

1

WH/BK

962

Intake Manifold Tuning Valve Solenoid Control

2

PK/D-BU

539

Ignition 1 Voltage

Intake Manifold Tuning Valve Solenoid (LDA)


Object Number: 1466982  Size: CH

Connector Part Information

  • OEM: AMP 174352-2
  • Description: 2-Way M Econoseal J Mark II + Connector Plug Housing (BK)

Intake Manifold Tuning Valve Solenoid (LDA)

Pin

Wire

Circuit

Function

1

WH/BK

962

Intake Manifold Tuning Valve Solenoid Control

2

0.5 PK/D-BU

539

Ignition 1 Voltage

Intake Manifold Tuning Valve Solenoid (w/o Throttle Actuator Control) (L34)


Object Number: 1466982  Size: CH

Connector Part Information

  • OEM: AMP 174352-2
  • Description: 2-Way M Econoseal J Mark II + Connector Plug Housing (BK)

Intake Manifold Tuning Valve Solenoid (w/o Throttle Actuator Control) (L34)

Pin

Wire

Circuit

Function

1

WH/BK

962

Intake Manifold Tuning Valve Solenoid Control

2

0.5 PK/D-BU

539

Ignition 1 Voltage

Key Interlock Module (Except North America)


Object Number: 1333956  Size: CH

Connector Part Information

  • OEM: AK 36905
  • Description: 9-Way F Relay (BK)

Key Interlock Module (Except North America)

Pin

Wire

Circuit

Function

1

--

--

Not Used

2

YE

1075

Park Neutral Position (PNP) Switch Signal

3

--

--

Not Used

4

BK

250

Ground

5

D-GN

286

Shift Lock Control Solenoid Control

6

L-GN

275

Park Neutral Position (PNP) Switch Signal

7

OG/BK

434

Park Neutral Position (PNP) Switch Signal

8

L-BU

20

Stop Lamp Switch Signal

9

YE

434

Park Neutral Position (PNP) Switch Signal

Key Interlock Module (North America)


Object Number: 1333956  Size: CH

Connector Part Information

  • OEM: AK 36915
  • Description: 9-Way F Relay (BK)

Key Interlock Module (North America)

Pin

Wire

Circuit

Function

1

--

--

Not Used

2

0.5 YE

43

Accessory Voltage

3

--

--

Not Used

4

0.5 D-GN

286

Shift Lock Control solenoid Control

5

0.5 YE

1075

Ignition Lock Cylinder Actuator Control

6

0.5 BK

250

Ground

7

0.5 L-BU

20

Stop Lamp Switch Signal

8

0.5 L-GN

275

Park Neutral Position (PNP) Switch Signal

9

--

--

Not Used

Knock Sensor (KS) (L95, LXT)


Object Number: 1466993  Size: CH

Connector Part Information

  • OEM: AMP 368215-1
  • Description: 3-Way F JPT 3P Ass'y for Knock Sensor (GY)

Knock Sensor (KS) (L95, LXT)

Pin

Wire

Circuit

Function

1

0.5 YE/BK

496

Knock Sensor (KS) Signal

2

0.5 D-BU/WH

1876

Low Reference

3

0.5 BK/WH

51

Ground

Knock Sensor (KS) (L79)


Object Number: 1466993  Size: CH

Connector Part Information

  • OEM: AMP 368215-1
  • Description: 3-Way JPT 3P Ass'y for Knock Sensor

Knock Sensor (KS) (L79)

Pin

Wire

Circuit

Function

1

0.5 YE/BK

496

Knock Sensor (KS) Signal

2

0.5 D-BU/WH

808

Low Reference

3

0.5 BK/WH

51

Ground

Knock Sensor (KS) (LDA)


Object Number: 1466993  Size: CH

Connector Part Information

  • OEM: AMP 368215-1
  • Description: 3-Way JPT 3P Ass'y for Knock Sensor

Knock Sensor (KS) (LDA)

Pin

Wire

Circuit

Function

1

0.5 YE/BK

496

Knock Sensor (KS) Signal

2

0.5 D-BU/WH

808

Low Reference

3

0.5 BK/WH

51

Ground

Knock Sensor (KS) (w/Throttle Actuator Control) (L34)


Object Number: 1467003  Size: CH

Connector Part Information

  • OEM: AMP 368215-1
  • Description: 3-Way F JPT 3P Assembly for Knock Sensor (GY)

Knock Sensor (KS) (w/Throttle Actuator Control) (L34)

Pin

Wire

Circuit

Function

1

0.5 YE/BK

496

Knock Sensor (KS) Signal

2

0.5 D-BU/WH

808

Low Reference

Knock Sensor (KS) (w/o Throttle Actuator Control) (L34)


Object Number: 1466993  Size: CH

Connector Part Information

  • OEM: AMP 368215-1
  • Description: 3-Way JPT 3P Ass'y for Knock Sensor

Knock Sensor (KS) (w/o Throttle Actuator Control) (L34)

Pin

Wire

Circuit

Function

1

0.5 YE/BK

496

Knock Sensor (KS) Signal

2

0.5 D-BU/WH

808

Low Reference

3

0.5 BK/WH

51

Ground

Lamp Control Module


Object Number: 1467119  Size: CH

Connector Part Information

  • OEM: KET MG 651050
  • Description: 8-Way F 090-II Series (WH)

Lamp Control Module

Pin

Wire

Circuit

Function

1

--

--

Not Used

2

WH

1080

Park Lamp Relay Control

3

WH

1080

Park Lamp Relay Control

4

OG

1540

Battery Positive Voltage

5

BK

1050

Ground

6

PU

126

Left Front Door Open Switch Signal

7

L-GN

80

Key in Ignition Switch Signal

8

--

--

Not Used

Lamp Driver Module


Object Number: 1883721  Size: CH

Connector Part Information

  • OEM: AK 36636
  • Description: 6-Way M

Lamp Driver Module

Pin

Wire

Circuit

Function

A

PU/WH

33

Park Brake Indicator Control

B

BN

739

Ignition 1 Voltage

C

L-GN/BK

867

ABS Warning Lamp

D

BK

1150

Ground

E

GY

875

ABS Indicator Control

F

GY/BK

2147

Brake Oil Pressure Switch

License Plate Lamp - Left


Object Number: 744036  Size: CH

Connector Part Information

  • OEM: 12110053
  • Description: 2-Way F Lamp Socket Wedge Base W2 (L-GY)

License Plate Lamp - Left

Pin

Wire

Circuit

Function

A

BK (North America)

709

Left Park Lamp Supply Voltage

PU

B

WH (North America)

550

Ground

BK

1250

Ground

License Plate Lamp - Right


Object Number: 744036  Size: CH

Connector Part Information

  • OEM: 12110053
  • Description: 2-Way F Lamp Socket Wedge Base W2 (L-GY)

License Plate Lamp - Right

Pin

Wire

Circuit

Function

A

BK (North America)

709

Left Park Lamp Supply Voltage

PU

B

WH (North America)

550

Ground

BK

1250

Ground

Manifold Absolute Pressure (MAP) Sensor (L95, LXT)


Object Number: 684840  Size: CH

Connector Part Information

  • OEM: PED 12129946
  • Description: 3-Way F Metri-Pack 150 Series Sealed (GY)

Manifold Absolute Pressure (MAP) Sensor (L95, LXT)

Pin

Wire

Circuit

Function

A

0.5 OG/BK

469

Low Reference

B

0.5 L-GN

432

Manifold Absolute Pressure (MAP) Sensor Signal

C

0.5 L-BU/BK

1688

5-Volt Reference

Manifold Absolute Pressure (MAP) Sensor (L79)


Object Number: 516611  Size: CH

Connector Part Information

  • OEM: 12059595
  • Description: 3-Way F Metri-Pack 150 Series, Sealed (BK)

Manifold Absolute Pressure (MAP) Sensor (L79)

Pin

Wire

Circuit

Function

A

0.5 OG/BK

469

Low Reference

B

0.5 L-GN

432

Manifold Absolute Pressure (MAP) Sensor Signal

C

0.5 L-BU/BK

1688

5-Volt Reference

Manifold Absolute Pressure (MAP) Sensor (LDA)


Object Number: 1467076  Size: CH

Connector Part Information

  • OEM: AMP 174359-2
  • Description: 3-Way F 070 Series Econoseal Mark-2 Cap 3P (BK)

Manifold Absolute Pressure (MAP) Sensor (LDA)

Pin

Wire

Circuit

Function

1

0.5 L-BU/BK

1688

5-Volt Reference

2

0.5 D-BU/WH (L-GN)

432

Manifold Absolute Pressure (MAP) Sensor Signal

3

0.5 OG/BK

469

Low Reference

Manifold Absolute Pressure (MAP) Sensor (w/Throttle Actuator Control) (L34)


Object Number: 1467076  Size: CH

Connector Part Information

  • OEM: PED 12059595
  • Description: 3-Way F Metri-Pack 150 Series Sealed (BK)

Manifold Absolute Pressure (MAP) Sensor (w/Throttle Actuator Control) (L34)

Pin

Wire

Circuit

Function

1

0.5 L-BU/BK

1688

5-Volt Reference

2

0.5 D-BU/WH

432

Manifold Absolute Pressure (MAP) Sensor Signal

3

0.5 OG/BK

469

Low Reference

Manifold Absolute Pressure (MAP) Sensor (w/o Throttle Actuator Control) (L34)


Object Number: 1467076  Size: CH

Connector Part Information

  • OEM: AMP 174359-2
  • Description: 3-Way F 070 Series Econoseal Mark-2 Cap 3P (BK)

Manifold Absolute Pressure (MAP) Sensor (w/o Throttle Actuator Control) (L34)

Pin

Wire

Circuit

Function

1

0.5 L-BU/BK

1688

5-Volt Reference

2

0.5 D-BU/WH (L-GN)

432

Manifold Absolute Pressure (MAP) Sensor Signal

3

0.5 OG/BK

469

Low Reference

Mass Air Flow (MAF) Sensor (LMN)


Object Number: 1381341  Size: CH

Connector Part Information

  • OEM: BOSCH 1928403736
  • Description: 4-Way F Sealed

Mass Air Flow (MAF) Sensor (LMN)

Pin

Wire

Circuit

Function

1

PK/BK

--

Ignition 1 Voltage

2

YE/BK

--

Ground

3

BU/WH

--

IAT Signal

4

PU/WH

--

MAF Signal

Mode Actuator (C68)


Object Number: 1467023  Size: CH

Connector Part Information

  • OEM: KET MG 610203
  • Description: 7-Way F 118 (PA) Series (BK)

Mode Actuator (C68)

Pin

Wire

Circuit

Function

1

0.3 YE/BU

1397

Lower Mode Valve Solenoid Control

2

0.3 PK

1396

Defrost Mode Valve Solenoid Control

3

0.3 D-GN/BK

1395

Upper Mode Valve Solenoid Control

4

0.85 BN

41

Ignition 2 Voltage

5

0.3 BK

350

Ground

6

0.3 PK/BK

1399

Mode Valve Signal

7

WH/BK

1398

Mode Valve Signal

Multifunction Alarm Module


Object Number: 1467054  Size: CH

Connector Part Information

  • OEM: KET MG 610896
  • Description: 8-Way F PCB Connector SDL-II PCB Hsg (WH)

Multifunction Alarm Module

Pin

Wire

Circuit

Function

1

BK/WH

238

Seat Belt Switch Signal - Left

2

L-GN

80

Key In Ignition Switch Signal

3

PU/WH

821

Engine Overspeed Indicator Control

4

PU

126

Left Front Door Open Switch Signal

5

BK

1050

Ground

6

RD

709

Left Park Lamp Supply Voltage

7

--

--

Not Used

8

PK

239

Ignition 1 Voltage

Octane Selection Switch (L95, LXT)


Object Number: 1467076  Size: CH

Connector Part Information

  • OEM: KET MG 640329
  • Description: 3-Way M SWP Series (BK)

Octane Selection Switch (L95, LXT)

Pin

Wire

Circuit

Function

1

0.5 PU

773

Octane Switch Signal

2

0.5 BK/WH

251

Ground

3

0.5 L-BU

772

Octane Switch Signal

Octane Selection Switch (L79)


Object Number: 1467076  Size: CH

Connector Part Information

  • OEM: KET MG 640329
  • Description: 3-Way M SWP Series

Octane Selection Switch (L79)

Pin

Wire

Circuit

Function

1

0.5 PU

723

Octane Switch Signal

2

0.5 BK/WH

51

Ground

3

0.5 L-BU

722

Octane Switch Signal

Oil Feeding Connector


Object Number: 1467077  Size: CH

Connector Part Information

  • OEM: KET MG 640333
  • Description: 4-Way M SWP Series (BK)

Oil Feeding Connector

Pin

Wire

Circuit

Function

1

0.5 BK/WH

2051

Ground

2

0.5 BN

739

Ignition 1 Voltage

3

0.5 D-BU

774

Serial Data

4

0.5 RD

42

Battery Positive Voltage

Oil Pressure Switch


Object Number: 95764  Size: CH

Connector Part Information

  • OEM: ZPF1-2
  • Description: 1-Way F Metri-Pack 150 Series Sealed (BK)

Oil Pressure Switch

Pin

Wire

Circuit

Function

1

0.5 BN/BK

231

Oil Pressure Switch Signal

Output Speed Sensor (M98)


Object Number: 1481270  Size: CH

Connector Part Information

  • OEM: YZK 7283-8125-30
  • Description: 2-Way F 090II Type Sealed

Output Speed Sensor (M98)

Pin

Wire

Circuit

Function

1

YE/BK

--

Input Shaft Speed Sensor Low

2

BU/WH

--

Input Shaft Speed Sensor High

Outside Rearview Mirror Driver


Object Number: 1466974  Size: CH

Connector Part Information

  • OEM: AMP 173850
  • Description: 8-Way F 070 Series Multilock Plug 8P (NA)

Outside Rearview Mirror Driver

Pin

Wire

Circuit

Function

1

0.5 BN/WH

2230

Folding Mirror Motor Retract Control (Optional)

2

0.5 L-GN/BK

2231

Folding Mirror Motor Extend Control (Optional)

3

0.3 OG/WH

267

Heated Mirror/Rear Defog Relay Coil Supply Voltage (Optional)

4

0.5 GY

90

Passenger Mirror Motor Left Control

5

--

--

Not Used

6

0.5 WH

81

Driver Mirror Motor Right Control

7

0.5 L-GN

89

Driver Mirror Motor Up Control

8

0.5 BK

1150

Ground

Outside Rearview Mirror Folding Module (Optional)


Object Number: 1467054  Size: CH

Connector Part Information

  • OEM: KET MG 610896
  • Description: 8-Way F PCB Connector SDL-II PCB Hsg (WH)

Outside Rearview Mirror Folding Module (Optional)

Pin

Wire

Circuit

Function

1

0.5 GY/RD

2232

Folding Mirror Switch Signal

2

--

--

Not Used

3

0.5 OG

640

Battery Positive Voltage

4

0.5 BN

641

Ignition 2 Voltage

5

0.5 BK

350

Ground

6

--

--

Not Used

7

0.5 L-GN/BK

2231

Folding Mirror Motor Extend Control

8

0.5 BN/WH

2230

Folding Mirror Motor Retract Control

Outside Rearview Mirror Passenger


Object Number: 1466974  Size: CH

Connector Part Information

  • OEM: AMP 173850-1
  • Description: 8-Way F 070 Series Multilock Plug 8P (WH)

Outside Rearview Mirror Passenger

Pin

Wire

Circuit

Function

1

0.5 L-GN/BK

2231

Folding Mirror Motor Extend Control (Optional)

2

0.5 BN/WH

2230

Folding Mirror Motor Retract Control (Optional)

3

0.3 OG

267

Heated Mirror/Rear Defog Relay Coil Supply Voltage (Optional)

4

0.5 GY/BK

90

Passenger Mirror Motor Left Control

5

--

--

Not Used

6

0.5 RD/WH

881

Passenger Mirror Motor Right Control

7

0.5 PU/WH

889

Passenger Mirror Motor Down Control

8

0.5 BK

350

Ground

Outside Rearview Mirror Switch


Object Number: 1466974  Size: CH

Connector Part Information

  • OEM: AMP 173850
  • Description: 8-Way M 070 Series Multilock Plug 8P (BK)

Outside Rearview Mirror Switch

Pin

Wire

Circuit

Function

1

L-GN

89

Driver Mirror Motor Up Control

2

GY/BK

2232

Folding Mirror Switch (Optional)

3

PU/WH

889

Passenger Mirror Motor Down Control

4

GY

90

Passenger Mirror Motor Left Control

5

WH

81

Driver Mirror Motor Right Control

6

BK

1150

Ground

7

RD/WH

881

Passenger Mirror Motor Right Control

8

BN

141

Ignition 3 Voltage

Oxygen (O2) Sensor (L95, LXT)


Object Number: 1466982  Size: CH

Connector Part Information

  • OEM: AMP 174352-2
  • Description: 2-Way M Econoseal J Mark II + Connector Plug Housing (BK)

Oxygen (O2) Sensor (L95, LXT)

Pin

Wire

Circuit

Function

1

0.5 PU/WH

1665

Oxygen (O2) Sensor Signal

2

0.5 OG/BK

469

Low Reference

Oxygen (O2) Sensor (L79)


Object Number: 309480  Size: CH

Connector Part Information

  • OEM: PED 12010501
  • Description: 2-Way F Weather Pack Tower, Sealed (BK)

Oxygen (O2) Sensor (L79)

Pin

Wire

Circuit

Function

A

0.5 GY

1653

Oxygen (O2) Sensor Signal

B

0.5 D-GN/RD

1665

Oxygen (O2) Sensor Low Reference

Park Neutral Position (PNP) Switch (MLQ)


Object Number: 1258030  Size: CH

Connector Part Information

  • OEM: YAZAKI 7283-1296-40
  • Description: 9-Way F

Park Neutral Position (PNP) Switch (MLQ)

Pin

Wire

Circuit

Function

1

0.5 D-GN

2382

Park Neutral Position (PNP) Switch Park Signal

2

0.5 D-GN/WH

2383

Park Neutral Position (PNP) Switch Reverse Signal

3

0.5 PK

839

Ignition 1 Voltage

4

0.5 PK

2384

Park Neutral Position (PNP) Switch 2nd Gear Signal

5

0.5 YE

2381

Park Neutral Position (PNP) Switch Neutral Signal

6

1.25 BK/WH

51

Ground

7

0.5 WH

2377

Park Neutral Position (PNP) Switch Drive Signal

8

0.5 GY

2380

Park Neutral Position (PNP) Switch Low Signal

9

1.25 OG/BK

434

Automatic Transmission Shift Lock Control

Park/Neutral Position Switch (M98)


Object Number: 872604  Size: CH

Connector Part Information

  • OEM: YZK 7223-6508-30
  • Description: 10-Way F DMS+RV Sealed

Park/Neutral Position Switch (M98)

Pin

Wire

Circuit

Function

1

PK

--

Ignition 1 Voltage

2

GN/WH

--

Reverse Signal

3

BK/WH

--

Ground

4

PK

--

Park/Neutral Signal

5

GN

--

C Signal

6

WH

--

B Signal

7

--

--

Not Used

8

PK

--

PA Signal

9

PK

--

Ignition 1 Voltage

10

WH

--

A Signal

Park/Neutral Position (PNP) Switch (MFA)


Object Number: 1468406  Size: CH

Connector Part Information

  • OEM: KET MG 641299
  • Description: 10-Way F SSD & 0509 Connector (BK)

Park/Neutral Position (PNP) Switch (MFA)

Pin

Wire

Circuit

Function

1

0.5 PK

439

Ignition 1 Voltage

2

0.5 L-GN/RD

3011

Park/Neutral Position (PNP) L2 Signal

3

0.5 D-BU/RD

3010

Park/Neutral Position (PNP) L1 Signal

4

0.5 RD/D-BU

3012

Park/Neutral Position (PNP) L3 Signal

5

0.5 L-GN/BK

3013

Park/Neutral Position (PNP) L4 Signal

6

--

--

Not Used

7

0.85 PK

839

Ignition 1 Voltage

8

0.85 L-GN

24

Backup Lamp Supply Voltage

9

0.5 OG/BK

434

Automatic Transmission Shift Lock Control

10

0.5 BK/WH

251

Ground

Park/Turn Signal Lamp - Left Front (Except North America)


Object Number: 1467029  Size: CH

Connector Part Information

  • OEM: KET MG 610327
  • Description: 3-Way F SWP Series (GY)

Park/Turn Signal Lamp - Left Front (Except North America)

Pin

Wire

Circuit

Function

1

PU

709

Left Park Lamp Supply Voltage

2

BK

50

Ground

3

L-BU

14

Left Turn Signal Lamps Supply Voltage

Park/Turn Signal Lamp - Left Front (North America)


Object Number: 1467029  Size: CH

Connector Part Information

  • OEM: KET MG 610327
  • Description: 3-Way F SWP Series (BK)

Park/Turn Signal Lamp - Left Front (North America)

Pin

Wire

Circuit

Function

1

BK

50

Ground

2

PU

709

Left Park Lamp Supply Voltage

3

L-BU

14

Left Turn Signal Lamps Supply Voltage

Park/Turn Signal Lamp - Right Front (Except North America)


Object Number: 1467029  Size: CH

Connector Part Information

  • OEM: KET MG 610327
  • Description: 3-Way F SWP Series (GY)

Park/Turn Signal Lamp - Right Front (Except North America)

Pin

Wire

Circuit

Function

1

BN/WH

309

Right Park Lamp Supply Voltage

2

BK

150

Ground

3

L-BU

15

Right Turn Signal Lamps Supply Voltage

Park/Turn Signal Lamp - Right Front (North America)


Object Number: 1467029  Size: CH

Connector Part Information

  • OEM: KET MG 610327
  • Description: 3-Way F SWP Series (BK)

Park/Turn Signal Lamp - Right Front (North America)

Pin

Wire

Circuit

Function

1

BK

150

Ground

2

BN/WH

309

Right Park Lamp Supply Voltage

3

L-BU

15

Right Turn Signal Lamps Supply Voltage

Parking Brake Switch


Object Number: 1497744  Size: CH

Connector Part Information

  • OEM: F1-9
  • Description: 1-Way F Connector (BK)

Parking Brake Switch

Pin

Wire

Circuit

Function

1

0.3 PU/WH

33

Brake Warning Indicator Control

Power Steering Control Module


Object Number: 1466976  Size: CH

Connector Part Information

  • OEM: AMP 173852-1
  • Description: 14-Way F 070 Series Multilock Plug 14P (WH)

Power Steering Control Module

Pin

Wire

Circuit

Function

1

0.5 L-BU

1738

Variable Effort Steering Actuator Supply Voltage

2

0.5 PU

1703

Variable Effort Steering Actuator Control

3

0.5 BK/WH

451

Steering Wheel Sensor Ground

4

--

--

Not Used

5

0.5 GY

1416

Battery Positive Voltage

6

0.5 D-GN/WH

817

Vehicle Speed Sensor (VSS) Signal

7

--

--

Not Used

8

0.3 PK

239

Ignition 1 Voltage

9

0.5 BN

956

Speed Sensitive Power Steering (SSPS) Warning Lamp Control

10

0.5 BK

1050

Ground

11-12

--

--

Not Used

13

0.5 D-BU

555

Serial Data

14

0.5 L-BU

1533

Steering Wheel Sensor Signal

PTC Heater (LMN)


Object Number: 1830932  Size: CH

Connector Part Information

  • OEM: PED15326878
  • Description: 3-Way F GT 280 Series Unsealed

PTC Heater (LMN)

Pin

Wire

Circuit

Function

1

BN

--

PTC Heater Supply Voltage

2

YE/BK

--

PTC Heater Supply Voltage

3

BU/WH

--

PTC Heater Supply Voltage

Radio (w/RDS) A


Object Number: 1501852  Size: CH

Connector Part Information

  • OEM: ISO 16P REC (SMT-011114-04)
  • Description: 16-Way

Radio (w/RDS) A

Pin

Wire

Circuit

Function

1

0.5 L-BU

115

Right Rear Speaker Output (-)

2

0.5 D-BU

46

Right Rear Speaker Output (+)

3

0.5 D-GN

117

Right Front Speaker Output (-)

4

0.5 L-GN

200

Right Front Speaker Output (+)

5

0.5 GY

118

Left Front Speaker Output (-)

6

0.5 PU

201

Left Front Speaker Output (+)

7

0.5 YE

116

Left Rear Speaker Output (-)

8

0.5 BN

199

Left Rear Speaker Output (+)

9

0.5 BN/WH

309

Right Park Lamp Supply Voltage

10-11

--

--

Not Used

12

1.25 OG

40

Battery Positive Voltage

13

0.5 GY

161

Antenna Module Signal

14

0.3 D-GN

44

Instrument Panel Lamps Dimming Control

15

0.5 YE

43

Accessory Voltage

16

1.25 BK/WH

151

Ground

Radio (w/RDS) B


Object Number: 815047  Size: CH

Connector Part Information

  • OEM: ISO 6P REC (SMT-011114-03) ISO 6P REC (SMT-011114-01)
  • Description: 16-Way

Radio (w/RDS) B

Pin

Wire

Circuit

Function

1-10

--

--

Not Used

11

0.3 D-BU

1796

Radio Control - Steering Column Signal

12

0.3 BK/WH

372

Remote Radio Return - Audio

Radio (w/o RDS)


Object Number: 1466978  Size: CH

Connector Part Information

  • OEM: AMP 173853
  • Description: 18-Way F 070 Series Multilock Plug 18P (WH)

Radio (w/o RDS)

Pin

Wire

Circuit

Function

1

0.5 L-GN

200

Right Front Speaker Output (+)

2

0.5 D-BU

46

Right Rear Speaker Output (+)

3

0.5 BN/WH

309

Right Park Lamp Supply Voltage

4

0.5 YE

43

Accessory Voltage

5

1.25 OG

40

Battery Positive Voltage

6

--

--

Not Used

7

0.5 BN

199

Left Rear Speaker Output (+)

8

0.5 PU

201

Left Front Speaker Output (+)

9

0.5 D-GN

117

Right Front Speaker Output (-)

10

0.5 L-BU

115

Right Rear Speaker Output (-)

11

0.5 D-GN

44

Instrument Panel Lamps Dimming Control

12

0.5 GY

161

Antenna Module Signal

13

0.5 BK/WH

372

Remote Radio Return - Audio

14

1.25 BK/WH

151

Ground

15

--

--

Not Used

16

0.3 D-BU

1796

Radio Control - Steering Column Signal

17

0.5 YE

116

Left Rear Speaker Output (-)

18

0.5 GY

118

Left Front Speaker Output (-)

Radio Antenna Module (Hatchback)


Object Number: 1467058  Size: CH

Connector Part Information

  • OEM: KET MG 620040
  • Description: 1-Way M 250 Series (WH)

Radio Antenna Module (Hatchback)

Pin

Wire

Circuit

Function

1

0.5 GY

161

Antenna Enable Signal

Radio Antenna Module (Notchback)


Object Number: 1289020  Size: CH

Connector Part Information

  • OEM: KET MG 612544
  • Description: 2-Way F (WH)

Radio Antenna Module (Notchback)

Pin

Wire

Circuit

Function

1

0.5 GY

161

Antenna Enable Signal

2

2 PU

293

Rear Defog Element Supply Voltage

Reading Lamp (CF5)


Object Number: 1467046  Size: CH

Connector Part Information

  • OEM: KET MG 610402
  • Description: 8-Way F SDL Series (WH)

Reading Lamp (CF5)

Pin

Wire

Circuit

Function

1

BK

850

Ground

2

--

--

Not Used

3

OG

640

Battery Positive Voltage

4

D-GN/WH

133

Sunroof Limit Switch Low Reference

5

BN

641

Ignition 3 Voltage

6

PU

132

Sunroof Limit Switch Soft Stop Signal

7-8

--

--

Not Used

Reading Lamps (w/o CF5)


Object Number: 1467036  Size: CH

Connector Part Information

  • OEM: KET MG 610392
  • Description: 2-Way F SDL Series (WH)

Reading Lamps (w/o CF5)

Pin

Wire

Circuit

Function

1

OG

640

Battery Positive Voltage

2

BK

850

Ground

Rear Compartment Lamp


Object Number: 1481285  Size: CH

Connector Part Information

  • OEM: KET MG 610043
  • Description: 2-Way F Connector (BK)

Rear Compartment Lamp

Pin

Wire

Circuit

Function

1

OG

640

Battery Positive Voltage

2

PK/BK

1303

Rear Compartment Lid Ajar Switch Signal

Rear Compartment Latch (Notchback)


Object Number: 1467111  Size: CH

Connector Part Information

  • OEM: KET MG 651032
  • Description: 3-Way F 090-II Series (WH)

Rear Compartment Latch (Notchback)

Pin

Wire

Circuit

Function

1

BK

1250

Ground

2

BN

253

Trunk Release Relay Control

3

PK/BK

1303

Rear Compartment Lid Ajar Switch Signal

Rear Compartment Lid Release Actuator (Notchback)


Object Number: 1467111  Size: CH

Connector Part Information

  • OEM: KET MG 651032
  • Description: 3-Way F 090-II Series (WH)

Rear Compartment Lid Release Actuator (Notchback)

Pin

Wire

Circuit

Function

1

0.3 BK

1250

Ground

2

0.5 BN

253

Trunk Ajar Switch Signal

3

0.5 PK/BK

1303

Rear Compartment Lid Ajar Switch Signal

Rear Compartment Lid Release Switch (Notchback)


Object Number: 1986039  Size: CH

Connector Part Information

  • OEM: KET MG 651201
  • Description: 2-Way F 090-II Series

Rear Compartment Lid Release Switch (Notchback)

Pin

Wire

Circuit

Function

1

0.5 BN

253

Trunk Release Relay Control

2

0.5 OG

640

Battery Positive Voltage

Rear Compartment Tamper Switch


Object Number: 1466986  Size: CH

Connector Part Information

  • OEM: AMP 174463
  • Description: 2-Way M 070 Series Multilock 2P (WH)

Rear Compartment Tamper Switch

Pin

Wire

Circuit

Function

1

0.5 L-BU

263

Rear Compartment Lid Ajar Switch Signal

2

0.3 BK

1250

Ground

750

Rear Compartment Tamper Switch (Notchback)


Object Number: 1466986  Size: CH

Connector Part Information

  • OEM: AMP 174463
  • Description: 2-Way M 070 Series Multilock 2P (WH)

Rear Compartment Tamper Switch (Notchback)

Pin

Wire

Circuit

Function

1

L-BU

263

Rear Compartment Lid Ajar Switch Signal

2

BK

1250

Ground

Rear Fog Lamp Relay (T79)


Object Number: 1333956  Size: CH

Connector Part Information

  • OEM: AK 36907
  • Description: 9-Way F Connector (BK)

Rear Fog Lamp Relay (T79)

Pin

Wire

Circuit

Function

1

--

--

Not Used

2

PU

1977

Outside Moisture Sensor Signal 1

3

--

--

Not Used

4

OG

1540

Battery Positive Voltage (w/Rear Fog Lamps) (w/Lamp Driver Control Module)

5

YE

317

Front Fog Relay Coil Supply Voltage

6

RD

122

Rear Fog Lamp Supply Voltage

7

L-BU

1346

Headlamp Relay Supply Voltage

8

BK

250

Ground

9

--

--

Not Used

Rear Liftgate Latch - C1 (Hatchback)


Object Number: 1467011  Size: CH

Connector Part Information

  • OEM: KET MG 610047
  • Description: 4-Way F 250 Series (WH)

Rear Liftgate Latch - C1 (Hatchback)

Pin

Wire

Circuit

Function

1

PU

294

Door Lock Actuator Unlock Control

2

--

--

Not Used

3

GY

295

Door Lock Actuator Lock Control

4

--

--

Not Used

Rear Liftgate Latch - C2 (Hatchback)


Object Number: 1467036  Size: CH

Connector Part Information

  • OEM: KET MG 610392
  • Description: 2-Way F SDL Series (WH)

Rear Liftgate Latch - C2 (Hatchback)

Pin

Wire

Circuit

Function

1

PK/BK

1303

Rear Compartment Lid Ajar Switch Signal

2

BK

750

Ground

Rear Liftgate Latch - C3 (Hatchback)


Object Number: 1466986  Size: CH

Connector Part Information

  • OEM: AMP 174463
  • Description: 2-Way M 070 Series Multilock 2P (WH)

Rear Liftgate Latch - C3 (Hatchback)

Pin

Wire

Circuit

Function

1

L-BU

263

Rear Compartment Lid Ajar Switch

2

BK

750

Ground

Rear Window Defogger X1


Object Number: 365953  Size: CH

Connector Part Information

  • OEM: 12092133
  • Description: 1-Way F Metri-Pack 630 Series Self Lock (WH)

Rear Window Defogger X1

Pin

Wire

Circuit

Function

A

2 PU

293

Rear Defogger Element Supply Voltage

Rear Window Defogger X2


Object Number: 365953  Size: CH

Connector Part Information

  • OEM: 12092133
  • Description: 1-Way F Metri-Pack 630 Series Self Lock (WH)

Rear Window Defogger X2

Pin

Wire

Circuit

Function

A

0.5 BK

750

Ground

Recirculation Actuator


Object Number: 1467023  Size: CH

Connector Part Information

  • OEM: KET MG 610203
  • Description: 7-Way F 118 (PA) Series (BK)

Recirculation Actuator

Pin

Wire

Circuit

Function

1-3

--

--

Not Used

4

0.85 BN

41

Automatic HVAC - Ignition 2 Voltage

0.5 PK

239

Manual HVAC - Ignition 1 Voltage

5

0.3 PK/WH

1648

Automatic HVAC - Recirculation Door Control A

0.5 L-GN/BK

1648

Manual HVAC - Recirculation Door Control A

6

--

--

Not Used

7

0.3 D-GN/BK

1647

Automatic HVAC - Recirculation Door Control B

0.5 PK/WH

1647

Manual HVAC - Recirculation Door Control B

Remote Control Door Lock Receiver/Theft Deterrent Control Module (w/Alarm)


Object Number: 1467056  Size: CH

Connector Part Information

  • OEM: KET MG 611336
  • Description: 26-Way F PCB Connector (WH)

Remote Control Door Lock Receiver/Theft Deterrent Control Module (w/Alarm)

Pin

Wire

Circuit

Function

1

0.5 YE (North America)

261

Arm Alarm Signal

0.5 YE/D-GN

2

0.5 BK

350

Ground

3

--

--

Not Used

4

0.5 L-BU

263

Rear Compartment Lid Ajar Switch Signal

5

0.5 PK/BK

1303

Rear Compartment Lid Ajar Switch Signal

6

--

--

Not Used

7

0.5 PK/D-BU

109

Hood Ajar Switch Signal

8

0.5 PU

156

Courtesy Lamp Control

9

0.3 L-BU/BK (North America)

195

Door Unlock Control

0.3 L-BU

10

0.5 L-GN/WH

355

Driver Door Lock Relay Lock Control

11

0.5 YE

356

Driver Door Lock Relay Unlock Control

12

0.5 L-GN

1370

Driver Door Lock Switch

13

0.5 D-BU

15

Right Turn Signal Lamp Supply Voltage

14

--

--

Not Used

15

0.5 PK

639

Ignition 1 Voltage

16

--

--

Not Used

17

0.5 L-GN

483

Serial Data

18

0.5 L-GN/RD

80

Key In Ignition Switch Signal

19

0.3 YE/D-GN

749

Security Indicator Control

20

0.5 PU

1371

Door Lock Switch Signal

21-23

--

--

Not Used

24

0.5 BN

253

Trunk Release Relay Control (Notchback)

25

1.25 OG

340

Battery Positive Voltage

26

0.5 L-BU/BK

14

Left Turn Signal Lamps Supply Voltage

L-BU (North America

Remote Control Door Lock Receiver/Theft Deterrent Control Module (w/o Alarm)


Object Number: 1467056  Size: CH

Connector Part Information

  • OEM: 611336
  • Description: 26-Way F PCB Connector (WH)

Remote Control Door Lock Receiver/Theft Deterrent Control Module (w/o Alarm)

Pin

Wire

Circuit

Function

1

--

--

Not Used

2

BK

350

Ground

3-7

--

--

Not Used

8

PU

156

Courtesy Lamp Control

9

--

--

Not Used

10

L-GN/WH

355

Driver Door Lock Relay Lock Control

11

YE

356

Driver Door Lock Relay Unlock Control

12

--

--

Not Used

13

D-BU

15

Right Turn Signal Lamp Supply Voltage

14-16

--

--

Not Used

17

L-GN

483

Serial Data

18

L-GN/RD

80

Key In Ignition Switch Signal

19-23

--

--

Not Used

24

BN

253

Trunk Release Relay Control (Notchback)

25

OG

340

Battery Positive Voltage

26

L-BU/BK

14

Left Turn Signal Lamps Supply Voltage

L-BU

Rough Road Sensor (L95, LXT)


Object Number: 537107  Size: CH

Connector Part Information

  • OEM: Bosch 2264-420424
  • Description: 2-Way F Metri-Pack 150 Series, Sealed (GY)

Rough Road Sensor (L95, LXT)

Pin

Wire

Circuit

Function

A

0.5 WH

873

Rough Road Sensor Signal

B

0.5 OG

830

5-Volt Reference

Rough Road Sensor (LDA)


Object Number: 516611  Size: CH

Connector Part Information

  • OEM: PED 12162185
  • Description: 3-Way Metri-Pack 150.2 Series Sealed, Pull To Seat (BK)

Rough Road Sensor (LDA)

Pin

Wire

Circuit

Function

A

0.5 GY

605

5-Volt Reference

B

0.5 D-GN

602

Rough Road Sensor Signal

C

0.5 PU/WH

632

Low Reference

Rough Road Sensor (w/o Throttle Actuator Control) (L34)


Object Number: 516611  Size: CH

Connector Part Information

  • OEM: PED 12162185
  • Description: 3-Way Metri-Pack 150.2 Series Sealed, Pull To Seat (BK)

Rough Road Sensor (w/o Throttle Actuator Control) (L34)

Pin

Wire

Circuit

Function

A

0.5 GY

605

5-Volt Reference

B

0.5 D-GN

602

Rough Road Sensor Signal

C

0.5 PU/WH

632

Low Reference

Rough Road Sensor (w/o ABS) (w/Throttle Actuator Control) (L34)


Object Number: 516611  Size: CH

Connector Part Information

  • OEM: PED 12162185
  • Description: 3-Way F Metri-Pack 150.2 Series Sealed, Pull To Seat (BK)

Rough Road Sensor (w/o ABS) (w/Throttle Actuator Control) (L34)

Pin

Wire

Circuit

Function

A

0.5 GY

605

5-Volt Reference

B

0.5 D-GN

602

Rough Road Sensor Signal

C

0.5 PU/WH

632

Low Reference

Seat Belt Pretensioner


Object Number: 1481290  Size: CH

Connector Part Information

  • OEM: V23540-M5302-Y22
  • Description: 2-Way F Connector (GN)

Seat Belt Pretensioner

Pin

Wire

Circuit

Function

1

0.5 PU

1185

Seat Belt Pretensioner - Driver High Control

0.5 RD/BK

1187

Seat Belt Pretensioner - Passenger Low Control

2

0.5 YE/D-BU

1184

Seat Belt Pretensioner - Driver Low Control

0.5 D-BU/WH

1186

Seat Belt Pretensioner - Passenger High Control

Seat Belt Switch


Object Number: 1467036  Size: CH

Connector Part Information

  • OEM: KET MG 610392
  • Description: 2-Way F Sealed Series (WH)

Seat Belt Switch

Pin

Wire

Circuit

Function

1

0.3 BK/WH

238

Seat Belt Switch - Left

2

0.3 BK

350

Ground

Security Indicator


Object Number: 1467020  Size: CH

Connector Part Information

  • OEM: KET MG 610070
  • Description: 2-Way F 090 (2.3 mm) Series (WH)

Security Indicator

Pin

Wire

Circuit

Function

1

0.5 OG

640

Battery Positive Voltage

2

0.3 YE

749

Security Indicator Control

Shift Indicator Lamp


Object Number: 407137  Size: CH

Connector Part Information

  • OEM: 94797519
  • Description: 2-Way F (BK)

Shift Indicator Lamp

Pin

Wire

Circuit

Function

1

D-GN

44

Instrument Panel Lamps Dimming Control

2

BN/WH

309

Right Park Lamp Supply Voltage

Shift Program Switch (MLQ)


Object Number: 1467047  Size: CH

Connector Part Information

  • OEM: KET MG 610366
  • Description: 4-Way F PCB 040 Series (WH)

Shift Program Switch (MLQ)

Pin

Wire

Circuit

Function

1

0.5 D-GN/WH

1135

Auto Shift Lock Solenoid Supply Voltage

2

BN/WH

309

Right Park Lamp Supply Voltage

3

D-GN

44

Instrument Panel Lamps Dimmer Switch Signal

4

0.5 BK

1050

Ground

Shift Program Switch (MFA)


Object Number: 1467047  Size: CH

Connector Part Information

  • OEM: KET MG 610366
  • Description: 4-Way F PCB 040 Series (WH)

Shift Program Switch (MFA)

Pin

Wire

Circuit

Function

1

0.5 D-GN/WH

1135

Auto Shift Lock Solenoid Supply Voltage

2

BN/WH

309

Right Park Lamp Supply Voltage

3

D-GN

44

Instrument Panel Lamps Dimmer Switch Signal

4

0.5 BK

1050

Ground

Side Marker Lamp - Left Rear


Object Number: 744036  Size: CH

Connector Part Information

  • OEM: 12110053
  • Description: 2-Way F Lamp Socket Wedge Base W2 (L-GY)

Side Marker Lamp - Left Rear

Pin

Wire

Circuit

Function

A

PU

709

Left Park Lamp Supply Voltage

B

BK

550

Ground

Side Marker Lamp - Right Rear


Object Number: 744036  Size: CH

Connector Part Information

  • OEM: 12110053
  • Description: 2-Way F Lamp Socket Wedge Base W2 (L-GY)

Side Marker Lamp - Right Rear

Pin

Wire

Circuit

Function

A

WH

309

Right Park Lamp Supply Voltage

B

BK

550

Ground

Speaker - Double (DBS)


Object Number: 1467039  Size: CH

Connector Part Information

  • OEM: KET MG 651038
  • Description: 4-Way F

Speaker - Double (DBS)

Pin

Wire

Circuit

Function

1

PU

201

Left Front Speaker Output (+)

2

GY/WH

118

Left Front Speaker Output (-)

3

PU

1201

Left Front Speaker Output (+)

4

D-GN

1118

Left Front Speaker Output (-)

Speaker - Tweeters - Front


Object Number: 1467020  Size: CH

Connector Part Information

  • OEM: KET MG 610070
  • Description: 2-Way F 090 (2.3mm) Series (WH)

Speaker - Tweeters - Front

Pin

Wire

Circuit

Function

1

0.5 PU

201

Left Front Speaker Output (+)

0.5 L-GN

200

Right Front Speaker Output (+)

2

0.5 GY/WH

118

Left Front Speaker Output (-)

0.5 D-GN

117

Right Front Speaker Output (-)

Speaker - Tweeters - Rear


Object Number: 1467020  Size: CH

Connector Part Information

  • OEM: KET MG 610070
  • Description: 2-Way F 090 (2.3mm) Series (WH)

Speaker - Tweeters - Rear

Pin

Wire

Circuit

Function

1

0.5 BN

199

Left Rear Speaker Output (+)

0.5 BN

46

Right Rear Speaker Output (+)

2

0.5D-GN

116

Left Rear Speaker Output (-)

0.5 D-GN

115

Right Rear Speaker Output (-)

Speakers - Front


Object Number: 1467109  Size: CH

Connector Part Information

  • OEM: KET MG 651026
  • Description: 2-Way F 090-II Series (WH)

Speakers - Front

Pin

Wire

Circuit

Function

1

0.50 PU

201

Left Front Speaker Output (+)

0.5 L-GN

200

Right Front Speaker Output (+)

2

0.5 GY/WH

118

Left Front Speaker Output (-)

0.5 D-GN

117

Right Front Speaker Output (-)

Speakers - Rear


Object Number: 1467109  Size: CH

Connector Part Information

  • OEM: KET MG 651026
  • Description: 2-Way F 090-II Series (WH)

Speakers - Rear

Pin

Wire

Circuit

Function

1

0.5 BN

199

Left Rear Speaker Output (+)

0.5 BN

46

Right Rear Speaker Output (+)

2

0.5 D-GN

116

Left Rear Speaker Output (-)

0.5 D-GN

115

Right Rear Speaker Output (-)

Steering Wheel Position Sensor


Object Number: 130631  Size: CH

Connector Part Information

  • OEM: PED 12064758
  • Description: 3-Way F Metri-Pack 150 Series, Unsealed (BK)

Steering Wheel Position Sensor

Pin

Wire

Circuit

Function

1

0.5 GY

1416

Battery Positive Voltage

2

0.5 L-BU

1533

Steering Wheel Sensor Signal

3

0.5 BK/WH

451

Ground

Stop Lamp Switch


Object Number: 1467027  Size: CH

Connector Part Information

  • OEM: KET MG 610267
  • Description: 4-Way F 250 D/L Series (WH)

Stop Lamp Switch

Pin

Wire

Circuit

Function

1

OG

239

Ignition 1 Voltage

2

OG/BK

540

Battery Positive Voltage

3

D-GN

286

Automatic Transmission Shift Lock Solenoid Supply Voltage

4

L-BU

20

Stop Lamp Supply Voltage

Sunload Sensor (C68)


Object Number: 1467049  Size: CH

Connector Part Information

  • OEM: KET MG 610489
  • Description: 2-Way F 090 (2.3 mm) Series

Sunload Sensor (C68)

Pin

Wire

Circuit

Function

1

0.5 YE

61

Low Reference

2

0.5 L-BU/BK

590

Sunload Sensor Signal

Sunroof Module


Object Number: 1468516  Size: CH

Connector Part Information

  • OEM: AMP 174923
  • Description: 6-Way F 070 Multi-Lock Connector (WH)

Sunroof Module

Pin

Wire

Circuit

Function

1

0.3 D-GN/WH

133

Sunroof Limit Switch Low Reference

2

--

--

Not Used

3

1.25 BN

641

Ignition 2 Voltage

4

1.25 BK

850

Ground

5

--

--

Not Used

6

0.3 PU

132

Sunroof Limit Switch Soft Stop Signal

Sunroof Switch/Reading Lamp


Object Number: 1467046  Size: CH

Connector Part Information

  • OEM: KET MG 610402
  • Description: 8-Way F SDL Series (WH)

Sunroof Switch/Reading Lamp

Pin

Wire

Circuit

Function

1

0.5 BK

850

Ground

2

--

--

Not Used

3

0.5 OG

640

Battery Positive Voltage

4

D-GN/WH

133

Sunroof Limit Switch Low Reference

5

0.3 BN

641

Ignition 3 Voltage

6

0.3 PU

132

Sunroof Limit Switch Soft Stop Signal

7-8

--

--

Not Used

Tail/Stop Lamp - Left Rear Inner (Hatchback)


Object Number: 38605  Size: CH

Connector Part Information

  • OEM: 12160394
  • Description: 3-Way F Lamp Socket Wedge Base W3 Right Angle (WH)

Tail/Stop Lamp - Left Rear Inner (Hatchback)

Pin

Wire

Circuit

Function

A

RD

20

Stop Lamp Supply Voltage

B

WH/D-GN

709

Left Park Lamp Supply Voltage

G

BK

450

Ground

Tail/Stop Lamp - Left Rear Outer (Hatchback)


Object Number: 82366  Size: CH

Connector Part Information

  • OEM: 12092379
  • Description: 3-Way F Lamp Socket Wedge Base W3 (WH)

Tail/Stop Lamp - Left Rear Outer (Hatchback)

Pin

Wire

Circuit

Function

A

RD

20

Stop Lamp Supply Voltage

B

WH/BK

709

Left Park Lamp Supply Voltage

G

BK

250

Ground

Tail/Stop Lamp - Right Rear Inner (Hatchback)


Object Number: 38605  Size: CH

Connector Part Information

  • OEM: 12160394
  • Description: 3-Way F Lamp Socket Wedge Base W3 Right Angle (WH)

Tail/Stop Lamp - Right Rear Inner (Hatchback)

Pin

Wire

Circuit

Function

A

RD

20

Stop Lamp Supply Voltage

B

WH/D-GN

309

Right Park Lamp Supply Voltage

G

BK

450

Ground

Tail/Stop Lamp - Right Rear Outer (Hatchback)


Object Number: 82366  Size: CH

Connector Part Information

  • OEM: 12092379
  • Description: 3-Way F Lamp Socket Wedge Base W3 (WH)

Tail/Stop Lamp - Right Rear Outer (Hatchback)

Pin

Wire

Circuit

Function

A

RD

20

Stop Lamp Supply Voltage

B

WH/BK

309

Left Park Lamp Supply Voltage

G

BK

450

Ground

Theft Deterrent Alarm


Object Number: 1468380  Size: CH

Connector Part Information

  • OEM: KUM PB 625-02027
  • Description: 2-Way F NMWP 04F-B Ass'y (BK)

Theft Deterrent Alarm

Pin

Wire

Circuit

Function

1

0.5 YE

261

Arm Alarm Signal

2

0.5 OG

1240

Battery Positive Voltage

Throttle Body (L95, LXT)


Object Number: 1466987  Size: CH

Connector Part Information

  • OEM: AMP 174982-2
  • Description: 8-Way F 070 Series Econoseal J-Mark II + 8P (BK)

Throttle Body (L95, LXT)

Pin

Wire

Circuit

Function

1

0.5 D-BU

426

Idle Motor Return

2

0.5 GY

416

5-Volt Reference

3

--

--

Not Used

4

0.5 D-GN

534

High Idle Switch Signal

5

0.5 L-BU

425

Idle Motor Feed

6

0.5 PK

427

Idle Speed Motor Switch Signal

7

0.5 D-BU

417

Throttle Position (TP) Sensor Signal

8

0.5 BK/YE

808

Low Reference

Throttle Body Assembly (w/Throttle Actuator Control) (L34)


Object Number: 1466987  Size: CH

Connector Part Information

  • OEM: AMP 174982-2
  • Description: 8-Way M 070 Series Econoseal J-Mark II + 8P (BK)

Throttle Body Assembly (w/Throttle Actuator Control) (L34)

Pin

Wire

Circuit

Function

1

0.5 BN

550

Low Reference

2

0.5 D-GN/WH

417

Throttle Position (TP) Sensor 1 Signal

3

0.5 GY

534

Throttle Position (TP) Sensor 2 Signal

4

0.5 D-BU/YE

474

5-Volt Reference

5

0.5 D-BU/RD

426

TAC Motor 1 Control

6-7

--

--

Not Used

8

0.5 L-BU/WH

425

TAC Motor 2 Control

Throttle Plate Actuator (LMN)


Object Number: 1835110  Size: CH

Connector Part Information

  • OEM: FEP 42121400
  • Description: 4-Way F Sealed

Throttle Plate Actuator (LMN)

Pin

Wire

Circuit

Function

1

BK

--

Ground

2

PK/WH

--

Battery Positive Voltage

3

WH/BK

--

Throttle Valve Control

4

GN

--

Feedback Signal

Throttle Position (TP) Sensor (L79)


Object Number: 258299  Size: CH

Connector Part Information

  • OEM: PED 12065287
  • Description: 3-Way F Metri-Pack 150 Series (BK)

Throttle Position (TP) Sensor (L79)

Pin

Wire

Circuit

Function

A

0.5 GY

416

5-Volt Reference

B

0.5 BK/YE

808

Low Reference

C

0.5 D-BU

417

Throttle Position (TP) Sensor Signal

Throttle Position (TP) Sensor (LDA)


Object Number: 258299  Size: CH

Connector Part Information

  • OEM: PED 12065287
  • Description: 3-Way F Metri-Pack 150 Series (BK)

Throttle Position (TP) Sensor (LDA)

Pin

Wire

Circuit

Function

A

0.5 D-GN/WH (D-GN/YE)

416

5-Volt Reference

B

0.5 BK

808

Low Reference

C

0.5 GY (D-BU)

417

Throttle Position (TP) Sensor Signal

Throttle Position (TP) Sensor (w/o Throttle Actuator Control) (L34)


Object Number: 258299  Size: CH

Connector Part Information

  • OEM: PED 12065287
  • Description: 3-Way F Metri-Pack 150 Series (BK)

Throttle Position (TP) Sensor (w/o Throttle Actuator Control) (L34)

Pin

Wire

Circuit

Function

1

0.5 BK

808

Low Reference

2

0.5 D-GN/WH (D-GN/YE)

416

5-Volt Reference

3

0.5 GY (D-BU)

417

Throttle Position (TP) Sensor Signal

Tire Pressure Monitor System (TPMS) Module


Object Number: 1455870  Size: CH

Connector Part Information

  • OEM:
  • Description: 12-Way F

Tire Pressure Monitor System (TPMS) Module

Pin

Wire

Circuit

Function

1

OG

--

Battery Positive Voltage

2

D-GN/WH

--

Vehicle Speed Signal

3

PU

--

Serial Data

4

PU/WH

--

Brake Indicator Signal

5

WH

--

Light Switch

6

--

--

Not Used

7

BN

--

Charge Indicator Signal

8

PK

--

Ignition 2 Voltage

9

BK

--

Horn Relay

10

BN/WH

--

TPMS Indicator Control

11

BK

--

Ground

12

--

--

Not Used

Transaxle (M98)


Object Number: 878475  Size: CH

Connector Part Information

  • OEM: YZK 7223-6509-40
  • Description: 14-Way F 050 Sealed

Transaxle (M98)

Pin

Wire

Circuit

Function

1

OG/BK

--

Transmission Fluid Temperature Sensor Low Reference

2

BU

--

Clutch Pressure Solenoid Control

3

L-BU

--

L-Up Solenoid Control

4

YE/BK

--

Pressure Solenoid Control

5

--

--

Not Used

6

BN/WH

--

Shift Solenoid 4 Control

7

YE/BK

--

Shift Solenoid 2 Control

8

PU

--

Transmission Fluid Temperature Sensor Signal

9

L-BU

--

Clutch Pressure Solenoid Supply Voltage

10

BU

--

L-Up Solenoid Supply Voltage

11

RD

--

Pressure Solenoid Supply Voltage

12

YE/WH

--

Shift Solenoid 5 Control

13

PK

--

Shift Solenoid 3 Control

14

L-GN

--

Shift Solenoid 1 Control

Transmission Connector (MLQ)


Object Number: 1481269  Size: CH

Connector Part Information

  • OEM: YAZAKI 7283-1407-40
  • Description: 10-Way F (GY)

Transmission Connector (MLQ)

Pin

Wire

Circuit

Function

1

0.5 PU

898

Transmission Fluid Temperature Sensor Signal

2

0.5 PK

1224

Timing Valve Control

3

0.5 RD

1226

Pressure Control Solenoid Control

4

0.5 D-BU

1225

Torque Converter Solenoid Control

5

0.5 L-GN

1222

Shift Solenoid 1 Valve Control

6

0.5 OG/BK

586

Transmission Fluid Temperature Sensor - Low Reference

7

--

--

Not Used

8

0.5 YE/BK

1227

Low Reference

9

--

--

Not Used

10

0.5 YE/BK

1223

Shift Solenoid 2 Valve Control

Transmission Connector (MFA)


Object Number: 1497790  Size: CH

Connector Part Information

  • OEM: KOSTAL 09430010
  • Description: 16-Way F Connector (BK)

Transmission Connector (MFA)

Pin

Wire

Circuit

Function

1

0.5 D-BU/WH

3006

Automatic Transmission Output Shaft Speed (OSS) Sensor - High Signal

2

0.5 YE/BK

3007

Automatic Transmission Output Shaft Speed (OSS) Sensor - Low Signal

3

0.85 L-BU/BK

3688

Voltage Reference

4

0.5 D-GN/WH

3009

Low Reference

5

0.85 OG

2020

Voltage Reference

6

0.85 D-GN/BK

3021

Pressure Control Solenoid (PCS) 3 Control

7

0.85 BN

3022

Pressure Control Solenoid (PCS) 4 Control

8

--

--

Not Used

9

0.5 GY

3008

Transmission Fluid Temperature Sensor Signal

10

0.85 BN/WH

3023

Pressure Control Solenoid (PCS) 5 Control

11

0.85 D-GN/WH

3024

Pressure Control Solenoid (PCS) 6 Control

12

0.85 WH/BK

3025

Shift Solenoid (SS) 1 Control

13

0.85 WH/BN

3026

Shift Solenoid (SS) 2 Control

14

--

--

Not Used

15

0.5 D-BU/WH

3005

Automatic Transmission Input Shaft Speed (ISS) Sensor - Low Signal

16

0.5 YE/BK

3004

Automatic Transmission Input Shaft Speed (ISS) Sensor - High Signal

Transmission Control Module (TCM) X1 (M98)


Object Number: 1420769  Size: CH

Connector Part Information

  • OEM: TYCO 1318756-2
  • Description: 24-Way F 025/090III Hybrid Unsealed

Transmission Control Module (TCM) X1 (M98)

Pin

Wire

Circuit

Function

1

BK/WH

--

Ground

2

YE/BK

--

Pressure Solenoid Control

3

L-BU

--

L-Up Solenoid Control

4

RD

--

Pressure Solenoid Supply Voltage

5

BU

--

L-Up Solenoid Supply Voltage

6

PK

--

Ignition 1 Voltage

7

YE

--

CAN Low

8-10

--

--

Not Used

11

PU

--

Transmission Fluid Temperature Sensor Signal

12

OG/BK

--

Transmission Fluid Temperature Sensor Low Reference

13

BN/WH

--

Shift Solenoid 4 Control

14

PK

--

Shift Solenoid 3 Control

15

YE/BK

--

Shift Solenoid 2 Control

16

L-GN

--

Shift Solenoid 1 Control

17

PU

--

CAN High

18

--

--

Not Used

19

BU

--

Clutch Pressure Solenoid Control

20

--

--

Not Used

21

L-BU

--

Clutch Pressure Solenoid Supply Voltage

22

YE/WH

--

Shift Solenoid 5 Control

23

BK/WH

--

Ground

24

OG

--

Battery Positive Voltage

Transmission Control Module (TCM) X1 (MFA)


Object Number: 1468395  Size: CH

Connector Part Information

  • OEM: KET MG 651804
  • Description: 16-Way F .060-II Connector (BU)

Transmission Control Module (TCM) X1 (MFA)

Pin

Wire

Circu

Function

1

0.85 WH/BN

3026

Shift Solenoid (SS) 2 Control

2

D-GN

3017

Transmission Mode Signal Power

3

0.85 BN

3022

Pressure Control Solenoid (PCS) 4 Control

4

0.5 GY

3008

Transmission Fluid Temperature Sensor Signal

5

0.85 L-BU

20

Stop Lamp Supply Voltage

6

0.5 YE

1481

Hold Mode Indicator Control

7

0.5 BN

2000

Serial Data

8

0.5 PU

1807

CAN Serial Data - High

9

0.85 WH/BK

3025

Shift Solenoid (SS) 1 Control

10

0.85 BN/WH

3023

Pressure Control Solenoid (PCS) 5 Control

11

0.85 D-GN/BK

3021

Pressure Control Solenoid (PCS) 3 Control

12

0.85 D-GN/WH

3024

Pressure Control Solenoid (PCS) 6 Control

13-15

--

--

Not Used

16

0.3 YE

710

CAN Serial Data - Low

Transmission Control Module (TCM) X1 (MLQ)


Object Number: 1481278  Size: CH

Connector Part Information

  • OEM: AMP 1318756-1 A
  • Description: 24-Way F 025/090 SER 24POS Plug Assembly (WH)

Transmission Control Module (TCM) X1 (MLQ)

Pin

Wire

Circuit

Function

1

0.5 BK/WH

51

Ground

2

0.5 YE/BK

1227

Low Reference

3

--

--

Not Used

4

0.5 RD

1226

Pressure Control Solenoid Control

5

0.5 D-BU

1225

Torque Converter Clutch Solenoid Control

6

0.5 PK

839

Ignition 1 Voltage

7

0.5 YE

710

CAN Serial Data Low

8-10

--

--

Not Used

11

0.5 PU

898

Transmission Fluid Temperature Sensor Signal

12

0.5 OG/BK

586

Transmission Fluid Temperature Sensor Signal - Low Reference

13

--

--

Not Used

14

0.5 PK

1224

Timing Valve Control

15

0.5 YE/BK

1223

Shift Solenoid 2 Valve Control

16

0.5 L-GN

1222

Shift Solenoid 1 Valve Control

17

0.5 PU

1807

CAN Serial Data High

18-22

--

--

Not Used

23

0.5 BK/WH

51

Ground

24

0.5 OG

440

Battery Positive Voltage

Transmission Control Module (TCM) X2 (M98)


Object Number: 1830967  Size: CH

Connector Part Information

  • OEM: TYCO 1318757-2
  • Description: 26-Way F 025/090III Hybrid Unsealed

Transmission Control Module (TCM) X2 (M98)

Pin

Wire

Circuit

Function

1-2

--

--

Not Used

3

YE

--

Hold Mode Indicator Control

4

GN/WH

--

Hold Mode Switch Signal

5

YE/BK

--

Output Shaft Speed Sensor Signal Low

6

BU/WH

--

Input Shaft Speed Sensor Signal Low

7

WH

--

B Signal

8

WH

--

A Signal

9-13

--

--

Not Used

14

BU/WH

--

Output Shaft Speed Sensor Signal High

15

GN/WH

--

Vehicle Speed Signal

16

YE/BK

--

Input Shaft Speed Sensor Signal High

17-18

--

--

Not Used

19

PK

--

PA Signal

20

GN

--

C Signal

21

--

--

Not Used

22

L-BU

--

Stop Lamp Switch Signal

23

BU

--

Serial Data

24-26

--

--

Not Used

Transmission Control Module (TCM) X2 (MFA)


Object Number: 1468395  Size: CH

Connector Part Information

  • OEM: KET MG 651803
  • Description: 16-Way F .060-II Connector (GN)

Transmission Control Module (TCM) X2 (MFA)

Pin

Wire

Circuit

Function

1

0.5 D-GN/WH

3009

Low Reference

2

0.5 YE/BK

3004

Automatic Transmission Input Shaft Speed (ISS) Sensor - High Signal

3

0.5 OG

440

Battery Positive Voltage

4

0.5 D-BU/WH

3005

Automatic Transmission Input Shaft Speed (ISS) Sensor - Low Signal

5

0.5 YE/BK

3007

Automatic Transmission Output Shaft Speed (OSS) Sensor - Low Signal

6

0.5 RD/D-BU

3012

Park/Neutral Position (PNP) Switch L3 Switch Signal

7

0.5 BN

3051

Shield Ground

0.5 BK (North America)

8

0.5 D-GN/WH

817

Vehicle Speed Signal

9

--

--

Not Used

10

0.5 D-BU/WH

3006

Automatic Transmission Output Shaft Speed (OSS) Sensor - High Signal

11

0.5 L-GN/BK

3013

Park/Neutral Position (PNP) Switch L4 Signal

12

1.25 BK/WH

251

Ground

13

1.25 BK/WH

251

Ground

14

--

--

Not Used

15

0.5 L-GN/RD

3011

Park/Neutral Position (PNP) Switch L2 Switch Signal

16

--

--

Not Used

Transmission Control Module (TCM) X2 (MLQ)


Object Number: 1481277  Size: CH

Connector Part Information

  • OEM: AMP 1318757-1 B
  • Description: 26-Way F 025/090 SER 26POS Plug Assembly (WH)

Transmission Control Module (TCM) X2 (MLQ)

Pin

Wire

Circuit

Function

1

0.5 D-GN/WH

2383

Park Neutral Position (PNP) Switch Reverse Signal

0.5 D-GN/WH

24

Backup Lamp Supply Voltage

2

--

--

Not Used

3

0.5 YE

1481

Hold Mode Indicator Control

4

0.5 D-GN/WH

1135

Auto Shift Lock Solenoid Supply Voltage

5

--

--

Not Used

6

0.5 D-BU/WH

1296

Input Shaft Speed (ISS) Sensor High Signal

7

0.5 WH

2377

Park Neutral Position (PNP) Switch Drive Signal

8

0.5 YE

2381

Park Neutral Position (PNP) Switch Neutral Signal

9-15

--

--

Not Used

16

0.5 YE/BK

1297

Input Shaft Speed (ISS) Sensor Low Signal

17

--

--

Not Used

18

0.5 GY

2380

Park Neutral Position (PNP) Switch Low Gear Signal

19

0.5 PK

2384

Park Neutral Position (PNP) Switch 2nd Gear Signal

20

0.5 D-GN

2382

Park Neutral Position (PNP) Switch Park Signal

21

--

--

Not Used

22

0.5 L-BU

20

Stop Lamp Switch Signal

23

0.5 D-BU

2000

Serial Data

24

--

--

Not Used

25

0.5 D-GN/WH

817

Vehicle Speed Signal

26

--

--

Not Used

Transmission Control Module (TCM) X3 (MFA)


Object Number: 1468395  Size: CH

Connector Part Information

  • OEM: KET MG 651802
  • Description: 16-Way F .060-II Connector (GY)

Transmission Control Module (TCM) X3 (MFA)

Pin

Wire

Circuit

Function

1

0.5 D-BU/RD

3010

Park/Neutral Position (PNP) Switch L1 Signal

2-3

--

--

Not Used

4

0.5 D-GN/WH

1135

Auto Shift Lock Solenoid Supply Voltage

5

--

--

Not Used

6

0.85 OG

2020

Voltage Reference

7

0.85 OG

2020

Voltage Reference

8

0.85 L-BU/BK

3688

Voltage Reference

9-14

--

--

Not Used

15

1.25 PK

439

Ignition 1 Voltage

16

1.25 PK

439

Ignition 1 Voltage

Turn Signal Lamp - Left Front (Except North America)


Object Number: 1467028  Size: CH

Connector Part Information

  • OEM: KET MG 610320
  • Description: 2-Way F SWP Series (BK)

Turn Signal Lamp - Left Front (Except North America)

Pin

Wire

Circuit

Function

1

BK

50

Ground

2

L-BU

14

Left Turn Signal Lamps Supply Voltage

Turn Signal Lamp - Left Rear


Object Number: 524649  Size: CH

Connector Part Information

  • OEM: 15354859
  • Description: 2-Way F Lamp Socket BB W-3 (WH)

Turn Signal Lamp - Left Rear

Pin

Wire

Circuit

Function

A

YE

14

Left Turn Signal Lamps Supply Voltage

G

BK

50

Ground

Turn Signal Lamp - Right Front (Except North America)


Object Number: 1467028  Size: CH

Connector Part Information

  • OEM: KET MG 610320
  • Description: 2-Way F SWP Series (BK)

Turn Signal Lamp - Right Front (Except North America)

Pin

Wire

Circuit

Function

1

BK

150

Ground

2

L-BU

15

Right Turn Signal Lamps Supply Voltage

Turn Signal Lamp - Right Rear


Object Number: 524649  Size: CH

Connector Part Information

  • OEM: 15354859
  • Description: 2-Way F Lamp Socket BB W-3 (WH)

Turn Signal Lamp - Right Rear

Pin

Wire

Circuit

Function

A

YE

14

Left Turn Signal Lamps Supply Voltage

G

BK

50

Ground

Turn Signal Multifunction Switch


Object Number: 1467023  Size: CH

Connector Part Information

  • OEM: KET MG 610203
  • Description: 7-Way F 118 (PA) Series (BK)

Turn Signal Multifunction Switch

Pin

Wire

Circuit

Function

1

L-BU

14

Left Turn Signal Lamps Supply Voltage

2

PK

16

Turn Signal Flasher Signal

3

D-BU

15

Right Turn Signal Lamps Supply Voltage

4

L-GN

11

Headlamp High Beam Supply Voltage

5

PU

12

Headlamp Low Beam Supply Voltage

6

L-BU

1346

Headlamp Relay Supply Voltage

L-BU/BK

2346

Flash to Pass Signal (Except North America)

7

OG

140

Battery Positive Voltage

Turn Signal Repeater Lamp - Left


Object Number: 1467028  Size: CH

Connector Part Information

  • OEM: KET MG 610320
  • Description: 2-Way F SWP Series (WH)

Turn Signal Repeater Lamp - Left

Pin

Wire

Circuit

Function

1

L-BU

14

Left Turn Signal Lamps Supply Voltage (North America)

BK

50

Ground

2

BK

1150

Ground (North America)

PU

709

Left Park Lamps Supply Voltage

Turn Signal Repeater Lamp - Right


Object Number: 1467028  Size: CH

Connector Part Information

  • OEM: KET MG 610320
  • Description: 2-Way F SWP Series (WH)

Turn Signal Repeater Lamp - Right

Pin

Wire

Circuit

Function

1

L-BU

15

Right Turn Signal Lamps Supply Voltage (North America)

BK

150

Ground

2

BK

150

Ground (North America)

BN/WH

309

Right Park Lamps Supply Voltage

Turn Signal/Hazard Flasher Module


Object Number: 1333956  Size: CH

Connector Part Information

  • OEM: AK 36906
  • Description: 9-Way Relay Connector (GN)

Turn Signal/Hazard Flasher Module

Pin

Wire

Circuit

Function

1

--

--

Not Used

2

L-BU

1508

Turn Signal Switch Signal

3-5

--

--

Not Used

6

PK

16

Turn Signal Flasher Signal

7

--

--

Not Used

8

BK

250

Ground

9

--

--

Not Used

Variable Effort Steering Actuator


Object Number: 684795  Size: CH

Connector Part Information

  • OEM: PED 12052643
  • Description: 2-Way F Metri-Pack 150 Series, Sealed (BN)

Variable Effort Steering Actuator

Pin

Wire

Circuit

Function

A

0.5 L-GN

1703

Variable Effort Steering Actuator Control

B

0.5 BN/BK

1738

Variable Effort Steering Actuator Supply Voltage

Vehicle Speed Sensor (VSS) (MLQ)


Object Number: 1481279  Size: CH

Connector Part Information

  • OEM: YAZAKI 7283-1232-30
  • Description: 3-Way F Connector (BK)

Vehicle Speed Sensor (VSS) (MLQ)

Pin

Wire

Circuit

Function

1

0.5 PK

839

Ignition 1 Voltage

2

0.5 BK/WH

51

Ground

3

0.5 D-GN/WH

817

Vehicle Speed Signal

Vehicle Speed Sensor (VSS) (Manual Transmission)


Object Number: 516611  Size: CH

Connector Part Information

  • OEM: PED 12059595
  • Description: 3-Way F Metri-Pack 150 Series Sealed (BK)

Vehicle Speed Sensor (VSS) (Manual Transmission)

Pin

Wire

Circuit

Function

A

0.5 BK/WH

251

Ground

0.5 BK

251

Ground (Diesel)

B

0.5 D-GN/WH

817

Vehicle Speed Signal

C

0.5 PK/D-BU

539

Ignition 1 Voltage

0.5 PK/BK

539

Ignition 1 Voltage (Diesel)

Wastegate Solenoid (LMN)


Object Number: 1467003  Size: CH

Connector Part Information

  • OEM: TYCO 827551-3
  • Description: 2-Way F Timmer Sealed

Wastegate Solenoid (LMN)

Pin

Wire

Circuit

Function

1

GN/BK

--

Wastegate Solenoid Control

2

PK/WH

--

Battery Positive Voltage

Water In Fuel Sensor (LMN)


Object Number: 1467004  Size: CH

Connector Part Information

  • OEM: TYCO 85205-1
  • Description: 3-Way F JPT Sealed

Water In Fuel Sensor (LMN)

Pin

Wire

Circuit

Function

1

BN/WH

--

Signal

2

BK

--

Ground

3

PK

--

Battery Positive Voltage

Wheel Speed Sensor (WSS) - Front


Object Number: 537107  Size: CH

Connector Part Information

  • OEM: Bosch 2264-420424
  • Description: 2-Way F Metri-Pack 150 Series Sealed (GY)

Wheel Speed Sensor (WSS) - Front

Pin

Wire

Circuit

Function

A

0.5 BN

873

Left Front Wheel Speed Sensor Signal

0.5 WH

873

Left Front Wheel Speed Sensor Signal (Diesel)

0.5 PU

872

Right Front Wheel Speed Sensor Signal

B

0.5 L-BU

830

Left Front Wheel Speed Sensor Return

0.5 OG

830

Left Front Wheel Speed Sensor Return (Diesel)

0.5 YE

833

Right Front Wheel Speed Sensor Return

Wheel Speed Sensor (WSS) - Rear


Object Number: 537107  Size: CH

Connector Part Information

  • OEM: PED 12052644
  • Description: 2-Way F Metri-Pack 150 Series Sealed (GY)

Wheel Speed Sensor (WSS) - Rear

Pin

Wire

Circuit

Function

A

0.5 WH

885

Left Rear Wheel Speed Sensor Signal

0.5 WH

883

Right Rear Wheel Speed Sensor Signal

B

0.5 GY

884

Left Rear Wheel Speed Sensor Return

0.5 GY

882

Right Rear Wheel Speed Sensor Return

Window Motor - Left Front


Object Number: 1467028  Size: CH

Connector Part Information

  • OEM: KET MG 610320
  • Description: 2-Way F SWP Series (BK)

Window Motor - Left Front

Pin

Wire

Circuit

Function

1

1.25 D-BU

164

Power Window Motor Driver Front Up Control

2

1.25 BN

165

Power Window Motor Driver Front Down Control

Window Motor - Left Rear


Object Number: 1500907  Size: CH

Connector Part Information

  • OEM: AMP 174198-1
  • Description: 2-Way M Connector (WH)

Window Motor - Left Rear

Pin

Wire

Circuit

Function

1

2 D-BU

668

Power Window Motor Left Rear Up Control

2

2 BN

669

Power Window Motor Left Rear Down Control

Window Motor - Right Front


Object Number: 1467028  Size: CH

Connector Part Information

  • OEM: KET MG 610320
  • Description: 2-Way F SWP Series (BK)

Window Motor - Right Front

Pin

Wire

Circuit

Function

1

2 D-BU

666

Power Window Motor Passenger Front Up Control

2

2 BN

667

Power Window Motor Passenger Front Down Control

Window Motor - Right Rear


Object Number: 1500907  Size: CH

Connector Part Information

  • OEM: AMP 174198-1
  • Description: 2-Way M Connector

Window Motor - Right Rear

Pin

Wire

Circuit

Function

1

2 D-BU

668

Power Window Motor Right Rear Up Control

2

2 BN

669

Power Window Motor Right Rear Down Control

Window Switch - Driver - Front Power Only


Object Number: 1467119  Size: CH

Connector Part Information

  • OEM: KET MG 651050
  • Description: 8-Way F 090-II Series (WH)

Window Switch - Driver - Front Power Only

Pin

Wire

Circuit

Function

1

1.25 BN

165

Power Window Motor Driver Front Down Control

2

D-BU

1307

Power Window Master Switch Lockout Control

3

L-BU

166

Power Window Master Switch Passenger Front Up Signal

4

1.25 RD

581

Power Window Master Switch Lockout Control

5

2 OG

580

Power Window Supply Voltage

6

1.25 D-BU

164

Power Window Motor Driver Front Up Control

7

2 BK

1150

Ground

8

PU

167

Power Window Master Switch Passenger Front Down Signal

Window Switch - Left Front - Front/Rear Power


Object Number: 1467129  Size: CH

Connector Part Information

  • OEM: KET MG 651110
  • Description: 14-Way F 090-II Series (WH)

Window Switch - Left Front - Front/Rear Power

Pin

Wire

Circuit

Function

1

1.25 BN

165

Power Window Motor Driver Front Down Control

2

1.25 D-BU

164

Power Window Motor Driver Front Up Control

3

1.25 RD

581

Power Window Master Switch Lockout Control

4

2 PU

167

Power Window Master Switch Passenger Front Down Signal

5

OG/D-BU

64

Auto Up (A33)

6

2 L-BU

166

Power Window Master Switch Passenger Front Up Signal

7

7 D-BU

1307

Power Window Master Switch Lockout Control

8

2 PU/RD

169

Power Window Master Switch Lockout Control

9

OG/D-BU

64

Auto Up (A33)

10

2 OG

580

Power Window Supply Voltage

11

2 BK

1150

Ground

12

2 D-GN

168

Power Window Master Switch Left Rear Up Signal

13

2 PU/WH

171

Power Window Master Switch Right Rear Down Signal

14

2 L-GN

170

Power Window Master Switch Right Rear Up Signal

Window Switch - Left Rear


Object Number: 1467119  Size: CH

Connector Part Information

  • OEM: KET MG 651050
  • Description: 8-Way F 090-II Series (WH)

Window Switch - Left Rear

Pin

Wire

Circuit

Function

1

2 BN

669

Power Window Motor Left Rear Down Control

2

--

--

Not Used

3

2 D-BU

668

Power Window Motor Left Rear Up Control

4

2 PU

169

Power Window Master Switch Left Rear Down Signal

5

--

--

Not Used

6

1.25 D-BU

1307

Power Window Master Switch Lockout Control

7

0.5 BK

1250

Ground

8

2 D-GN

168

Power Window Master Switch Left Rear Up Signal

Window Switch - Right Front


Object Number: 1467119  Size: CH

Connector Part Information

  • OEM: KET MG 651050
  • Description: 8-Way F 090-II Series (WH)

Window Switch - Right Front

Pin

Wire

Circuit

Function

1

2 BN

667

Power Window Motor Right Rear Up Control

2

--

--

Not Used

3

2 D-BU

666

Power Window Motor Passenger Front Up Control

4

2 PU

167

Power Window Master Switch Passenger Front Down Signal

5

--

--

Not Used

6

2 D-BU

1307

Power Window Master Switch Lockout Control

7

0.5 BK

350

Ground

8

2 L-BU

166

Power Window Master Switch Passenger Front Up Signal

Window Switch - Right Rear


Object Number: 1467119  Size: CH

Connector Part Information

  • OEM: KET MG 651050
  • Description: 8-Way F 090-II Series (WH)

Window Switch - Right Rear

Pin

Wire

Circuit

Function

1

2 BN

669

Power Window Motor Right Rear Down Control

2

--

--

Not Used

3

2 D-BU

668

Power Window Motor Right Rear Up Control

4

2 PU

169

Power Window Master Switch Right Rear Down Signal

5

--

--

Not Used

6

1.25 D-BU

1307

Power Window Master Switch Lockout Control

7

0.5 BK

1250

Ground

8

2 D-GN

168

Power Window Master Switch Right Rear Up Signal

Windshield Washer Fluid Pump (Hatchback)


Object Number: 1501850  Size: CH

Connector Part Information

  • OEM: KET MG 641362
  • Description: 3-Way F Connector (GY)

Windshield Washer Fluid Pump (Hatchback)

Pin

Wire

Circuit

Function

1

1.25 RD

228

Windshield Washer Pump Control

2

2 BK

1150

Ground

3

1.25 D-GN

392

Rear Window Wiper Motor Control

Windshield Washer Fluid Pump (Notchback)


Object Number: 1467079  Size: CH

Connector Part Information

  • OEM: KET MG 640605
  • Description: 2-Way F 090 WP Series (WH)

Windshield Washer Fluid Pump (Notchback)

Pin

Wire

Circuit

Function

1

1.25 BK

50

Ground

2

1.25 RD

228

Washer Switch Signal

Windshield Wiper Motor (w/CE1)


Object Number: 1468384  Size: CH

Connector Part Information

  • OEM: KUM PB 625-08027
  • Description: 8-Way F NMWP 08F-B Assembly (BK)

Windshield Wiper Motor (w/CE1)

Pin

Wire

Circuit

Function

1

1.25 D-GN

95

Windshield Wiper Motor Low Speed

2

1.25 BN

96

Windshield Wiper Switch Off/Delay Signal

3

1.25 BK

1150

Ground

4

0.5 L-GN

227

Outside Moisture Sensor Signal

5

1.25 PU

92

Windshield Wiper Motor High Speed

6

0.85 D-BU

1112

Outside Moisture Sensor Signal 1

7

0.5 D-GN

2228

Outside Moisture Sensor Signal 2

D-GN/WH

8

1.25 RD/D-BU

441

Ignition 3 Voltage

Windshield Wiper Motor (w/o CE1)


Object Number: 1468384  Size: CH

Connector Part Information

  • OEM: KUM PB 625-08027
  • Description: 8-Way F NMWP 08F-B Assembly (BK)

Windshield Wiper Motor (w/o CE1)

Pin

Wire

Circuit

Function

1

1.25 D-GN

95

Windshield Wiper Motor Low Speed

2

0.85 YE

112

Windshield Wiper Switch Signal

3

1.25 BK

1150

Ground

4

--

--

Not Used

5

1.25 PU

92

Windshield Wiper Motor High Speed

6

1.25 BN

96

Windshield Wiper Off/Delay Signal

7

1.25 RD

228

Windshield Washer Pump Control

8

1.25 RD/D-BU

441

Ignition 3 Voltage

Windshield Wiper/Washer Switch A


Object Number: 1468431  Size: CH

Connector Part Information

  • OEM: KET MG 610154
  • Description: 9-Way F 118 (PA) Series (WH)

Windshield Wiper/Washer Switch A

Pin

Wire

Circuit

Function

1

0.5 WH

393

Rear Window Wiper Motor Control (w/Rear Wipers)

2

1.25 D-GN

392

Rear Window Washer Pump Control (w/Rear Wipers)

3

1.25 BN

441

Ignition 1 Voltage

4

1.25 RD

228

Windshield Washer Pump Control

5

1.25 D-GN

95

Windshield Wiper Motor Low Speed

6

1.25 L-BU

97

Windshield Wiper Switch Off/Delay Signal

7

1.25 GY

91

Windshield Wiper Switch Pulse Delay Signal

8

1.25 BN

441

Ignition 1 Voltage

9

1.25 PU

92

Windshield Wiper Motor High Speed

Windshield Wiper/Washer Switch B (w/Rear Fog Lamps)


Object Number: 1467000  Size: CH

Connector Part Information

  • OEM: AMP 368501-1
  • Description: 4-Way F 070 Series MLC Plug Hsg 4P (WH)

Windshield Wiper/Washer Switch B (w/Rear Fog Lamps)

Pin

Wire

Circuit

Function

1

GY

91

Windshield Wiper Switch Pulse Delay Signal

2

YE

112

Windshield Wiper Switch Signal 1

3

PU

1977

Outside Moisture Sensor Signal 1

4

BK

250

Ground

Windshield Wiper/Washer Switch B (w/o Rear Fog Lamps)


Object Number: 1466986  Size: CH

Connector Part Information

  • OEM: AMP 174463-1
  • Description: 2-Way M 070 Series Multilock 2P (WH)

Windshield Wiper/Washer Switch B (w/o Rear Fog Lamps)

Pin

Wire

Circuit

Function

1

YE

112

Windshield Wiper Switch Signal 1

2

GY

91

Windshield Wiper Switch Pulse Delay Signal

Wiper Washer Rain Sensor (CE1)


Object Number: 1480215  Size: CH

Connector Part Information

  • OEM: MLX 43645-0800
  • Description: 8-Way F Micro-Fit (3.0) 8 Circuit Single Row Receptacle

Wiper Washer Rain Sensor (CE1)

Pin

Wire

Circuit

Function

1

0.85 D-BU

1112

Outside Moisture Sensor Signal 1

2

0.5 D-GN

2228

Outside Moisture Sensor Signal 2

3

0.5 BK

850

Ground

4

0.5 PK

639

Ignition 1 Voltage

5

0.85 YE

112

Windshield Wiper Switch Signal 1

6

1.25 RD

228

Windshield Wiper Pump Control

7

0.5 L-GN

227

Outside Moisture Sensor Signal 2

8

--

--

Not Used

Wiper Motor Rear


Object Number: 1467038  Size: CH

Connector Part Information

  • OEM: KET MG 610394
  • Description: 3-Way F Series Sealed (WH)

Wiper Motor Rear

Pin

Wire

Circuit

Function

1

0.5 WH

393

Rear Window Wiper Motor Control

2

1.25 BK

750

Ground

3

1.25 PK

441

Ignition 3 Voltage