GM Service Manual Online
For 1990-2009 cars only

Tools Required

    • DT-48179 Universal Driver Handle
    • DT-48182 Needle Sleeve Remover/Installer
    • DT-48225 Input Shaft Holder
    • DT-48226 Transaxle Housing Groove Ball Bearing Remover/Installer
    • DT-48227 Roller Bearing Remover/Installer
    • DT-48228 Clutch Housing Groove Ball Bearing Remover/Installer
    • DT-48229 Interm Shaft Remover
    • DT-48230 Differential Bearing Race and Shaft Seal Ring Installer
    • DT-48231 Input and Output Shaft Pusher/Puller
    • DT-48232 Input Shaft Synchro Body Protector
    • DT-48200 Transaxle Housing Fixing
    • DT-48235 Interm 1st/2nd Synchronizer Installer
    • DT-48236 Input 3rd/4th Synchronizer Installer
    • DT-48237 Output 3rd/4th Gear Installer
    • DT-48238 Input 5th Gear Install
    • DT-48239 Output 5th Bearing Collar Installer
    • DT-48240 Output 5th/Reverse Synchronizer Installer
    • DT-48241 Transaxle Housing Race Plate
    • DT-48242 Clutch Housing Race Plate

    Object Number: 1824425  Size: SH

    Important: Lubricate all components in transaxle fluid before installation.

  1. Install the thrust washer using the DT-48240 and a hydraulic press.
  2. Install the collar using the DT-48240 and a hydraulic press.

  3. Object Number: 1785811  Size: SH
  4. Install the needle bearings (3).
  5. Install the reverse gear (2).
  6. Install the reverse gear blocking ring (1)

  7. Object Number: 1824428  Size: SH

    Important: 

       • The raised center hub of the 5th/Reverse synchronizer assembly faces the 5th gear.
       • Line up the blocking ring tabs and the hub keyways while pressing.

  8. Install the 5th/Reverse synchronizer using the DT-48240  (1) and a hydraulic press.

  9. Object Number: 1824431  Size: SH
  10. Install the bearing collar using the DT-48239  (1) and a hydraulic press.

  11. Object Number: 1785814  Size: SH
  12. Install the 5th gear blocking ring (3).
  13. Install the two needle bearings (2).
  14. Install the 5th gear (1).

  15. Object Number: 1824435  Size: SH

    Important: The 3rd gear will install very tight. Ensure that the mating surfaces are clean.

  16. Install the 3rd gear using the DT-48237  (1) and a hydraulic press.

  17. Object Number: 1824438  Size: SH
  18. Apply sealer-retaining (Permatex 620) to the circumference of the input shaft before installing the 4th gear.
  19. Important: The 4th gear will install very tight. Ensure that the mating surfaces are clean.

  20. Install the 4th gear using the DT-48237  (1) and a hydraulic press.

  21. Object Number: 1824439  Size: SH

    Important: 

       • Lubricate all components with transaxle fluid before installation.
       • The machined surface faces the needle thrust bearing.

  22. Apply sealer-retaining (Permatex 620) to the circumference of the input shaft before installing the 5th gear.
  23. Install the 5th gear using the DT-48238  (1) and by hydraulic press.

  24. Object Number: 1786258  Size: SH
  25. Install the thrust bearing (2).
  26. Install the two needle bearings (1).

  27. Object Number: 1786261  Size: SH
  28. Install the 3rd gear (4).
  29. Install the blocking ring (3).
  30. Install the thrust bearing (2).
  31. Install the thrust washer (1).

  32. Object Number: 1824440  Size: SH

    Important: 

       • The machined surface of the synchronizer faces the thrust washer.
       • Make sure to align the slots in the synchronizer with the gear blocking ring tabs.

  33. Install the 3rd/4th synchronizer using the DT-48236  (1) and a hydraulic press.

  34. Object Number: 1824444  Size: SH
  35. Install the bearing collar using the DT-48236  (1) and a hydraulic press.

  36. Object Number: 1786268  Size: SH
  37. Install the 4th gear blocking ring (4).
  38. Install the needle bearing (3).
  39. Install the 4th gear (2).
  40. Install the thrust washer (1).

  41. Object Number: 1824445  Size: SH
  42. Install the sleeve bearing using an appropriate tool.

  43. Object Number: 1786270  Size: SH

    Important: Lubricate all components with transaxle fluid before installation.

  44. Install the needle bearing (5).
  45. Install the 2nd gear (4).
  46. Install the 2nd gear inner cone (3).
  47. Install the 2nd gear blocking ring (2).
  48. Install the 2nd gear outer cone (1).

  49. Object Number: 1824448  Size: SH

    Important: 

       • Make sure to properly align the synchronizer to the gear and notches in the blocking ring.
       • Observe the orientation of the synchronizer. The shoulder of the synchronizer faces 1st gear.

  50. Install the 1st/2nd synchronizer using the DT-48235  (1) and a hydraulic press.

  51. Object Number: 1824449  Size: SH
  52. Install the thrust washer (2) and the bearing collar (1) using the DT-48235 and a hydraulic press.

  53. Object Number: 1786272  Size: SH
  54. Install the 1st gear outer cone (3).
  55. Install the 1st gear blocking ring (2).
  56. Install the 1st gear inner cone (1).

  57. Object Number: 1786274  Size: SH

    Important: The steps in both roller bearings must fall into the 1st gear.

  58. Install the roller bearing.
  59. Install the 1st gear.
  60. Install the roller bearing.

  61. Object Number: 1824451  Size: SH
  62. Install the thrust washer using the DT-48235  (1) and a hydraulic press.

  63. Object Number: 1785728  Size: SH
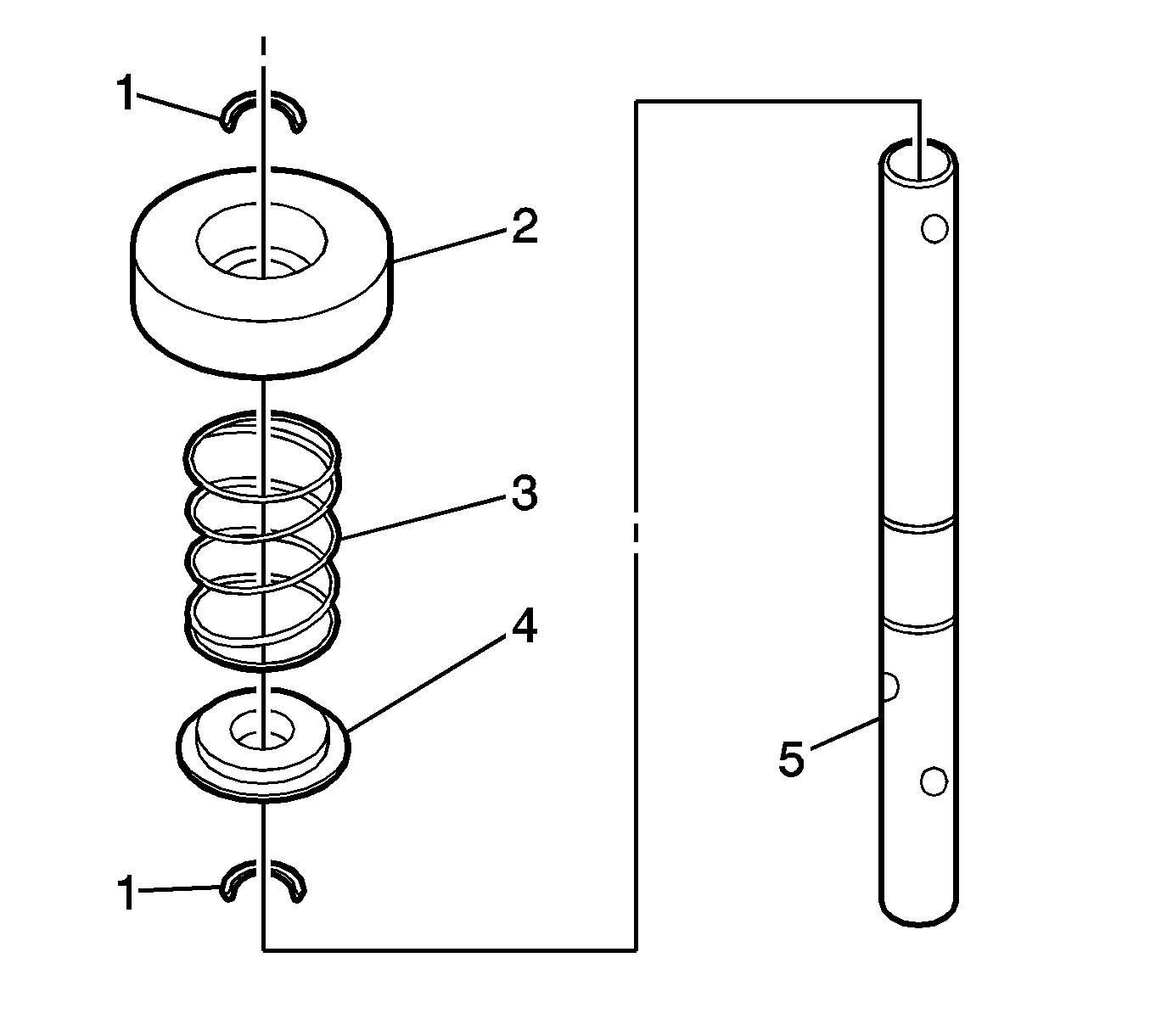
  64. Install the angle disc (4) onto the shift rod (5).
  65. Install the 1st/2nd pressure spring (3).
  66. Install the inner spring seat (2).
  67. Install the new snap rings (1).

  68. Object Number: 1824388  Size: SH
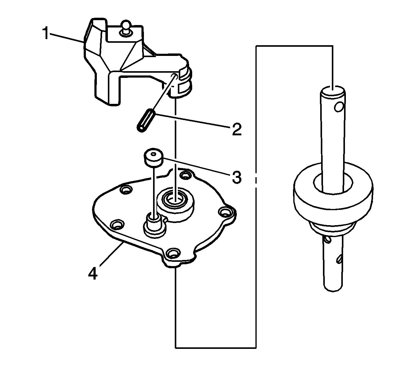
  69. Install the shift cover (4).
  70. Install the vent cap (3).
  71. Install the shift lever (1).
  72. Install a new coiled pin (2).

  73. Object Number: 1824387  Size: SH
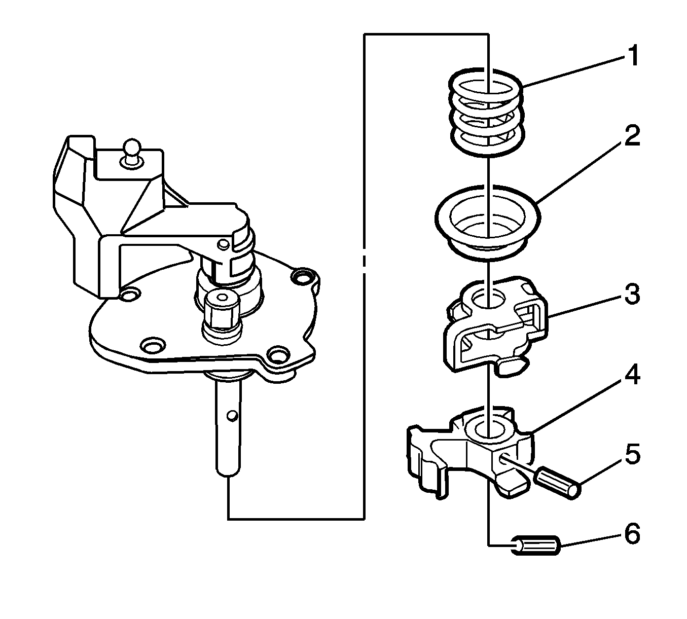
  74. Install the 5th/reverse pressure spring (1).
  75. Install the outer spring seat (2).
  76. Important: Properly support the shift finger when installing the roll pin. Do not support the shift finger with the shift interlock.

  77. Install the shift interlock (3) into the shift finger (4).
  78. Install a new coiled pin (5, 6).

  79. Object Number: 1824453  Size: SH
  80. Install a new shaft seal ring to the clutch housing using the DT-48179  (1) and the DT-48230  (2).

  81. Object Number: 1824456  Size: SH
  82. Install the interm shaft groove ball bearing to the clutch housing using the DT-48179  (1) and the DT-48228  (2).

  83. Object Number: 1824384  Size: SH
  84. Install the snap ring to the interm shaft groove ball bearing.

  85. Object Number: 1824458  Size: SH
  86. Install the input shaft roller bearing to the clutch housing using the DT-48179  (1) and the DT-48227  (2).

  87. Object Number: 1824459  Size: SH
  88. Install a new shaft seal ring to the transaxle housing using the DT-48179  (1) and DT-48230  (2).

  89. Object Number: 1824460  Size: SH
  90. Install the input shaft and output shaft groove ball bearings into the transaxle housing using the DT-48179  (1) and the DT-48226  (2).

  91. Object Number: 1785684  Size: SH
  92. Install the needle sleeve flush with the casting in the transaxle housing using the DT-48179  (1) and the DT-48182  (2).
  93. Notice: Refer to Fastener Notice in the Preface section.


    Object Number: 1785682  Size: SH
  94. Install the reverse shifting blocker (1), the torsion spring (2), and a new thread pin (3) to the transaxle housing.
  95. Tighten
    Tighten the thread pin to 6-9 N·m (53-80 lb in).


    Object Number: 1824462  Size: SH
  96. Install the output shaft roller bearing to the clutch housing.

  97. Object Number: 1824465  Size: SH
  98. Install interm (1), input (2) and output (3) shaft assembly with the respective shift forks in the clutch housing.
  99. • Install the DT-48232 and the input shaft retainer plug.
    • Install the interm (1) and input (2) shaft assembly with the respective shift forks.

       Important: Position the Interm shaft to the groove ball bearing side.

    • Install the output shaft assembly and the shift fork.
    • After checking the gears engagement, install each the shaft assembly completely.
    • Remove the DT-48232 and the input shaft retainer plug.

    Object Number: 1824466  Size: SH
  100. Install the transaxle housing on the clutch housing.
  101. 65.1. Input and output shaft must engage in the groove ball bearings in the transaxle housing.
    65.2. The Interm shaft and the shift forks must sit in their opposing bearings in the transaxle housing.
    65.3. Install the DT-48231 on the transaxle housing.
       • Tighten the four bolts (1).
       • Screw the spindles into the input and output shaft.
    65.4. Draw the input and output shaft evenly into the groove ball bearings in the transaxle housing.
       • Hold the spindles (2) using a suitable tool.
       • Turn via nuts (3) in direction of arrow.
    65.5. Remove the DT-48231 from the transaxle housing.
       • Unscrew the spindles into the input and output shaft.
       • Remove the four bolts (1).

    Object Number: 1824467  Size: SH

    Important: If large forces are necessary when actuating the DT-48231 separate the transaxle housing and the clutch housing again and check positioning of the shaft and shift forks. Repeat operation.

  102. Shift the transaxle into 4th and 5th gear using a screwdriver in an upward direction.
  103. Install new input and output shaft retainer plugs while holding the transaxle into 4th and 5th gear in an upward direction.
  104. Tighten

        • Tighten the input shaft retainer plug to 120-130 N·m (89-96 lb ft).
        • Tighten the output shaft retainer plug to 120-130 N·m (89-96 lb ft).

    Object Number: 1824468  Size: SH

    Important: Leave area free in order not to block up the oil pipe.

  105. Apply sealant (LOCTITE 5900) to the transaxle housing rear cover.

  106. Object Number: 1824365  Size: SH

    Important: The oil pipe only installs in one direction. Ensure the oil pipe is completely seated in the gear shafts.

  107. Install the oil pipe and transaxle housing rear cover.

  108. Object Number: 1824364  Size: SH
  109. Install the transaxle housing rear cover bolts.
  110. Tighten
    Tighten the rear cover bolts to 20-25 N·m (15-18 lb ft).


    Object Number: 1824470  Size: SH

    Important: In line with the Interm shaft, use suitable tools to assist in the housing separation.

  111. Remove the clutch housing from the transaxle housing.

  112. Object Number: 1824472  Size: SH
  113. Install the idle shift rail (1) into the transaxle housing.
  114. Install the idle shift rail bushing (2) to the transaxle housing.
  115. Install the drain channel (3) into the transaxle housing.

  116. Object Number: 1785650  Size: SH
  117. Install the backup lamp switch and the washer to the transaxle housing.
  118. Tighten
    Tighten the backup lamp switch to 20 N·m (15 lb ft).


    Object Number: 1824367  Size: SH
  119. Install the shift shaft assembly.
  120. • Apply sealer (LOCTITE 5203) to the transaxle housing to the gear shift cover mating surface.
    • Position the transaxle into neutral.
    • Install the shift shaft assembly (3).
    • Install the select control lever (2).
    • Install the shift retaining bolts.

    Tighten
    Tighten the shift retaining bolts to 20-25 N·m (15-18 lb ft).

    • Install the shift guide bolt (1).

    Tighten
    Tighten the shift guide bolt to 20-25 N·m (15-18 lb ft).


    Object Number: 1824474  Size: SH
  121. Install the differential bearing race and the shim to the transaxle housing using the DT-48179  (1) and the DT-48230  (2).

  122. Object Number: 1824475  Size: SH
  123. Install the differential bearing race and the shim to the clutch housing using the DT-48179  (1) and the DT-48230  (2).

  124. Object Number: 1824377  Size: SH
  125. Install the magnet into the transaxle housing.


    Object Number: 1786276  Size: SH
  126. Install the differential into the transaxle housing.

  127. Object Number: 1824476  Size: SH
  128. Apply sealer (LOCTITE 5203) to the transaxle housing to clutch housing mating surface.
  129. Important: 

       • the input and output shaft must engage in its bearing in the clutch housing.
       • The gear shift forks sit in their opposing bearings in the clutch housing.

  130. Install the clutch housing to the transaxle housing.

  131. Object Number: 1824479  Size: SH
  132. Using a rubber mallet, tap lightly on the transaxle housing mating surface to ensure the bearings are fully seated.

  133. Object Number: 1824480  Size: SH
  134. Install the DT-48200  (1) to transaxle housing.
  135. Important: Adjust the height of the DT-48200 for the zero point setting.

  136. Adjust the zero point setting for each place on the transaxle housing flange surface Using the DT-48200 and the height gage.

  137. Object Number: 1786278  Size: SH
  138. Measure the three places on the output shaft gear thrust washer surface using the height gage. (average=A)
  139. The height from the transaxle housing flange surface to the thrust washer surface.


    Object Number: 1824482  Size: SH
  140. Place the clutch housing differential bearing race, the differential, the transaxle housing differential bearing race, and the DT-48241  (1) onto the DT-48242  (2).

  141. Object Number: 1824483  Size: SH
  142. Adjust the zero point setting for each place on the transaxle housing differential bearing race surface using the height gage.

  143. Object Number: 1824484  Size: SH
  144. Measure the three places on differential ring gear surface using the height gage. (average=B)
  145. The height from the transaxle housing differential bearing race to the differential ring gear surface.


    Object Number: 1824486  Size: SH
  146. Measure the three places on the DT-48242  (1) using the height gage. (average=C)
  147. The height from the transaxle housing differential bearing race to clutch housing differential bearing race.


    Object Number: 1786280  Size: SH
  148. To obtain shim size (1, 2) for transaxle housing shim use the following formula.
  149. S1 (For Both FWD and AWD)=62.92 mm - A - B

  150. To obtain shim size for clutch housing shim use the following formula :
  151. • S2 (For FWD)=156.84 mm - C - S1
    • S2 (For AWD)=158.09 mm - C - S1

    Object Number: 1824363  Size: SH
  152. Hold the input shaft with the DT-48225  (1).
  153. Draw the Interm shaft into the Interm shaft groove ball bearing with old retainer plug.
  154. Shift the transaxle into any gear.


    Object Number: 1824477  Size: SH
  155. Install the clutch housing to transaxle housing bolts.
  156. Tighten
    Tighten the clutch housing to transaxle housing bolts to 20-25 N·m (15-18 lb ft).

  157. Remove the old retainer plug from the interm shaft, and install a new retainer plug.
  158. Tighten
    Tighten the interm shaft retainer plug to 90-100 N·m (66-74 lb ft).

  159. Remove the DT-48225 .

  160. Object Number: 1824478  Size: SH
  161. Install the transaxle housing to clutch housing bolts.
  162. Tighten
    Tighten the transaxle housing to clutch housing bolts to 20-25 N·m (15-18 lb ft).


    Object Number: 1824361  Size: SH
  163. Install a new oil pipe into the interm shaft.
  164. Install a new interm shaft sealing plug.

  165. Object Number: 1773721  Size: SH
  166. Install the O-ring concentric slave cylinder.

  167. Object Number: 1773722  Size: SH
  168. After installing the pipe screw, tighten the concentric slave cylinder retaining bolts.
  169. Tighten
    Tighten the concentric slave cylinder retaining bolts to 8-12 N·m (71-106 lb in).

  170. Tighten the pipe screw.
  171. Tighten
    Tighten the pipe screw to 16 N·m (12 lb ft).


    Object Number: 1773723  Size: SH
  172. Install the bushing to the concentric slave cylinder pipe.

  173. Object Number: 1824358  Size: SH
  174. Install the shift control cable bracket, the washer, and the bolts.
  175. Tighten
    Tighten the shift control cable brackets bolts to 15-20 N·m (11-15 lb ft).

  176. Install the transaxle into the vehicle. Refer to Transmission Replacement .