GM Service Manual Online
For 1990-2009 cars only
Figure 1:

Engine Compartment


Object Number: 1863998  Size: MF
(1)Engine Coolant Reservoir
(2)Power Steering Oil Reservoir
(3)Washer Fluid Reservoir
(4)Fuel Filter
(5)Brake Oil Reservoir
(6)Air Cleaner Assembly
(7)Engine Fuse Box
(8)Battery
(9)Glow Plug Fuse Box
(10)Engine Oil Cap
(11)Oil Level Gauge
(12)ECM
(13)Beauty Cover
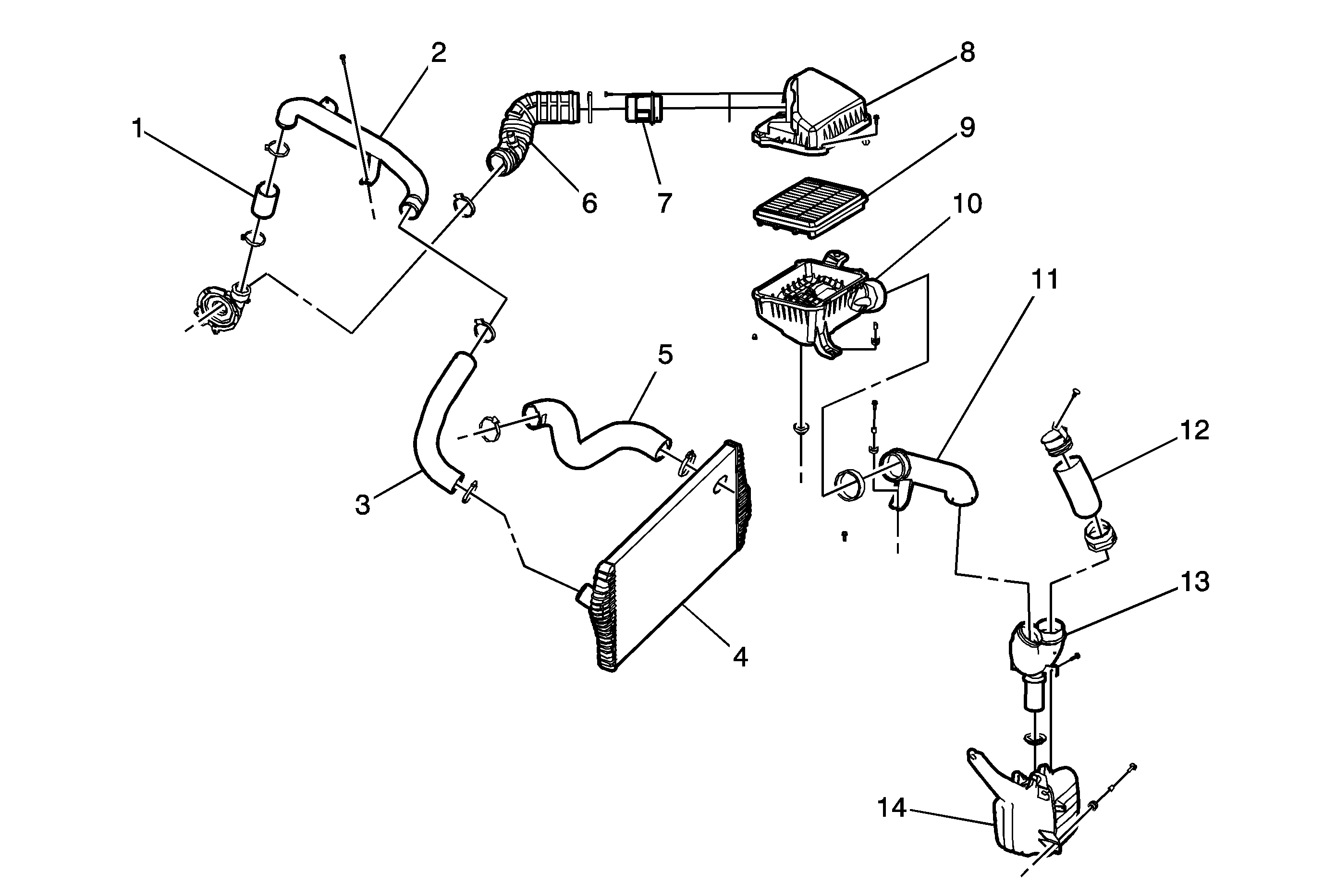
Figure 2:

Air Charging System


Object Number: 1864002  Size: MF
(1)Turbo Charger Outlet Hose
(2)Turbo Charger Outlet Pipe
(3)Charge Air Cooler Inlet Hose
(4)Charge Air Cooler
(5)Charge Air Cooler Outlet Hose
(6)Turbo Charger Inlet Hose
(7)MAF Sensor
(8)Air Filter Upper Housing
(9)Air Filter
(10)Air Filter Lower Housing
(11)Air Filter Inlet Duct
(12)Air Inlet Upper Duct
(13)Air Inlet Lower Duct
(14)Resonator
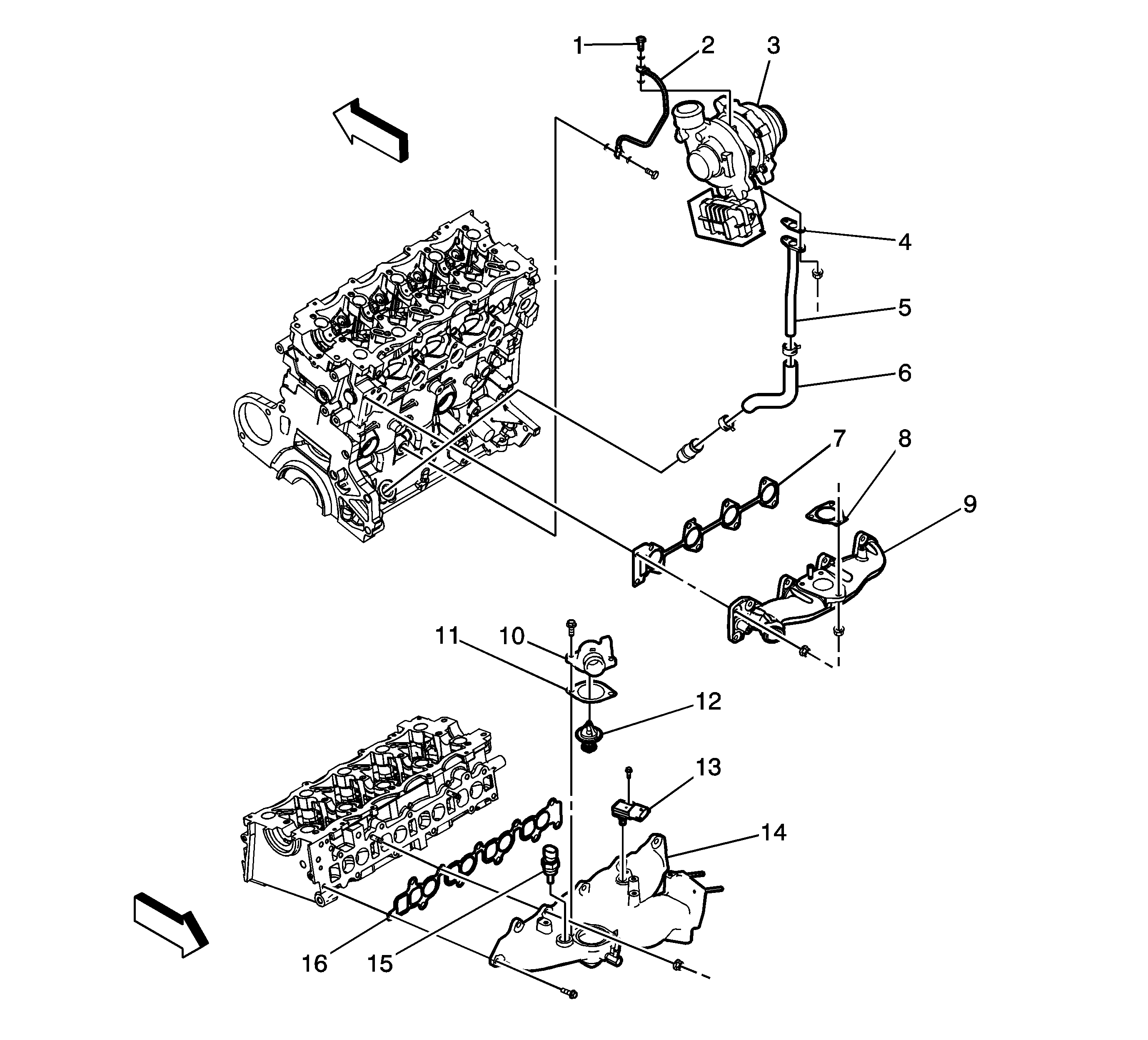
Figure 3:

Intake/Exhaust System


Object Number: 1864005  Size: LF
(1)Wheel Bearing Oil Inlet Pipe Bolt
(2)Wheel Bearing Oil Inlet Pipe
(3)Turbocharger
(4)Wheel Bearing Oil Outlet Pipe Gasket
(5)Wheel Bearing Oil Outlet Pipe
(6)Wheel Bearing Oil Outlet Hose
(7)Exhaust Manifold Gasket
(8)Turbocharger Gasket
(9)Exhaust Manifold
(10)Thermostat Housing
(11)Thermostat Housing Gasket
(12)Thermostat
(13)Boost Pressure Sensor (T-MAP Sensor)
(14)Intake Manifold
(15)Coolant Temperature Sensor
(16)Intake Manifold Gasket
Figure 4:

Timing Belt System


Object Number: 1864007  Size: LF
(1)Camshaft Sprocket
(1)Camshaft Sprocket
(2)Timing Belt Idler
(2)Timing Belt Idler
(3)Injection Pump Sprocket
(3)Injection Pump Sprocket
(4)Timing Belt Tensioner
(4)Timing Belt Tensioner
(5)Water Pump Pulley
(6)Crankshaft Sprocket
(6)Crankshaft Sprocket
(7)Timing Belt
(8)Timing Belt Rear Cover
(9)Timing Belt Upper Cover
(10)Timing Belt Lower Cover
(11)Engine Mount Bracket
(12)Crankshaft Pulley
(13)Water Pump Gasket
(14)Injection Pump
(15)A/C Compressor and Alternator Bracket
Figure 5:

Upper End


Object Number: 1864008  Size: LF
(1)Camshaft Cover
(2)Camshaft Cover Gasket
(3)PCV Adapter Gasket
(4)PCV Adapter
(5)PCV Valve
(6)Injector Seal
(7)Oil Cap
(8)Injector Bracket Plug
(10)Camshaft Position Sensor
(11)Exhaust Roller Finger-Follower
(12)Intake Roller Finger-Follower
(13)Valve Bridge
(14)Valve Key
(15)Valve Spring Retainer
(16)Valve Spring
(17)Valve Stem Oil Seal
(18)Camshaft Cap Bolt
(19)Camshaft Cap
(20)Injector Bracket Bolt
(21)Injector Bracket
(22)Camshaft
(23)Camshaft Cap
(24)Plug
(25)Valve Lash Adjuster
(26)Camshaft Seal Ring
(27)Cylinder Head
(28)Exhaust Valve
(29)Intake Valve
(30)Cylinder Head Gasket
(31)Glow Plug
(32)Glow Plug Wiring
(33)Glow Plug Heat Shield
Figure 6:

Lower End 1 of 2


Object Number: 1864010  Size: LF
(1)Piston Ring Set
(2)Piston Pin Retainer
(3)Piston
(4)Piston Pin
(5)Connecting Rod and Cap
(6)Connecting Rod Journal Bearing Set
(7)Engine Block
(8)Coolant Adapter
(9)Coolant Adapter
(10)Plug
(11)Crankshaft Journal Bearing Set
(11)Crankshaft Journal Bearing Set
(12)Crankshaft
(13)CKP Sensor Target Wheel
(14)Crankshaft Rear Seal Ring
(15)Crankshaft Gear
(16)Crankshaft Gear Key
(17)Engine Bed Plate
(18)Crankshaft Bolt
(19)Bed Plate Bolt
(20)Oil Nozzle Tube Bolt
(21)Oil Nozzle Tube
Figure 7:

Lower End 2 of 2


Object Number: 1864012  Size: LF
(22)Oil Filter Cap
(23)O-Ring
(24)Oil Filter
(25)Oil Filter Housing
(26)O-Ring
(27)Oil Filter Housing Drain Bolt Washer
(28)Oil Filter Housing Drain Bolt
(29)Oil Filter Housing Fitting Bolt
(30)Engine Oil Cooler
(31)O-Ring
(32)Oil Cooler Outlet Hose
(33)Oil Cooler Inlet Hose
(34)Oil Pump Assembly
(35)Oil Pressure Relief Valve
(36)Oil Pressure Relief Valve Spring
(37)Oil Pressure Relief Valve Gasket
(38)Oil Pressure Relief Valve Plug
(39)Crankshaft Front Seal Ring
(40)Oil Pressure Switch
(41)Oil Pump Seal
(42)Oil Pump Outer Rotor
(43)Oil Pump Inner Rotor
(44)Oil Pump Cover
(45)Oil Pump Drive Gear
(46)Oil Level Indicator
(47)Oil Level Indicator Tube
(48)Crankshaft Position Sensor
(49)Oil Pan Bolt
(50)Oil Pan Bolt
(51)Oil Pan
(52)Oil Drain Plug
(53)Oil Drain Plug Washer
(54)Crankshaft Balancer
(55)Oil Strainer Pipe
(56)Oil Strainer Pipe Seal