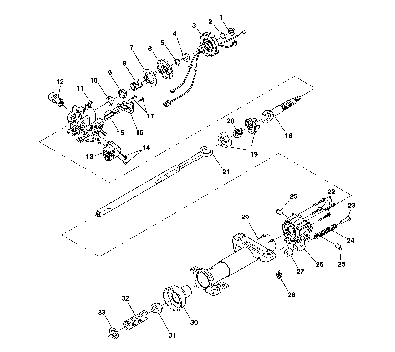
|
| (1) | Flanged Prevailing Torque Nut |
| (2) | Snap
Ring |
| (3) | Inflatable Restraint Steering Wheel Module Coil |
| (4) | Wave Washer |
| (5) | Bearing Retainer |
| (6) | Shaft Lock |
| (7) | Turn Signal Cancel Cam Assembly |
| (8) | Upper Bearing
Spring |
| (9) | Upper Bearing Inner Race Seat |
| (10) | Inner Race |
| (11) | Bearing and Housing Assembly |
| (12) | Ignition
Lock Actuator Assembly |
| (13) | Ignition Switch Assembly |
| (14) | Tapping Screw |
| (15) | Lock Bolt Assembly |
| (16) | Lock Bolt Support
Bracket |
| (17) | Tapping Screw |
| (18) | Race and Upper Shaft Assembly |
| (19) | Centering
Sphere |
| (20) | Joint Preload Spring |
| (21) | Lower Shaft Assembly |
| (22) | Support Screw |
| (23) | Spring Guide |
| (24) | Wheel Tilt Spring |
| (25) | Pivot Pin |
| (26) | Steering Column Support Assembly |
| (27) | Spring Retainer |
| (28) | Wire Restraint Clip |
| (29) | Steering Column Jacket Assembly |
| (30) | Adapter and Bearing Assembly |
| (31) | Lower Bearing Seat |
| (32) | Lower Bearing Spring |
| (33) | Lower Spring
Retainer |