GM Service Manual Online
For 1990-2009 cars only
Makes
🢒
Chevrolet
🢒
2000
🢒
PJJ
🢒
Body and Accessories
🢒
Instrument Panel, Gauges, and Console
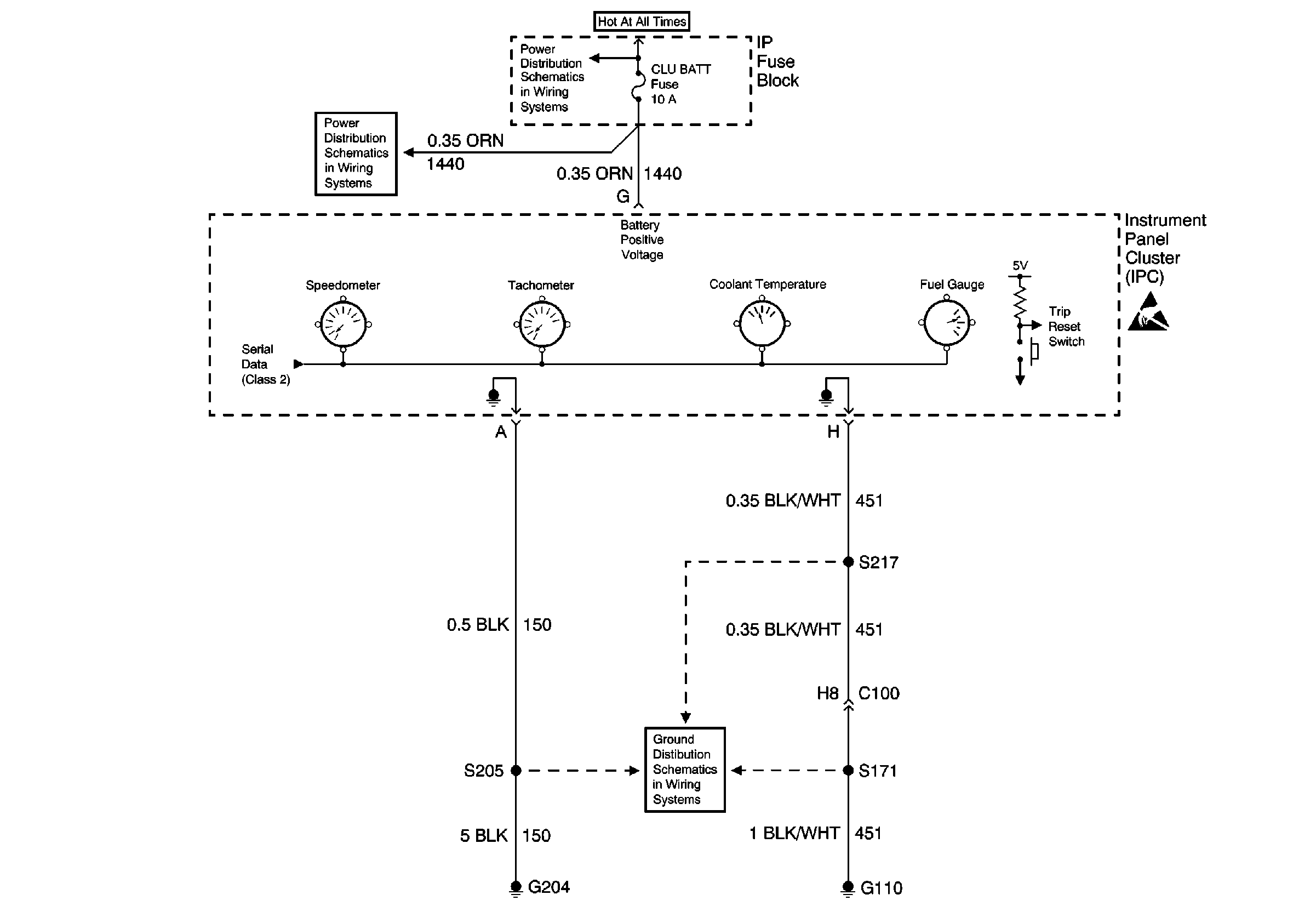
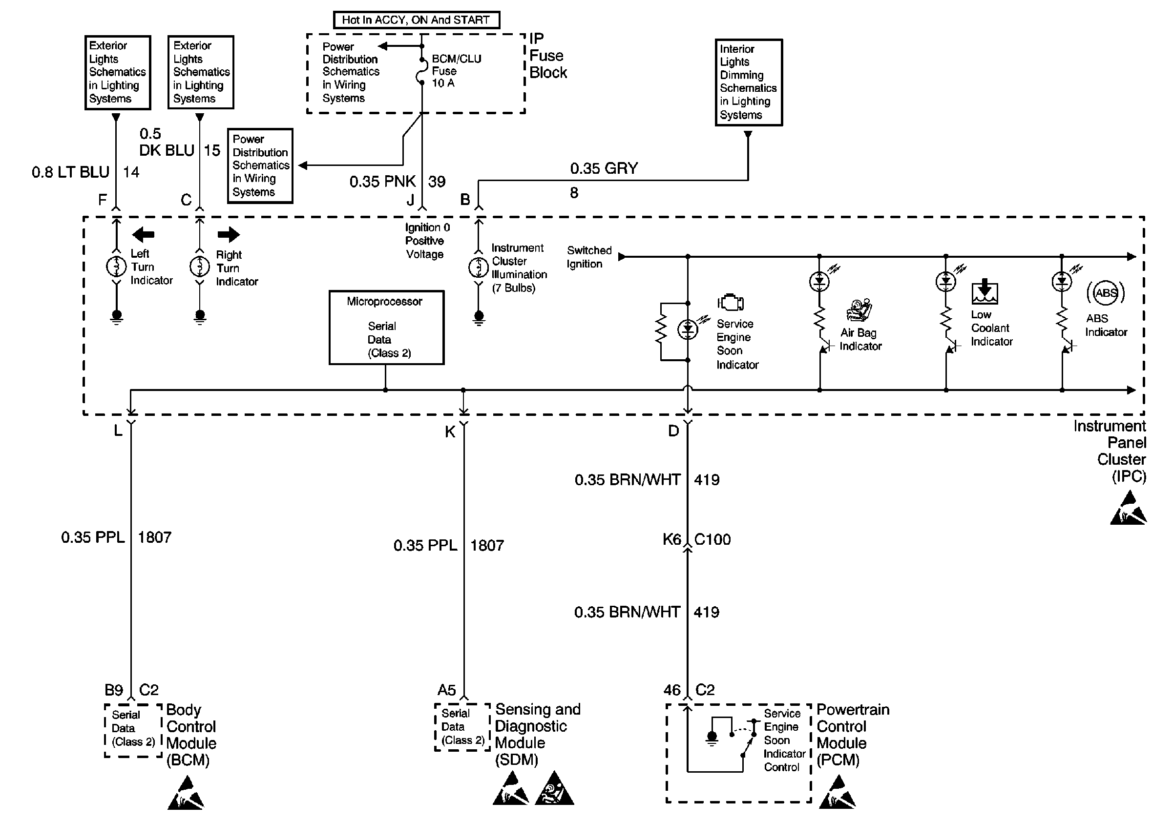
🢒 Instrument Cluster: Analog Schematics
Figure
1:
Power and Class 2 Data Lines
Figure
2:
Indicators
Figure
3:
Grounds