GM Service Manual Online
For 1990-2009 cars only

Removal Procedure

  1. Raise and support the hood.

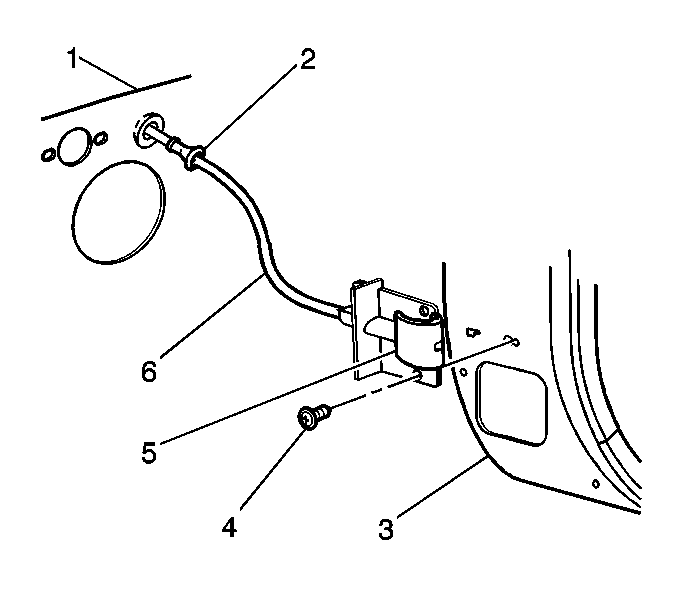
  2. Object Number: 581564  Size: SH
  3. Pull the hood latch release cable (6) rearward in order to separate the grommet (2) from the dash panel (1).

  4. Object Number: 581565  Size: SH
  5. Remove the end of the hood latch release cable (1) from the hood latch (2).

  6. Object Number: 581564  Size: SH
  7. Remove the screws that retain the handle (5) to the hood latch release cable (6).
  8. Remove the handle (5) from the hood latch release cable (6) by pushing the handle (5) forward.
  9. Pull the floor carpet away from the floor in order to access the hood latch release cable (6).
  10. Remove the hood latch release cable (6) by pulling from inside the passenger compartment.

Installation Procedure


    Object Number: 581564  Size: SH
  1. Insert the hood latch release cable (6) through the opening in the dash panel (1).
  2. Pull the hood latch release cable (6) from the engine compartment in order to seat the grommet (2).
  3. Install the floor carpet into place.
  4. Pull the hood latch release cable (6) rearward.
  5. Notice: Use the correct fastener in the correct location. Replacement fasteners must be the correct part number for that application. Fasteners requiring replacement or fasteners requiring the use of thread locking compound or sealant are identified in the service procedure. Do not use paints, lubricants, or corrosion inhibitors on fasteners or fastener joint surfaces unless specified. These coatings affect fastener torque and joint clamping force and may damage the fastener. Use the correct tightening sequence and specifications when installing fasteners in order to avoid damage to parts and systems.

  6. Install the screws that retain the handle (5) to the hood latch release cable (6).
  7. Tighten
    Tighten the screws to 27 N·m (20 lb ft).


    Object Number: 581565  Size: SH
  8. Route the hood latch release cable (1) to the hood latch (2).
  9. Install the end of the hood latch release cable to the slot in the hood latch (2).
  10. Install the hood latch release cable (1) into the hood latch (2).
  11. Lower the hood