GM Service Manual Online
For 1990-2009 cars only

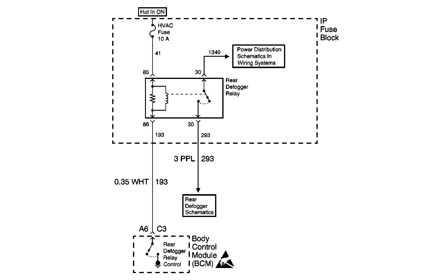
Object Number: 609439  Size: MF

Circuit Description

The body control module (BCM) controls the rear defogger relay. Battery voltage for the relay coil is supplied through the HVAC fuse through circuit 41. The BCM grounds circuit 193 when the rear defogger switch is pressed in order to engage the relay.

Conditions for Running the DTC

The ignition switch is on.

Conditions for Setting the DTC

The rear defogger control circuit is open or shorted to ground for 5 seconds.

Action Taken When the DTC Sets

    • If the rear defogger control circuit is open, the rear defogger is inoperative.
    • If the rear defogger control circuit is shorted to ground, the rear defogger will be on all the time with the ignition switch on.

Conditions for Clearing the DTC

    • A current DTC B0285 will clear when the malfunction is no longer present.
    • All BCM history codes will clear after 100 ignition cycles with no current codes active during the 100 ignition cycles.

Diagnostic Aids

Try performing the tests while wiggling the wiring and connectors. This may often cause the malfunction to appear.

Test Description

The number(s) below refer to the step number(s) on the diagnostic table.

  1. Listen for an audible click when the rear defogger relay operates. Command both the ON and OFF states. Repeat the commands as necessary.

  2. Tests for voltage at the coil side of the rear defogger relay. The HVAC fuse supplies power to the coil side of the rear defogger relay.

  3. Verifies that the body control module is providing ground to the rear defogger relay.

  4. Tests if ground is constantly being applied to the rear defogger relay.

Step

Action

Yes

No

1

Did you perform the Stationary Windows Diagnostic System Check?

Go to Step 2

Go to A Diagnostic System Check-Stationary Windows

2

  1. Install a scan tool.
  2. Turn ON the ignition, with the engine OFF.
  3. With a scan tool, command the rear defogger relay ON and OFF.

Does the rear defogger relay turn ON and OFF with each command?

Go to Testing for Intermittents and Poor Connections in Wiring Systems

Go to Step 3

3

  1. Turn OFF the ignition.
  2. Disconnect the rear defogger relay.
  3. Turn ON the ignition, with the engine OFF.
  4. Probe the coil side feed circuit of the rear defogger relay with a test lamp that is connected to a good ground.

Does the test lamp illuminate?

Go to Step 4

Go to Step 10

4

  1. Connect a test lamp between the control circuit of the rear defogger relay and the coil side feed circuit of the rear defogger relay.
  2. With a scan tool, command the rear defogger relay ON and OFF.

Does the test lamp turn ON and OFF with each command?

Go to Step 8

Go to Step 5

5

Does the test lamp remain illuminated with each command?

Go to Step 7

Go to Step 6

6

Test the control circuit of the rear defogger relay for an open. Refer to Circuit Testing and Wiring Repairs in Wiring Systems.

Did you find and correct the condition?

Go to Step 13

Go to Step 9

7

Test the control circuit of the rear defogger relay for a short to ground. Refer to Circuit Testing and Wiring Repairs in Wiring Systems.

Did you find and correct the condition?

Go to Step 13

Go to Step 9

8

Inspect for poor connections at the rear defogger relay. Refer to Testing for Intermittents and Poor Connections and Connector Repairs in Wiring Systems.

Did you find and correct the condition?

Go to Step 13

Go to Step 11

9

Inspect for poor connections at the harness connector of the body control module. Refer to Testing for Intermittents and Poor Connections and Connector Repairs in Wiring Systems.

Did you find and correct the condition?

Go to Step 13

Go to Step 12

10

Repair the coil side feed circuit of the rear defogger relay. Refer to Wiring Repairs in Wiring Systems.

Did you complete the repair?

Go to Step 13

--

11

Replace the rear defogger relay.

Did you complete the replacement?

Go to Step 13

--

12

Replace the body control module. Refer to Body Control Module Replacement in Body Control System.

Important: Perform the set up procedure for the body control module. Refer to BCM Programming/RPO Configuration in Body Control System.

Did you complete the replacement?

Go to Step 13

--

13

  1. Use the scan tool in order to clear the DTCs .
  2. Operate the vehicle within the Conditions for Running the DTC as specified in the supporting text.

Does the DTC reset?

Go to Step 2

System OK