GM Service Manual Online
For 1990-2009 cars only

EVAP Canister Purge Solenoid Inspection

Caution: Do not breathe the air through the EVAP component tubes or hoses. The fuel vapors inside the EVAP components may cause personal injury.

Tools Required

J 39200


    Object Number: 240811  Size: SH
  1. Remove the EVAP canister purge solenoid valve. Refer to Evaporative Emission Canister Purge Solenoid Valve Replacement
  2. Measure the resistance of the EVAP canister purge solenoid valve between both terminals, using a DMM (1).
  3. Measure
    EVAP Canister Purge Valve resistance is 27-33 ohms at 20°C (68°F).

  4. Replace the EVAP canister purge solenoid valve (1) if the solenoid valve is not within specification. If the solenoid valve resistance is less than 27 ohms, the PCM may be damaged. Check the PCM and repair as necessary.

  5. Object Number: 240813  Size: SH
  6. Check for continuity on each terminal to the valve body.
  7. Replace the EVAP canister purge solenoid valve if continuity is detected.

  8. Object Number: 240815  Size: SH
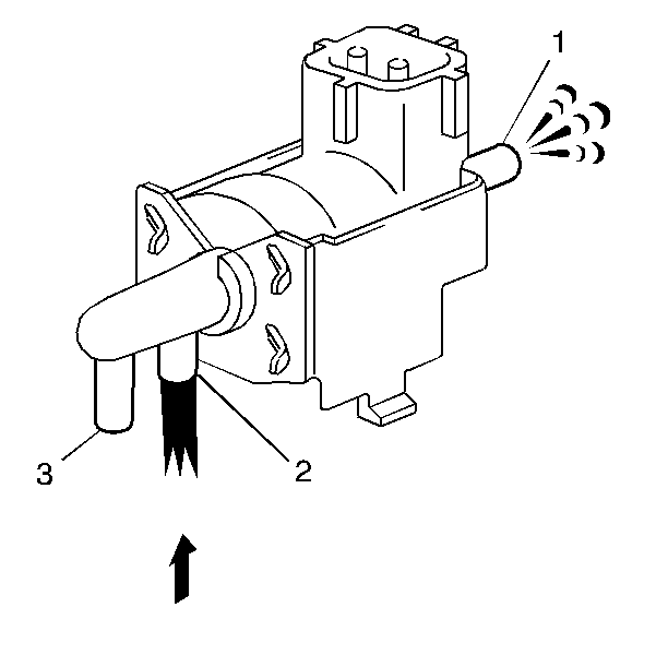
  9. Blow air into port A (2). There should be high resistance to air flow to port B (1).

  10. Object Number: 240817  Size: SH
  11. Apply battery voltage across the terminals of the EVAP canister purge solenoid valve.
  12. Blow air into port A (2). The air should flow easily to port B (1).
  13. Replace the EVAP canister purge solenoid valve if the valve failed either test.
  14. Install the EVAP canister purge solenoid valve. Refer to Evaporative Emission Canister Purge Solenoid Valve Replacement .

EVAP Pressure Switching Solenoid Inspection

Caution: Do not breathe the air through the EVAP component tubes or hoses. The fuel vapors inside the EVAP components may cause personal injury.

Tools Required

J 39200


    Object Number: 240954  Size: SH
  1. Remove the EVAP pressure switching solenoid. Refer to Evaporative Emission Pressure Switching Solenoid Replacement .
  2. Measure the resistance of the EVAP pressure switching solenoid between both terminals, using a DMM.
  3. Measure
    The EVAP pressure switching solenoid resistance is 37-44 ohms at 20°C (68°F).

  4. Replace the EVAP pressure switching solenoid if the solenoid is not within specification. If the solenoid resistance is less than 27 ohms, the PCM may be damaged. Check the operation of the EVAP pressure switching solenoid control circuit with a scan tool and repair as necessary.

  5. Object Number: 240955  Size: SH
  6. Check for continuity on each terminal to the valve body.
  7. Replace the EVAP pressure switching solenoid if continuity is detected.

  8. Object Number: 240959  Size: SH
  9. Blow air into port B (2), air should flow through the valve and out of port A (1).

  10. Object Number: 240963  Size: SH
  11. Apply battery voltage across the terminals of the EVAP pressure switching solenoid.
  12. Blow air into port B (2), air should flow through the valve and out of port C (3).
  13. Replace the EVAP pressure switching solenoid if the solenoid failed either test.
  14. Install the EVAP pressure switching solenoid. Refer to Evaporative Emission Pressure Switching Solenoid Replacement .

Fuel Tank Pressure Sensor Inspection

Tools Required

    • J 39200
    • J 23738-A

    Object Number: 241188  Size: SH
  1. Disconnect the fuel tank pressure sensor electrical connector (4).
  2. Turn ON the ignition, leaving the engine OFF.
  3. Measure the voltage between the 5 volt reference (2) and the sensor ground circuit (1) with a DMM.
  4. Measure
    The DMM should read 5.0 volts.

  5. If the measured voltage is not 5.0 volts for both tests, inspect for the following conditions:
  6. • An open or high resistance in the fuel tank pressure sensor 5 volt reference circuit.
    • An open or high reistance in the fuel tank pressure sensor ground circuit.
  7. Refer to Connector Repairs and Wiring Repairs in Wiring Systems.

  8. Object Number: 241192  Size: SH
  9. Measure the voltage of the fuel tank pressure sensor input circuit (1) to ground with the DMM.
  10. Measure
    The DMM should read 4.5-5.5 volts.

  11. If the measured voltage is not 4.5-5.5 volts inspect for the following conditions:
  12. • An open or high resistance in the fuel tank pressure sensor input circuit.
    • A short in the fuel tank pressure sensor input circuit.
  13. Refer to Connector Repairs and Wiring Repairs in Wiring Systems.

  14. Object Number: 241197  Size: SH
  15. Turn the Ignition OFF.
  16. Reconnect the fuel tank pressure sensor electrical connector.
  17. Disconnect the vacuum hose from the fuel tank pressure sensor.
  18. Connect a hand held vacuum/pressure pump to the fuel tank pressure sensor.
  19. Select the DC scale on the DMM.
  20. Connect one lead to the fuel tank pressure sensor input circuit at C221, and connect the other lead to ground.
  21. Measure the output voltage under the following conditions:
  22. • Apply vacuum to the fuel tank pressure sensor, 2.0 kPa (15 mm Hg, 0.59 in. Hg).

    Measure
    1.3-2.1 volts

    • Release the vacuum from the fuel tank pressure sensor.

    Measure
    3.0-3.6 volts

    • Apply pressure to the fuel tank pressure sensor 1.5 kPa (0.22 psi)

    Measure
    4.2-4.8 volts

  23. Replace the fuel tank pressure sensor if the measured voltage is not within the test values listed above.
  24. Remove the hand held vacuum pump.
  25. Connect the fuel tank pressure sensor vacuum hose.

EVAP Canister Inspection

Caution: Do not breathe the air through the EVAP component tubes or hoses. The fuel vapors inside the EVAP components may cause personal injury.

Tools Required

J 23738-A


    Object Number: 241403  Size: SH
  1. Remove the EVAP canister. Refer to Evaporative Emission Canister Replacement .
  2. Install a plug into port (4). Keep port (4) plugged for all checks.
  3. While holding port (5) closed, blow air (1.7 kPa [0.5 in. Hg/0.25 psi]) into port (1) and check that air flows out of port (2).

  4. Object Number: 241406  Size: SH
  5. While holding port (5) and (2) closed, blow air (1.7 kPa [0.5 in. Hg/0.25 psi]) into port (1) and check that air does NOT flow out of port (3).

  6. Object Number: 241409  Size: SH
  7. While holding port (3) closed, apply vacuum (3.5 kPa [1.0 in. Hg/0.5 psi]) to port (5), check that the vacuum holds while port (3) is closed.
  8. Check that vacuum releases when the port (3) is opened.

  9. Object Number: 241410  Size: SH
  10. While holding port (3) closed, apply vacuum (3.5 kPa [1.0 in. Hg/0.5 psi]) to port (1) and check that air flows into port (5).
  11. If the EVAP Canister Purge Valve failed any of the above tests, replace the EVAP canister.
  12. Remove the plug from the EVAP port.
  13. Install the EVAP canister. Refer to Evaporative Emission Canister Replacement .

EVAP System Inspection


    Object Number: 241396  Size: SH
  1. Visually inspect the EVAP lines, hoses and connection for the following.
  2. • Sharp bends or kinks
    • Deformed lines and hoses
    • Cracks
    • Fuel leakage
  3. Repair or replace any lines and hoses as necessary.
  4. Check the fuel filler cap gasket for being deformed or damaged.

  5. Object Number: 241400  Size: SH
  6. Visually inspect EVAP canister for cracks.
  7. Replace the EVAP canister if damaged.