GM Service Manual Online
For 1990-2009 cars only

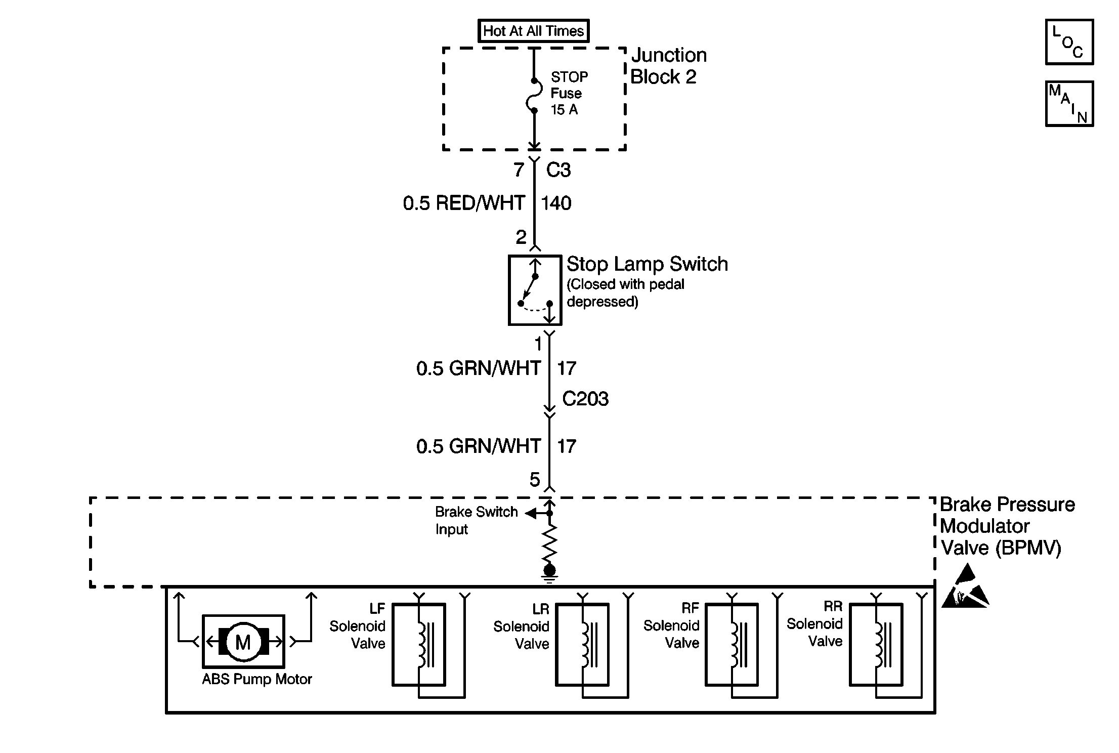
Object Number: 221420  Size: MF
ABS Components
Antilock Brake System Schematics

Circuit Description

The Electronic Brake Control Module (EBCM) monitors the brake pedal position through the stoplamp switch. The stoplamp switch is closed when the brake pedal is pressed and the stop lamp switch opens when the brake pedal is released. When the stoplamp switch is closed, the EBCM terminal 5 receives a voltage signal from the stoplamp switch electrical connector terminal 1. The stoplamp switch receives power from the STOP fuse.

Conditions for Setting the DTC

    • DTC B3449 identifies an open in the stoplamp switch circuit.
    • DTC B3449 can be set anytime.

Action Taken When the DTC Sets

    • A malfunction DTC stores.
    • The ABS warning indicator turns ON.
    • The ABS remains functional.

Conditions for Clearing the DTC

The condition responsible for setting the DTC no longer exists. Use the Scan Tool Clear DTCs function.

Diagnostic Aids

Inspect the following items when diagnosing this part of the Antilock Brake System (ABS):

  1. The STOP fuse is open (possible short to ground in its circuitry).
  2. The stoplamp switch is out of adjustment.
  3. Faulty stoplamp switch (contacts open or closed at the time).
  4. An open circuit between the stoplamp switch and the EBCM.
  5. A short to voltage between the stoplamp switch and the EBCM.

An intermittent malfunction is most likely caused by following conditions:

    • A poor connection
    • A rubbed through wire insulation
    • A wire that is broken inside the insulation

Inspect the harness connectors for the following conditions:

    • Backed-out terminals
    • Improper mating
    • Broken locks
    • Improperly formed or damaged terminals
    • Poor terminal to wiring connections, or physical damage to the wiring harness before component replacement:
      • Junction block electrical connectors
      • Stoplamp switch electrical connector.
      • EBCM electrical connector.

Test Description

The number(s) below refer to the step number(s) on the diagnostic table.

  1. The Diagnostic System Check must be the starting point for any ABS related diagnosis.

  2. Tests the stoplamp switch status of the Electronic Brake control Module (EBCM) through a scan tool.

  3. Tests the tail lamps for proper operation.

  4. Tests for a stoplamp switch that is out of adjustment or contacts closed all the time.

  5. Tests the power distribution to the stoplamp switch.

  6. Test for an open or a high resistance in the power circuit to the stoplamp switch.

  7. Tests for a faulty stoplamp switch.

  8. Tests for an open or a high resistance in CKT 17.

Step

Action

Value(s)

Yes

No

1

Was the Diagnostic System Check performed?

--

Go to Step 2

Go to Diagnostic System Check

2

  1. Turn the ignition switch to the LOCK position.
  2. Connect a scan tool to the Data Link Connector (DLC).
  3. Select Data Display.
  4. Monitor the stoplamp switch status on the scan tool while pressing the brake pedal.

Does the scan tool display the stoplamp switch status ON with the brake pedal pressed and did the stoplamp switch status OFF with the brake pedal released?

--

Go to Step 17

Go to Step 3

3

With the help of an assistant, press then release brake pedal while observing the rear brake lamps.

Did the brake lamps turn ON with the brake pedal pressed and did the brake lamps turn OFF with the brake pedal released?

--

Go to Step 8

Go to Step 4

4

Do the brake lamps stay ON at all times?

--

Go to Step 9

Go to Step 5

5

Remove and inspect the STOP fuse.

Is the STOP fuse open?

--

Go to Step 10

Go to Step 6

6

  1. Disconnect the stoplamp switch electrical connector.
  2. Using J 39200 DMM, measure the voltage between the stoplamp switch electrical connector terminal 2 (harness side) and ground.

Is the voltage within the range specified in the value(s) column?

0-1 V

Go to Step 11

Go to Step 7

7

  1. Connect J 39200 DMM between the stoplamp switch electrical connectors (stoplamp switch side).
  2. Use J 39200 DMM in order to measure the resistance while pressing and then releasing the brake pedal.

Is the resistance within the range specified in the Value(s) column for both readings?

Brake Pedal Released: OL (Infinite)

Brake Pedal Pressed: 0-2 ohms

Go to Step 12

Go to Step 13

8

  1. Turn the ignition switch to the LOCK position.
  2. Disconnect the stoplamp switch electrical connector.
  3. Disconnect the Electronic Brake Control Module (EBCM) harness connector.
  4. Use J 39200 DMM in order to measure the resistance between the stoplamp switch electrical connector terminal 1 (harness side) and the EBCM electrical connector terminal 5 (harness side).

Is the resistance within the range specified in the Value(s) column?

0-2 ohms

Go to Step 14

Go to Step 15

9

Disconnect the stoplamp switch electrical connector.

Are the brake lamps OFF?

--

Go to Step 13

Go to Step 16

10

Repair the short to ground in CKT 17 or 140. Refer to Wiring Repairs in Wiring Systems.

Is the repair complete?

--

Go to Diagnostic System Check

--

11

Repair the open in CKT 140 between the STOP fuse and the stoplamp switch. Refer to Wiring Repairs in Wiring Systems.

Is the repair complete?

--

Go to Diagnostic System Check

--

12

  1. Inspect the stoplamp switch electrical connector for poor terminal contact. Refer to Stop Lamp Switch Adjustment .
  2. Repair as necessary.
  3. Is the repair complete?

--

Go to Diagnostic System Check

--

13

  1. Test the stoplamp switch for proper adjustment. Refer to Stop Lamp Switch Adjustment .
  2. If adjustment is OK, replace the stoplamp switch. Refer to Stop Lamp Switch Replacement for replacement procedures.
  3. Is the repair complete?

--

Go to Diagnostic System Check

14

  1. Inspect the EBCM electrical connector terminal 5 for poor contact.
  2. If the EBCM electrical connector is OK, replace the brake pressure modulator valve assembly. Refer to Brake Pressure Modulator Valve Assembly Replacement .
  3. Is the repair complete?

--

Go to Diagnostic System Check

--

15

Repair the open in CKT 17 between the stoplamp switch harness connector terminal 1 and the EBCM harness connector terminal 5. Refer to Wiring Repairs in Wiring Systems.

Is the repair complete?

--

Go to Diagnostic System Check

--

16

Repair the short to voltage in CKT 17. Refer to Wiring Repairs in Wiring Systems.

Is the repair complete?

--

Go to Diagnostic System Check

--

17

A malfunction is not present at this time. Refer to Diagnostic Aids for additional information regarding this DTC.

Is the action complete?

--

Go to Diagnostic System Check

--