GM Service Manual Online
For 1990-2009 cars only

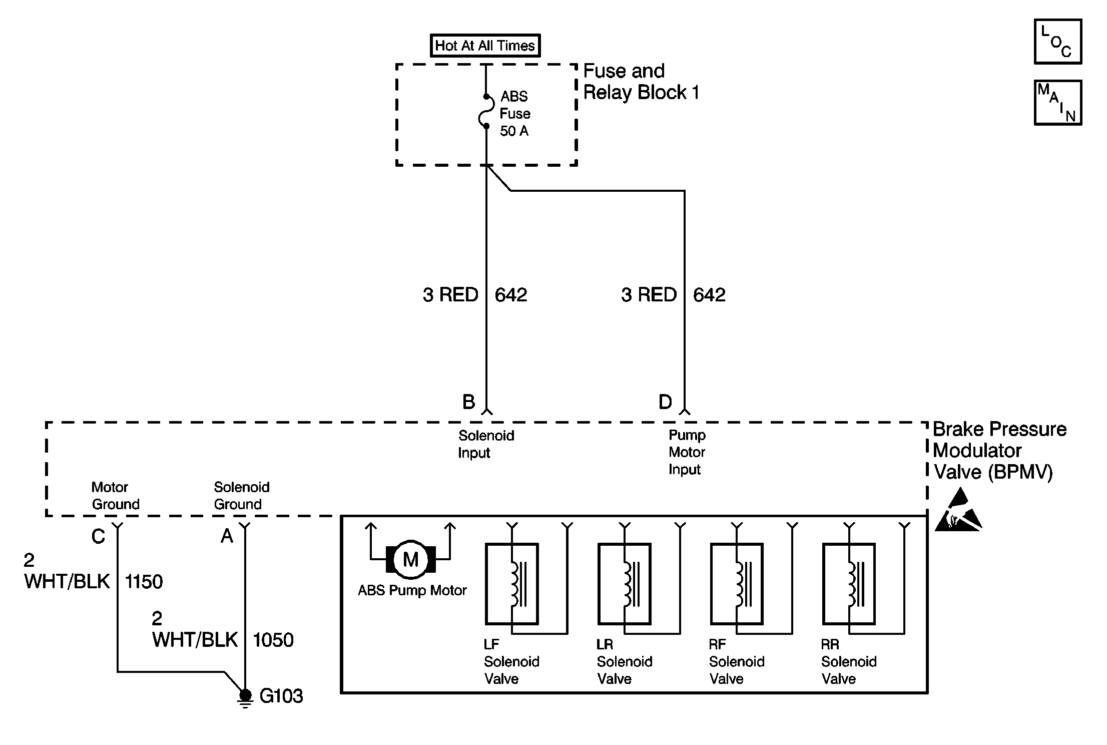
Object Number: 221432  Size: MF
ABS Components
Antilock Brake System Schematics

Circuit Description

The valve relay is part of the Electronic Brake Control Module (EBCM). The EBCM turns ON the valve relay when the ignition switch is in the ON position and no malfunction exists in the ABS. The valve relay provides power to the ABS solenoid valves.

Conditions for Setting the DTC

    • The EBCM detects that the valve relay is ON, when actually the EBCM commanded the valve relay OFF.
    • DTC C0121 can be set within 3 seconds after the ignition switch is turned to the ON position.

Action Taken When the DTC Sets

    • A malfunction DTC stores.
    • The ABS disables.
    • The ABS warning indicator turns ON.

Conditions for Clearing the DTC

The condition responsible for setting the DTC no longer exists and the Scan Tool Clear DTCs function is used.

Diagnostic Aids

Inspect for the following when diagnosing this part of the Antilock Brake System (ABS):

    • The ABS fuse.
    • Open or high resistance in the pump input circuit (CKT D).

Inspect the harness connectors for the following conditions:

    • Backed-out terminals
    • Improper mating
    • Broken locks
    • Improperly formed or damaged terminals
    • Poor terminal to wiring connections or physical damage to the wiring harness

Test Description

The number(s) below refer to the step number(s) on the diagnostic table.

  1. The Diagnostic System Check must be the starting point for any ABS related diagnosis.

  2. If the condition for the malfunction is currently present the Electronic Brake Control Module (EBCM) is faulty.

  3. Confirms whether a valve relay circuit malfunction currently exists or the condition is intermittent.

Step

Action

Value(s)

Yes

No

1

Was the Diagnostic System Check performed?

--

Go to Step 2

Go to Diagnostic System Check

2

Is DTC C0121 set as a Current DTC?

--

Go to Step 4

Go to Step 3

3

  1. Connect a scan tool to the Data Link Connector (DTC).
  2. Turn the ignition switch to the ON position.
  3. Select Diagnostic Trouble Codes (DTC) on the scan tool.
  4. Select Clear DTC Information on the scan tool.
  5. Turn the ignition switch to the LOCK position.
  6. Disconnect the scan tool from the DLC.
  7. Turn the ignition switch to the ON position.
  8. Wait 30 seconds then reconnect the scan tool to the DLC.
  9. Select Diagnostic Trouble Codes (DTC) on the scan tool.
  10. Select DTC Information on the scan tool.
  11. Select Current DTC on the scan tool.

Is DTC C0121 set as a Current DTC?

--

Go to Step 4

Go to Step 5

4

Replace the brake pressure modulator valve assembly. Refer to Brake Pressure Modulator Valve Assembly Replacement .

Is the repair complete?

--

Go to Diagnostic System Check

--

5

A malfunction is not present at this time. Refer to Diagnostic Aids for additional information regarding this DTC.

Is the action complete?

--

Go to Diagnostic System Check

--