GM Service Manual Online
For 1990-2009 cars only

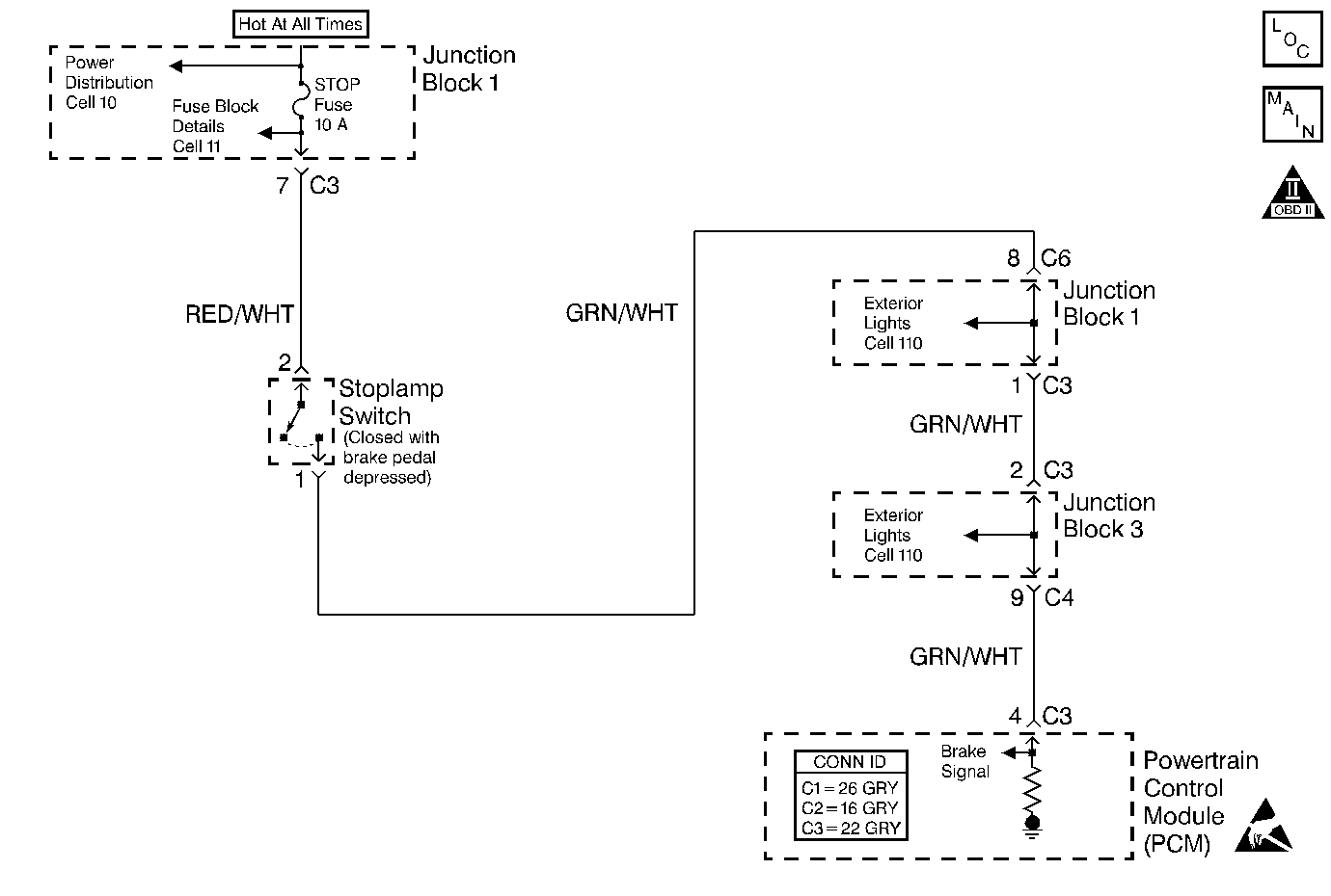
Object Number: 245542  Size: MF
Engine Controls Components
Cell 20: Idle Up signals
OBD II Symbol Description Notice
Handling ESD Sensitive Parts Notice

Circuit Description

The powertrain control module (PCM) will detect a malfunction when the stoplamp switch is in the closed position (stoplamps ON) when the stoplamp switch should be open (stoplamps OFF). The DTC P1520 is only supported on vehicles with an automatic transmission. If the stoplamp switch is closed, the PCM will not allow the TCC lock-up to occur. The PCM also uses the stoplamp switch input for fuel cut-off control.

Conditions for Running the DTC

    • The engine is running.
    • Vehicle speed is greater than 30 km/h (19 mph).

Conditions for Setting the DTC

The stoplamp switch always remains in the ON position.

Action Taken When the DTC Sets

    • The PCM illuminates the malfunction indicator lamp (MIL) after two consecutive ignition cycles in which the diagnostic runs with the fault active.
    • The PCM stores the conditions which were present when the DTC set as Freeze Frame Data.

Conditions for Clearing the MIL/DTC

    • The PCM turns OFF the MIL on the third consecutive trip cycle during which the diagnostic has been run and the fault condition is no longer present.
    • The DTC clears after 40 consecutive warm-up cycles have occurred without a fault.
    • A DTC can be cleared by using the scan tool Clear DTC Information function.

Diagnostic Aids

An intermittent malfunction may be caused by a fault in the stplamp switch electrical circuit. Inspect the wiring harness and components for any of the following conditions:

    • Backed out terminals.
    • Improper mating of terminals.
    • Broken electrical connectors locks.
    • Improperly formed or damaged terminals
    • Faulty terminal to wire connections.
    • Physical damage to the wiring harness.
    • A broken wire inside the insulation.
    • Corrosion of electrical connections, splices, or terminals.

Repair any electrical circuit faults that were found. Refer to Wiring Repairs in Wiring Systems.

The information included in the Freeze Frame data can be useful in determining the vehicle operating conditions when the DTC first set.

Test Description

The numbers below refer to the step numbers in the Diagnostic Table.

  1. The OBD System Check prompts the technician to complete some basic checks and store the freeze frame data on the scan tool if applicable. This creates an electronic copy of the data taken when the fault occurred. The information is then stored in the scan tool for later reference.

  2. This step will determine if the fault is in the stoplamp switch.

  3. This step will determine whether there is a short to voltage in the stoplamp circuit between the PCM and the stoplamp switch.

  4. This step will determine whether there is a short to voltage within the PCM or a short to voltage in the circuit between the PCM and the stoplamp switch.

Step

Action

Value(s)

Yes

No

1

Did you perform the Powertrain On-Board Diagnostic (OBD) System Check?

--

Go to Step 2

Go to Powertrain On Board Diagnostic (OBD) System Check

2

  1. Turn OFF the ignition.
  2. The brake pedal released.
  3. Observe the stoplamps.

Do the stoplamps remain ON?

--

Go to Step 3

Go to Step 5

3

  1. Disconnect the stoplamp switch electrical connector.
  2. Observe the stoplamps.

Do the stoplamps remain ON?

--

Go to Step 4

Go to Step 7

4

  1. Disconnect the PCM electrical connector.
  2. stoplamp switch electrical connector still disconnected.
  3. Measure voltage at the stoplamp switch connector terminal 1, using a DMM.

Does the DMM read above the specified voltage?

0 volts

Go to Step 8

Go to Step 10

5

  1. Observe the TCC brake switch parameter, using a scan tool.
  2. The brake pedal released.

Does the scan tool indicate the stoplamp switch being in the Released position?

--

Go to Diagnostic Aids

Go to Step 6

6

  1. Disconnect the PCM electrical connector.
  2. Back out the brake signal circuit terminal.
  3. Reconnect the PCM electrical connector.
  4. Observe the TCC brake switch parameter, using a scan tool.

Does the scan tool indicate the stoplamp switch being in the Released position?

--

Go to Step 8

Go to Step 10

7

  1. Check for a misadjusted stoplamp switch
  2. Adjust the stoplamp switch as necessary. Refer to Stop Lamp Switch Adjustment in Hydraulic Brakes.

Was adjustment of the stoplamp necessary?

--

Go to Step 11

Go to Step 9

8

Repair the short to voltage in the brake signal circuit between the stoplamp switch electrical connector and the PCM. Refer to Wiring Repairs in Wiring System.

Is the action complete?

--

Go to Step 11

--

9

Replace the stoplamp switch. Refer to Stop Lamp Switch Replacement in Hydraulic Brakes.

Is the action complete?

--

Go to Step 11

--

10

Replace the PCM. Refer to Powertrain Control Module Replacement .

Is the action complete?

--

Go to Step 11

--

11

  1. Perform the scan tool Clear DTC Information function and road test the vehicle within the Freeze Frame conditions that set the DTC.
  2. Check for DTCs.
  3. Review the scan tool data and if no DTCs are stored repair is complete.

Are any DTCs displayed on scan tool?

--

Go to the applicable table

System OK