GM Service Manual Online
For 1990-2009 cars only
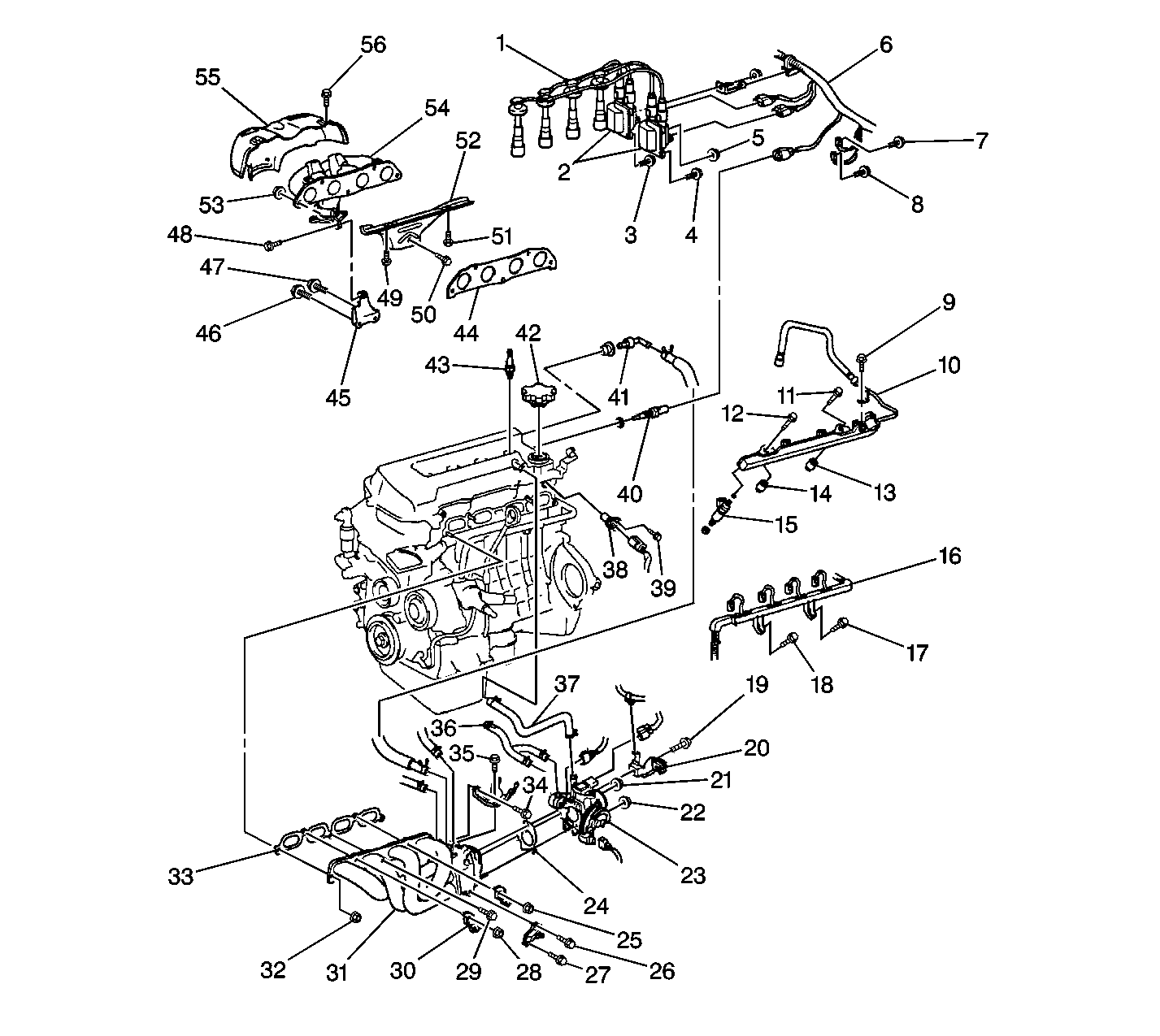
Figure 1:

Intake and Exhaust Manifold Components


Object Number: 361167  Size: LF
(1)Secondary Ignition Harness
(2)Ignition Coils
(3)Bolt, Ignition Coil
(4)Bolt, Ignition Coil
(5)Nut, Ignition Coil
(6)Engine Wire Harness
(7)Bolt, Ground Wire
(8)Bolt, Ground Wire
(9)Bolt, Fuel Rail
(10)Fuel Rail
(11)Bolt, Fuel Rail
(12)Bolt, Fuel Rail
(13)Spacer, Fuel Rail
(14)Spacer, Fuel Rail
(15)Fuel Injector
(16)Fuel Injector Wire Harness
(17)Bolt, Wire Harness
(18)Bolt, Wire Harness
(19)Bolt, Accelerator Cable Bracket
(20)Accelerator Cable Bracket
(21)Nut, Throttle Body
(22)Nut, Throttle Body
(23)Throttle Body
(24)Gasket, Throttle Body
(25)Nut, Intake Manifold
(26)Bolt, Intake Manifold
(27)Bolt, Intake Manifold
(28)Nut, Intake Manifold
(29)Bolt, Intake Manifold
(30)Bracket, Intake Manifold
(31)Intake Manifold
(32)Nut, Intake Manifold
(33)Gasket, Intake Manifold
(34)Bolt, Hose Bracket
(35)Bolt, Hose Bracket
(36)Water Bypass Hose
(37)PCV Hose
(38)Camshaft Position Sensor
(39)Bolt, Camshaft Position Sensor
(40)ECT Sensor
(41)PCV Valve
(42)Oil Filler Cap
(43)Spark Plug
(44)Gasket, Exhaust Manifold
(45)Exhaust Manifold Bracket
(46)Bolt, Exhaust Manifold Bracket
(47)Bolt, Exhaust Manifold Bracket
(48)Bolt, Exhaust Manifold Bracket
(49)Bolt, Lower Heat Shield
(50)Bolt, Lower Heat Shield
(51)Bolt, Lower Heat Shield
(52)Lower Heat Shield
(53)Nut, Exhaust Manifold
(54)Exhaust Manifold
(55)Upper Heat Shield
(56)Bolt, Upper Heat Shield
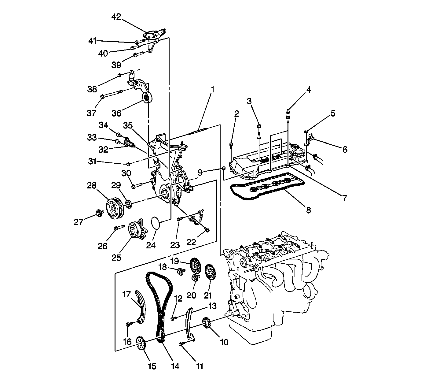
Figure 2:

Cylinder Head and Components


Object Number: 361135  Size: LF
(1)Nut, Cylinder Head Cover
(2)Bolt, Cylinder Head Cover
(3)Cylinder Head Cover
(4)Bolt, Cylinder Head Cover
(5)Bolt, Cylinder Head Cover
(6)Nut, Accelerator Cable Bracket
(7)Accelerator Cable Bracket
(8)Gasket, Cylinder Head Cover
(9)Bolt, Camshaft Bearing Cap
(10)Bolt, Camshaft Bearing Cap
(11)Bolt, Camshaft Bearing Cap
(12)Bolt, Camshaft Bearing Cap
(13)Bolt, Camshaft Bearing Cap
(14)Front Camshaft Bearing Cap
(15)Camshaft Bearing Cap
(16)Bolt, Camshaft Sprocket
(17)Camshaft Sprocket
(18)Exhaust Camshaft
(19)Bolt, Camshaft Sprocket
(20)Camshaft Sprocket
(21)Intake Camshaft
(22)Valve Lifter
(23)Valve Keepers
(24)Valve Spring Retainer
(25)Valve Spring
(26)Valve Oil Seal
(27)Valve Spring Seat
(28)Valve Guide Bushing
(29)Valve
(30)Cylinder Head
(31)Cylinder Head Bolt
(32)Cylinder Head Bolt Washer
(33)Cylinder Head Gasket
(34)Timing Chain Dampener
(35)Bolt, Timing Chain Dampener
(36)Bolt, Timing Chain Dampener
(37)Bolt, Crankshaft Position Sensor
(38)Bolt, Crankshaft Position Sensor Harness
(39)O-Ring, Coolant Pump
(40)Coolant Pump
(41)Bolt, Coolant Pump
(42)Bolt, Crankshaft Pulley
(43)Crankshaft Pulley
(44)Crankshaft Front Oil Seal
(45)Crank Sensor Reluctor
(46)Timing Chain Cover
(47)Bolt, Timing Chain Tensioner Shoe
(48)Timing Chain Tensioner Shoe
(49)Bolt, Timing Chain Cover
(50)Nut, Timing Chain Cover
(51)Timing Chain Tensioner
(52)Bolt, Timing Chain Tensioner
(53)Bolt, Timing Chain Tensioner
(54)Timing Chain Cover Stud
(55)Drive Belt Tensioner
(56)Bolt, Drive Belt Tensioner
(57)Nut, Drive Belt Tensioner
(58)Bolt, RH Engine Mounting Bracket
(59)Bolt, RH Engine Mounting Bracket
(60)Bolt, RH Engine Mounting Bracket
(61)RH Engine Mounting Bracket
Figure 3:

Cylinder Block, Crankshaft, Connecting Rod and Piston Components


Object Number: 361150  Size: LF
(1)Connecting Rod Bushing
(2)Connecting Rod
(3)Connecting Rod Bearing
(4)Connecting Rod Bearing
(5)Connecting Rod Cap
(6)Bolt, Connecting Rod
(7)Bolt, Connecting Rod
(8)Cylinder Block
(9)Crankshaft Thrust Washer
(10)Upper Main Bearing
(11)Crankshaft Thrust Washer
(12)Crankshaft Rear Oil Seal
(13)Crankshaft
(14)Lower Main Bearing
(15)Lower Crankcase
(16)Oil Filter Union
(17)Oil Filter
(18)Bolt, Lower Crankcase
(19)Bolt, Lower Crankcase
(20)Oil Pan
(21)Bolt, Oil Pan
(22)Nut, Oil Pan
(23)Gasket, Drain Plug
(24)Drain Plug
(25)Nut, Oil Pan
(26)Bolt, Oil Strainer
(27)Oil Strainer
(28)Nut, Oil Strainer, Bracket
(29)Gasket, Oil Strainer
(30)Nut, Oil Strainer
(31)Piston Snap Ring
(32)Piston Pin
(33)Piston Snap Ring
(34)Piston
(35)Piston O-Ring (Side Rail)
(36)Piston Oil Ring (Expander)
(37)Piston O-Ring (Side Rail)
(38)Piston No.2 Compression Ring
(39)Piston No. 2 Compression Ring
Figure 4:

Timing Chain and Housing Components


Object Number: 361158  Size: LF
(1)Timing Chain Cover Stud
(2)Bolt, Cylinder Head Cover
(3)Bolt, Cylinder Head Cover
(4)Bolt, Cylinder Head Cover
(5)Nut, Accelerator Cable Bracket
(6)Accelerator Cable Bracket
(7)Cylinder Head Cover
(8)Gasket, Cylinder Head Cover
(9)Nut, Cylinder Head Cover
(10)Crankshaft Sprocket
(11)Bolt, Timing Chain Tensioner Shoe
(12)Bolt, Timing Chain Tensioner Shoe
(13)Timing Chain Dampener
(14)Timing Chain
(15)Crankshaft Sensor Reluctor
(16)Bolt, Chain Tensioner Shoe
(17)Timing Chain Tensioner Shoe
(18)Bolt, Camshaft Sprocket
(19)Camshaft Sprocket
(20)Bolt, Camshaft Sprocket
(21)Camshaft Sprocket
(22)Bolt, Crankshaft Position Sensor
(23)Bolt, Crankshaft Position Sensor
(24)O-Ring Coolant Pump
(25)Coolant Pump
(26)Bolt, Coolant Pump
(27)Bolt, Crankshaft Pulley
(28)Crankshaft Pulley
(29)Crankshaft Front Oil Seal
(30)Bolt, Timing Chain Cover
(31)Nut, Timing Chain Cover
(32)Timing Chain Tensioner
(33)Bolt, Timing Chain Tensioner
(34)Bolt, Timing Chain Tensioner
(35)Timing Chain Cover
(36)Drive Belt Tensioner
(37)Bolt, Drive Belt Tensioner
(38) Nut, Drive Belt Tensioner
(39)Bolt, RH Engine Mounting Bracket
(40)Bolt, RH Engine Mounting Bracket
(41)Bolt, RH Engine Mounting Bracket
(42)RH Engine Mounting Bracket
Figure 5:

Oil and Cooling System Components


Object Number: 361183  Size: LF
(1)Bolt, Water Bypass Pipe Bracket
(2)Water Bypass Hose
(3)Water Bypass Hose
(4)Water Bypass Hose
(5)Oil Level Indicator
(6)Bolt, Oil Level Indicator Tube
(7)Bolt, Water Bypass Pipe
(8)Water Bypass Pipe
(9)Gasket, Water Bypass Pipe
(10)Cylinder Block
(11)Oil Level Indicator Tube
(12)O-Ring, Oil Level Indicator Tube
(13)Knock Sensor
(14)Thermostat
(15)Gasket, Thermostat
(16)Thermostat Housing Inlet
(17)Nut, Thermostat Housing Inlet
(18)Nut, Thermostat Housing Inlet
(19)Bolt, Oil Pump
(20)Oil Pump
(21)Gasket, Oil Pump
(22)Drain Union (Engine Coolant)
(23)Nut, Water Bypass Pipe
(24)Nut, Water Bypass Pipe
(25)Cylinder Head