GM Service Manual Online
For 1990-2009 cars only

Fuel Tank Assembly


Object Number: 230491  Size: SF
(1)Fuel Sender Assembly
(2)Fuel Limiter Vent Valve (FLVV)
(3)Fuel Filler Pipe Assembly
(4)Fuel Filler Cap
(5)Fuel Filler Sleeve
(6)Fuel Filler Hose
(7)Fuel Tank
(8)EVAP Vent Valve (with rollover valve)
(9)Fuel Sender Assembly Gasket
(10)Fuel Sender Assembly Hold Down Plate

This vehicle is equipped with a returnless fuel system (On-Demand) that reduces evaporative emissions. The fuel pressure regulator is housed inside of the fuel tank and is part of the fuel sender assembly. Locating the fuel pressure regulator in the fuel tank eliminates the need for a return line of fuel from the fuel rail. The On-Demand system prevents the internal temperature of the fuel tank from rising and thereby reduces evaporative emissions.

The supply of fuel is stored in the fuel tank. An electric fuel pump pressurizes the fuel through to the fuel filter and out to the fuel lines and the fuel rail. The electric fuel pump is suspended from the top of the fuel tank as part of the fuel sender assembly. The fuel pump is designed to provide fuel at a pressure above the regulated pressure needed by the fuel injectors. The fuel pressure regulator keeps the fuel supplied to the fuel injectors at the regulated pressure.

The engine is designed to use only unleaded fuel. Unleaded fuel must be used for proper emission control system operation. Using unleaded fuel will also decrease spark plug fouling and extend engine oil life. Leaded fuel can damage the emission control system, and its use can result in the loss of emission warranty coverage.

The fuel system is also equipped with an enhanced evaporative emission system and an on-board refueling vapor recovery (ORVR) system. Together the two systems minimize the release of fuel vapors to the atmosphere.

Fuel Tank

The fuel tank has a storage capacity of 50 liters (13.2 gallons). The tank is manufactured from steel and is located behind the rear seat area. The tank is held in place with four bolts. The shape of this tank was designed to allow for a constant supply of fuel around the fuel pump strainer during low fuel conditions and also during aggressive vehicle maneuvers. The fuel inlet port on the tank is equipped with an inlet valve. This fuel tank inlet valve prevents the fuel from spewing into the fuel filler neck during aggressive vehicle maneuvers or vehicle rollovers. The fuel tank is equipped with an on-board refueling vapor recovery (ORVR) system.

The fuel tank, pipes, and hoses should be checked for any road damage which could result in leakage. Also inspect the fuel filler cap for a correct seal and any indications of physical damage.

Fuel Tank Filler Neck

In order to prevent refueling with leaded fuel, the fuel filler neck has a built-in restrictor and deflector. The opening of the restrictor only admits the smaller unleaded fuel nozzle. The nozzle must be fully inserted to bypass the deflector. Any attempt at refueling with leaded fuel will result in fuel splashing out of the filler neck.

Fuel Filler Cap


Object Number: 426163  Size: SH

Notice: If a fuel tank filler pipe cap requires replacement, use only a fuel tank filler pipe cap with the same features. Failure to use the correct fuel tank filler pipe cap can result in a serious malfunction of the fuel system.

The fuel filler cap is a pressure-vacuum type. A built-in torque limiting device on the cap prevents overtightening and also eliminates the escape of fuel vapors. To install, turn the cap clockwise until a clicking noise is heard. This indicates that the fuel filler cap gasket (1) is fully seated.

A vacuum relief valve is incorporated into the fuel filler cap. If the pressure in the fuel tank becomes negative (vacuum), the relief valve opens to relieve the pressure created within the fuel tank. Only when the vacuum becomes excessive within the tank does this occur. Vacuum pressure is also vented through the tank pressure control valve which is located on the top of the fuel tank.

A pressure relief valve is also located in the fuel filler cap. The pressure of the fuel vapor within the tank should exceed that for which the fuel system is designed, the pressure relief valve opens, and the excess pressure is vented to the atmosphere.

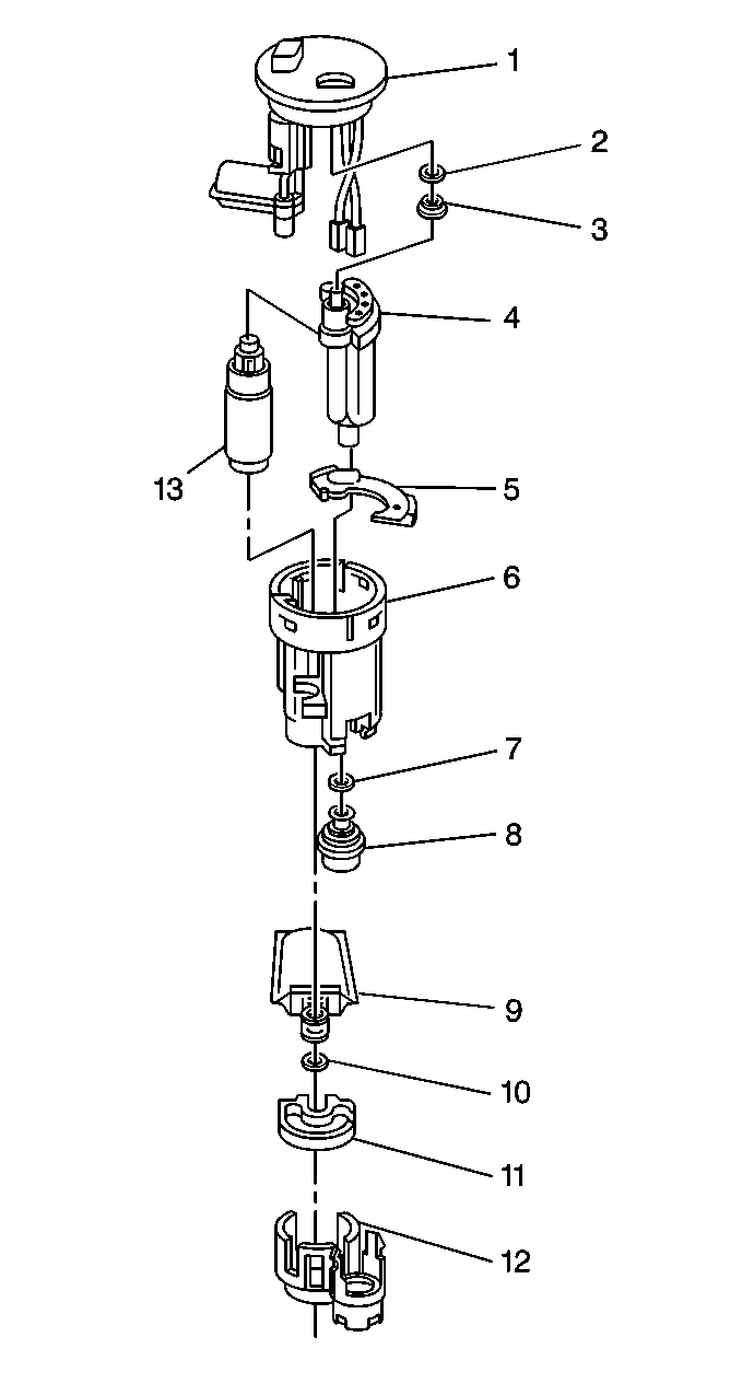
Fuel Sender Assembly


Object Number: 321520  Size: LH
(1)Fuel Level Sensor and Gauge Unit Assembly
(2)Fuel Filter O-ring
(3)Fuel Filter Spacer (Cap)
(4)Fuel Filter
(5)Fuel Filter Cushion
(6)Fuel Sender Assembly Housing (Support)
(7)Fuel Pressure Regulator O-ring
(8)Fuel Pressure Regulator
(9)Fuel Pump Strainer
(10)Retaining Clip
(11)Lower Cushion
(12)Fuel Sender Assembly End Cap (Support)
(13)Fuel Pump

The fuel sender assembly is located in the fuel tank. The fuel sender assembly contains the electric fuel pump, the fuel level sensor (fuel gauge sending unit), the fuel pressure regulator, and the fuel filter. Most of the fuel sender assembly components can be serviced separately.

Fuel Level Sensor


Object Number: 230504  Size: SH

The fuel level sensor (fuel gauge sending unit) (4) is part of the fuel sender assembly (1). The fuel level sensor consists of a float, a float arm and a variable resistor. The fuel level is measured by the position of the float in the fuel tank, and is indicated by a gauge in the instrument panel (I/P) cluster assembly. When the fuel level changes, the float position changes. The change in the float position increases or decreases the resistance reading of the variable resistor. The change in the resistance causes the position of the fuel gauge pointer to change.

Fuel Pump

The fuel pump is an electric pump that is controlled by the powertrain control module (PCM) through the Circuit Opening relay. When the PCM commands the fuel pump to operate, an impeller is driven by an electric motor in the pump assembly, causing the fuel in the tank to be drawn into the fuel pump inlet port. The fuel is then pumped under pressure through the fuel filter and the fuel pressure regulator, out to fuel feed pipe and hoses to the fuel rail and the fuel injectors. The fuel pressure is maintained when the fuel pump is not running by a pressure control valve located within the pump. Any excess fuel is returned to the fuel tank by the fuel return pipe and hoses.

Fuel Pump Strainer

The fuel pump strainer attaches to the lower end of the fuel pump and reservoir assembly. The fuel pump strainer is made of woven plastic. The functions of the fuel pump strainer is to filter contaminants and to wick fuel. The fuel pump strainer is self-cleaning and normally requires no maintenance. Fuel stoppage at this point indicates that the fuel tank contains an abnormal amount of sediment or water. Clean the fuel tank and replace a plugged fuel pump strainer with a new one.

Fuel Filter

The fuel filter located in the fuel tank and is part of the fuel sender assembly. The fuel filter housing is constructed to withstand the maximum fuel system pressure, exposure to fuel additives, and changes in temperature. The filter element is made of paper and is designed to trap the particles in the fuel that may cause damage to the fuel injection system.

Fuel Pressure Regulator

The fuel pressure regulator is attached to the fuel filter (2) in the fuel sender assembly. Fuel flows into the fuel filter and the fuel pressure regulator. Excess fuel is then discharged back into the fuel tank

Quick Connect Fittings

Quick connect style fuel fittings provide a simplified means of installing and connecting fuel system components. Depending on the vehicle model, there are two types of quick connect fittings. Different types of fittings are used at different locations in the fuel system. Each type of quick connect fitting consists of a unique female connector and a compatible male fuel pipe end. O-rings located inside of the female connector provide a leak proof seal. Integral locking tabs or fingers hold the quick connect fittings together. A special tool is used to service the quick connect fittings.

Fuel Feed Pipes and Hoses

Caution: In order to Reduce the Risk of Fire and Personal Injury:

   • If nylon fuel pipes are nicked, scratched or damaged during installation, Do Not attempt to repair the sections of the nylon fuel pipes. Replace them.
   • When installing new fuel pipes, Do Not hammer directly on the fuel harness body clips as it may damage the nylon pipes resulting in a possible fuel leak.
   • Always cover nylon vapor pipes with a wet towel before using a torch near them. Also, never expose the vehicle to temperatures higher than 115°C (239°F) for more than one hour, or more than 90°C (194°F) for any extended period.
   • Before connecting fuel pipe fittings, always apply a few drops of clean engine oil to the male pipe ends. This will ensure proper reconnection and prevent a possible fuel leak. (During normal operation, the O-rings located in the female connector will swell and may prevent proper reconnection if not lubricated.)

The fuel feed and return pipes and hoses carry the fuel from the fuel tank to the fuel injectors. These pipes and hoses are attached to the underbody of the vehicle and should be inspected periodically for kinks or dents that could restrict the fuel flow.

Fuel Vapor Pipes and Hoses

The fuel vapor pipe and hoses carry the fuel vapors from the fuel tank to the evaporative emission canister located at the rear of the vehicle, ahead of the fuel tank. The fuel vapors are stored in the canister when the engine is not running. When the engine is running at the normal operating temperature and the accelerator pedal is depressed, the powertrain control module (PCM) will command the evaporative emission canister purge valve to open and allow the stored fuel vapors to be purged into the intake manifold where they will be burned in the combustion process.

On-Board Refueling Vapor Recovery System (ORVR)


Object Number: 161608  Size: SH

The on-board refueling vapor recovery (ORVR) system is an on-board vehicle system designed to recover fuel vapors during the vehicle refueling operation. Instead of allowing fuel vapors to escape to the atmosphere the ORVR system transports the vapor to the EVAP canister for use by the engine. The flow of liquid fuel down the fuel filler neck provides a liquid seal that prevents fuel vapor from leaving the fuel system. The ORVR system architecture varies from platform to platform. Some of the items listed below are optional depending on the platform application. The following is a list of all the ORVR system components with a brief description of their operation:

    • EVAP Canister (1) -- The EVAP canister receives and stores refueling vapor from the fuel system. The EVAP canister releases the fuel vapor to the engine through the EVAP control system.
    • Vapor Lines (2) -- The vapor lines transport fuel vapor from the fuel tank assembly to the EVAP canister.
    • Vapor Recirculation Line (3) (Optional) -- the vapor recirculation line transports fuel vapor from the fuel tank to the top of the fuel filler pipe during refueling in order to reduce the fuel vapor at the canister. The vapor recirculation line can be located inside the fuel filler pipe or outside of the fuel filler pipe.
    • Variable Orifice Valve (4) (Optional) -- The variable orifice valve regulates the amount of vapor allowed to enter the vapor recirculation line.
    • Fuel Filler Pipe (5) -- The fuel filler pipe carries fuel from the fuel dispensing nozzle to the fuel tank.
    • Check Valve (6) -- The check valve limits fuel spitback from the fuel tank during the refueling operation by allowing fuel flow only into the fuel tank. The check valve is located at the bottom of the fuel filler pipe or in the fuel tank filler neck.
    • Fuel Sender Assembly (7) -- The fuel sender assembly pumps fuel to the engine from the fuel tank.
    • Fill Limiter Vent Valve (8) (FLVV) -- The fill limiter vent (shut-off) valve is located in the fuel tank and acts as a shut-off valve. The fill limiter vent valve performs the following functions:
       - Controls the fuel tank fill level by closing the primary vent of the fuel tank.
       - Prevents liquid fuel from exiting the fuel tank through the vapor line and entering the EVAP canister.
       - Provides fuel-spillage protection in the event of a vehicle rollover by closing the vapor path from the tank to the EVAP canister.
    • Pressure/Vacuum Relief Valve (9) (Optional) -- The pressure/vacuum relief valve provides venting of excessive fuel tank pressure or vacuum. The pressure/vacuum relief valve is located in the fuel filler neck on a plastic fuel tank and in the fill limiter vent valve (FLVV) on a steel fuel tank.

Accelerator Controls

The accelerator control system is cable-operated. When the accelerator pedal is depressed the cable pulls the throttle lever open (increasing the throttle plate opening), and when the accelerator pedal is released, the throttle lever spring pressure returns the throttle lever to the idle position (decreasing the throttle plate opening).