GM Service Manual Online
For 1990-2009 cars only

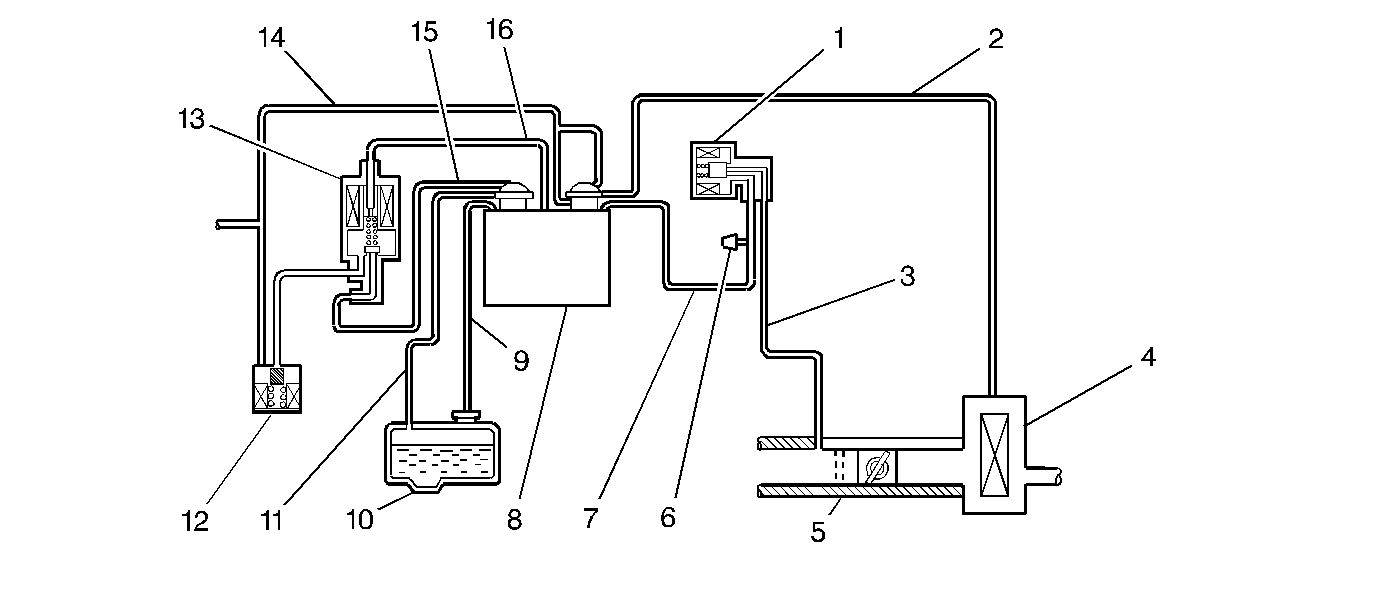
Object Number: 230597  Size: SF
(1)EVAP Canister Purge Solenoid Valve
(2)Air Inlet Line
(3)Purge Line to Engine
(4)Air Cleaner
(5)Throttle Body
(6)EVAP Service Port (if equipped)
(7)Purge Line from Canister
(8)EVAP Canister
(9)ORVR Vent Line (To FLVV)
(10)Fuel Tank
(11)EVAP (vapor) Line
(12)Fuel Tank Pressure Sensor
(13)EVAP Pressure Switching Solenoid
(14)Drain Line
(15)EVAP Vapor Pressure Line (Fuel Tank Side)
(16)EVAP Vapor Pressure Line (Canister and Purge Side)

The Evaporative Emission (EVAP) control system limits fuel vapor emissions to the atmosphere. The EVAP system transfers the fuel vapor from a sealed fuel tank to an activated carbon (charcoal) storage device (EVAP canister). The EVAP canister stores the fuel vapors until the engine is able to use them.

The EVAP canister is located at the rear of the vehicle next to the fuel tank. The EVAP canister is larger than in previous years. The larger canister and relocation near the fuel tank was necessary for integration with the vehicle's onboard refueling vapor recovery (ORVR) system.

EVAP Control System Operation


Object Number: 262814  Size: LF
(1)Fuel Tank Pressure Sensor
(2)Fuel Tank Pressure Sensor (1st Design) Drain Port
(3)EVAP Pressure Switching Solenoid
(4)Drain Line
(5)Air Inlet Line (To Air Cleaner)
(6)EVAP Line (To Fuel Tank )
(7)Purge Line (To EVAP Canister Purge Solenoid Valve)
(8)ORVR Vent Line (To FLVV on Fuel Tank)
(9)EVAP Canister Purge Solenoid Valve
(10)Air Cleaner
(11)Throttle Body
(12)EVAP Canister
(13)Fuel Tank
(14)Fuel Tank Pressure Sensor
(15)EVAP Pressure Switching Solenoid
(16)EVAP Canister Control Valve Drain
(17)EVAP Canister Assembly
(18)Fuel Tank Pressure Sensor (2nd Design) Drain Port

The EVAP system transfers the fuel vapor from the fuel tank to EVAP canister. Once the engine is fully warmed up and operating above a specified speed, the stored fuel vapors are dispersed into the intake manifold. The fuel vapors are purged from the carbon element in the EVAP canister by intake air flow and consumed in the normal combustion process.

The EVAP control system is required to detect evaporative fuel system leaks as small as 0.040 inch between the fuel filler cap and the purge valve. System integrity can be tested by applying a vacuum signal (ported or manifold) to the fuel tank. Sealing the other end of the EVAP system enables the applied vacuum to create a small pressure that can be monitored for leaks.

The PCM monitors the positive or negative pressure in the fuel tank. Under certain engine operating conditions, the PCM turns ON the EVAP pressure switching solenoid in order to monitor the positive or negative pressure in the EVAP system. The PCM is able to detect any abnormal conditions by the fluctuation of this pressure. The PCM warns the driver of a malfunction in the EVAP system by illuminating the MIL.

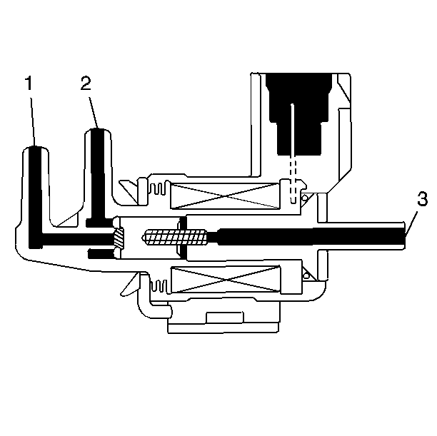
EVAP Pressure Switching Solenoid


Object Number: 240516  Size: SH

The EVAP pressure switching solenoid is control by the PCM. The EVAP pressure switching solenoid determines which vapor pressures the fuel tank pressure sensor monitors. The EVAP pressure switching solenoid supplies vapor pressure to the fuel tank pressure sensor through the inboard port (2) of the solenoid. The outboard port (1) receives vapor pressure from the fuel tank side of the EVAP system, while the single port (3) receives pressure from the canister and purge side of the EVAP system.

Fuel Tank Pressure Sensor


Object Number: 350039  Size: SH

The fuel tank pressure sensor (4) contains a silicon chip that changes its electrical resistance when pressure is applied. The fuel tank pressure sensor converts the positive or negative pressure that is applied to the sensor's pressure (vapor) port (2) into an electrical signal. The fuel tank pressure sensor amplifies the electrical signal and sends the signal to the PCM. There are two fuel tank pressure sensor designs in production. Both designs incorporate a drain port that is connected to the EVAP canister drain line. The first design (1) has the drain port located on top of the sensor. The second design (3) has the drain port located behind the pressure port (2). Be sure to connect the correct hose to the correct port when servicing or replacing the fuel tank pressure sensor.

Results Of Incorrect Operation

Poor idle, stalling and poor driveability can be caused by:

    • A damaged EVAP canister.
    • Hoses that are split, cracked and/or incorrectly connected to the proper tubes.
    • A malfunctioning purge solenoid.

Evidence of fuel loss or fuel vapor odor can be caused by:

    • Liquid fuel leaking from fuel pipes.
    • A cracked or damaged EVAP canister.
    • Disconnected, misrouted, kinked, deteriorated or damaged vapor hoses.
    • Broken or leaking solenoids and components.