GM Service Manual Online
For 1990-2009 cars only

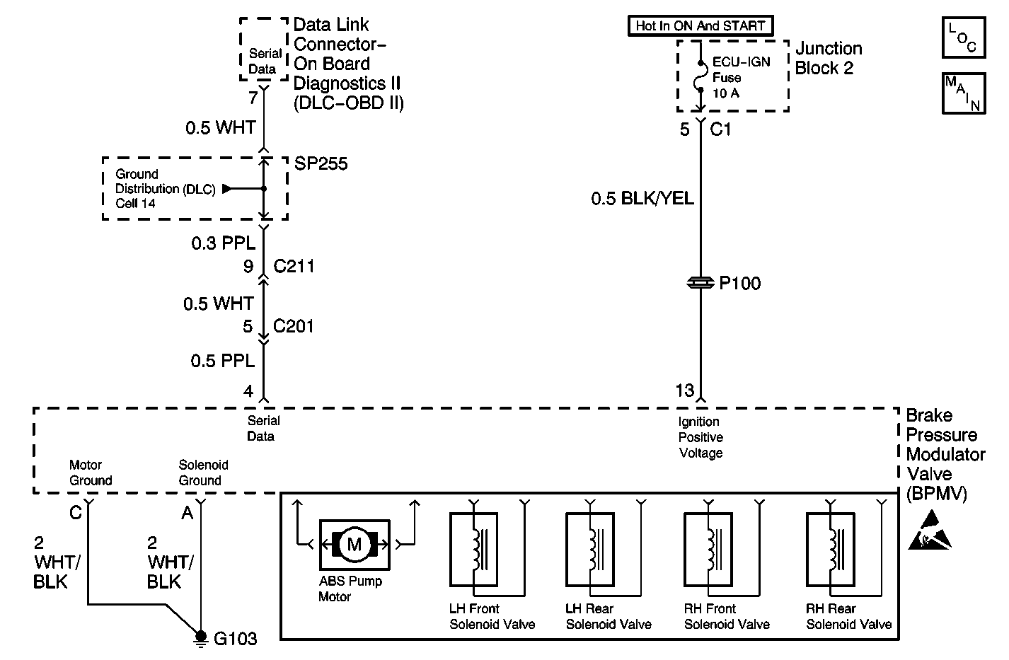
Object Number: 396381  Size: MF
ABS Components
Cell 44: ABS Pump Motor, BPMV, Solenoid Valves, and Stoplamp Switch
Handling ESD Sensitive Parts Notice

Circuit Description

The pump motor relay is part of the Electronic Brake Control Module (EBCM). The EBCM turns ON and OFF the pump motor relay as deemed necessary to activate the pump motor.

Conditions for Setting the DTC

The Electronic Brake Control Module (EBCM) detects a stuck pump motor during initialization.

Action Taken When the DTC Sets

    • A malfunction DTC stores
    • The ABS disables
    • The ABS warning indicator turns ON

Conditions for Clearing the DTC

The condition responsible for setting the DTC no longer exists and the Scan Tool Clear DTCs function is used. If the pump motor monitor signal is still incorrect, DTC C0110 will set again as a current DTC and the ABS indicator remain ON.

Diagnostic Aids

If DTC C0114 (Pump Motor Circuit Open) is set (current or history) go to the DTC C0114 table first.

Test Description

The number(s) below refer to the step number(s) on the diagnostic table.

  1. If a pump motor circuit malfunction exists this DTC may set. Therefore the DTC C0114 must be diagnosed first.

  2. If the condition for the malfunction is currently present the Electronic Brake Control Module (EBCM) is malfunctioning.

  3. Tests the pump motor by turning the solenoid ON and OFF using a scan tool. The scan tool will display if the EBCM commands the pump motor ON and feedback status.

Step

Action

Value(s)

Yes

No

1

Was the Diagnostic System Check performed?

--

Go to Step 2

Go to Diagnostic System Check - ABS

2

Is DTC C0114 set as a history DTC?

--

Go to DTC C0114 Pump Motor Circuit Open

Go to Step 3

3

  1. Disconnect the scan tool from the OBD2 DLC (if connected).
  2. Test drive the vehicle at 16 km/h (10 mph) for at least 20 seconds.

Is the ABS indicator ON?

--

Go to Step 4

Go to Step 5

4

  1. Connect a scan tool to the OBD2 Data Link Connector (DLC).
  2. Select Diagnostic Trouble Codes (DTCs) on the scan tool.
  3. Select Current DTC on the Scan Tool.

Is DTC C0110 set as a Current DTC?

--

Go to Step 8

Go to Diagnostic System Check - ABS

5

  1. Connect a scan tool to the OBD2 Data Link Connector (DLC).
  2. Turn the ignition switch to the ON position.
  3. Select Diagnostic Trouble Codes (DTCs) on the scan tool.
  4. Select Clear DTC Information on the scan tool.
  5. Select Special Functions from the Application Menu on the scan tool.
  6. Select Device Control on the scan tool.
  7. Command the pump motor ON.

Did the pump motor turn ON and monitor ON during this test?

--

Go to Step 6

Go to Step 8

6

Is the ABS indicator ON?

--

Go to Step 7

Go to Step 9

7

Is DTC C0110 set as a current DTC?

--

Go to Step 8

Go to Diagnostic System Check - ABS

8

Replace the Brake Pressure Modulator Valve (BPMV) assembly. Refer to Brake Pressure Modulator Valve Assembly Replacement .

Is the repair complete?

--

Go to Diagnostic System Check - ABS

--

9

A malfunction is not present at this time. Refer to Diagnostic Aids for additional information regarding this DTC.

Is the action complete?

--

Go to Diagnostic System Check - ABS

--