GM Service Manual Online
For 1990-2009 cars only

Object Number: 396350  Size: MF
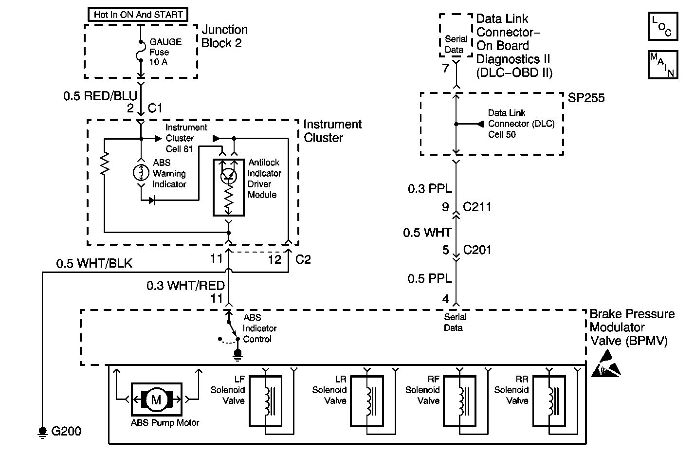
ABS Components
Antilock Brake System Schematics
Handling ESD Sensitive Parts Notice

Circuit Description

The Electronic Brake Control Module (EBCM) turns ON the ABS warning indicator by grounding terminal 11.

The ABS warning indicator is connected to the gauge fuse. This circuit has power when the ignition switch is in the ON or START positions.

When the ignition switch is turned to the ON position, the EBCM turns ON the ABS warning indicator for 3 seconds for a bulb check. If the EBCM detects a malfunction the ABS warning indicator will stay ON to warn the driver that the ABS is disabled and needs service.

Diagnostic Aids

Inspect for a short to ground between the EBCM and the instrument cluster.

Inspect the following harness connectors for improperly formed or damaged terminals or physical damage to the wiring harness before component replacement:

    • The EBCM electrical connector
    • The Instrument panel gauge cluster electrical connector

The ABS indicator will remain ON until the vehicle is road tested after the repair of the following Diagnostic Trouble Codes:

    • C0036
    • C0041
    • C0046
    • C0051
    • C0110
    • C0114
    • C0116

Test Description

The number(s) below refer to the step number(s) on the diagnostic table.

  1. After repairs that set a certain DTCs (refer to Diagnostic Aids for specific DTCs) even after clearing DTCs the ABS will keep the ABS indicator ON until a road test is performed to confirm proper system operation.

  2. Determines whether there is a short to ground in the ABS indicator circuit or a malfunctioning EBCM.

  3. Refer to Diagnostic Aids for a list of DTCs that need road test confirmation before the ABS indicator is turned OFF.

  4. A short to ground in the ABS Indicator Control circuit will keep the ABS indicator ON.

Step

Action

Value(s)

Yes

No

1

Did you perform A Diagnostic System Check - ABS?

--

Go to Step 2

Go to Diagnostic System Check - ABS

2

  1. Turn the ignition switch to the LOCK position.
  2. Disconnect the scan tool if one is connected to the OBD2 Data Link Connector (DLC).
  3. Turn the ignition switch to the ON position.
  4. Test drive the vehicle at 24 km/h (15 mph) for 30 seconds.
  5. Stop the vehicle.

Is the ABS indicator ON?

--

Go to Step 3

Go to Step 4

3

  1. Turn the ignition switch to the LOCK position.
  2. Disconnect the Electronic Brake Control Module (EBCM) electrical connector.
  3. Turn the ignition switch to the ON position.

Is the ABS indicator ON?

--

Go to Step 5

Go to Step 6

4

The malfunction that caused the EBCM to turn ON the ABS indicator is no longer present. When a specific DTC is deleted (after the malfunction that set the DTC is corrected or no longer present), the EBCM will keep the ABS indicator ON until the vehicle is road tested for repair confirmation. In other words, the DTC itself is erased but the ABS indicator remains on until the vehicle is road tested after repairs. Refer to Diagnostic Aids for additional information.

Is the action complete?

--

Go to Diagnostic System Check - ABS

--

5

Test the ABS Indicator Control circuit for an open or short to ground. Refer to Circuit Testing and Wiring Repairs in Wiring Systems.

Was a problem found and corrected?

--

Go to Diagnostic System Check - ABS

Go to Step 6

6

  1. Replace the Antilock Indicator Driver Module. Refer to Lamp Driver Module Replacement .
  2. Clear all DTCs.
  3. Test drive the vehicle at 24 km/h (15 mph) for 30 seconds.
  4. Using the scan tool, check for DTCs.

Did the DTC reset?

--

Go to Step 7

Go to Diagnostic System Check - ABS

7

Replace the Brake Modulator Assembly. Refer to Brake Pressure Modulator Valve Assembly Replacement .

Is the repair complete?

--

Go to Diagnostic System Check - ABS

--