|
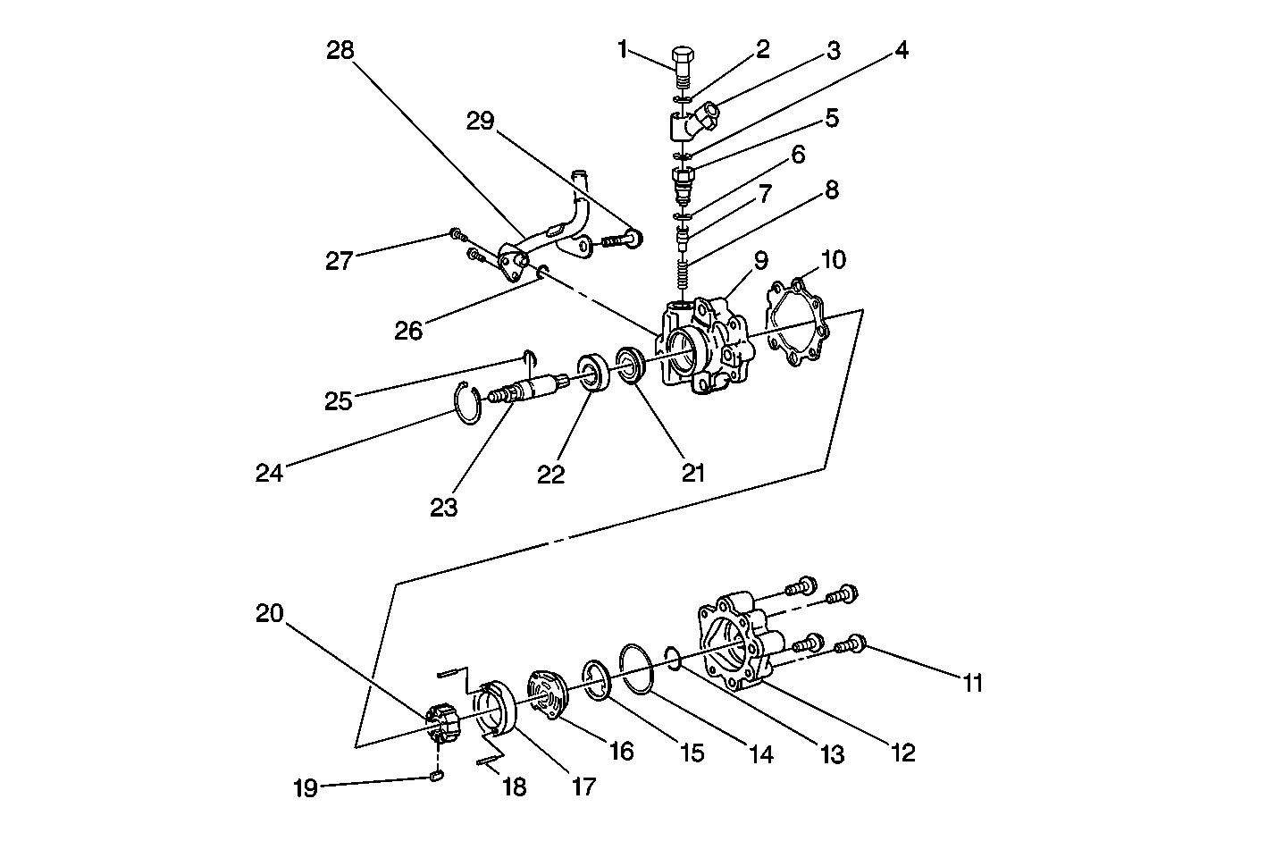
| (1) | Power Steering Pump Inlet Pipe Fitting |
| (2) | Power Steering Pump Inlet Pipe Fitting Gasket |
| (3) | Power Steering Pump Inlet Tube |
| (4) | Power Steering Pump Inlet Pipe Fitting Gasket |
| (5) | Power Steering Pump Fitting |
| (6) | Power Steering Pump Fitting Seal |
| (7) | Power Steering Pump Flow Control Valve |
| (8) | Power Steering Pump Spring |
| (9) | Power Steering Pump Front Housing |
| (10) | Power Steering Pump Housing Gasket |
| (11) | Power Steering Pump Bolt |
| (12) | Power Steering Pump Rear Housing |
| (13) | Power Steering Pump Pressure Plate
Seal |
| (14) | Power Steering Pump Pressure Plate Seal |
| (15) | Power Steering Pump Pressure Plate
Washer |
| (16) | Power Steering Pump Pressure Plate |
| (17) | Power Steering Pump Ring |
| (18) | Power Steering Pump Ring Pin |
| (19) | Power Steering Pump Vane |
| (20) | Power Steering
Pump Rotor |
| (21) | Power Steering Pump Shaft Seal |
| (22) | Power Steering Pump Shaft Bearing |
| (23) | Power Steering Pump Shaft |
| (24) | Power Steering Pump Shaft Bearing Retainer Ring |
| (25) | Power Steering Pump Shaft Retainer Ring |
| (26) | Power Steering Pump Inlet Tube Seal |
| (27) | Power Steering Pump Inlet Tube Bolt |
| (28) | Power Steering Pump Inlet Tube |
| (29) | Power
Steering Pump Inlet Tube Bolt |
The power steering pump uses a ten vane hydraulic pump to provide steering
assistance. The pump is driven by the engine using a multi-ribbed belt
and uses an engine speed sensing type flow control valve. This valve
reduces the output pressure to the gear as engine speed increases, providing
higher pump pressure when the engine is at or near idle speed and a
lower (but safe) pressure at high engine speed.
This vehicle uses a power steering pump which is mounted at the front
of the transverse mounted engine toward the rear of the engine compartment.
This pump has a separate power steering fluid reservoir.