GM Service Manual Online
For 1990-2009 cars only
Makes
🢒
Chevrolet
🢒
2000
🢒
Prizm
🢒
Body and Accessories
🢒
Horns
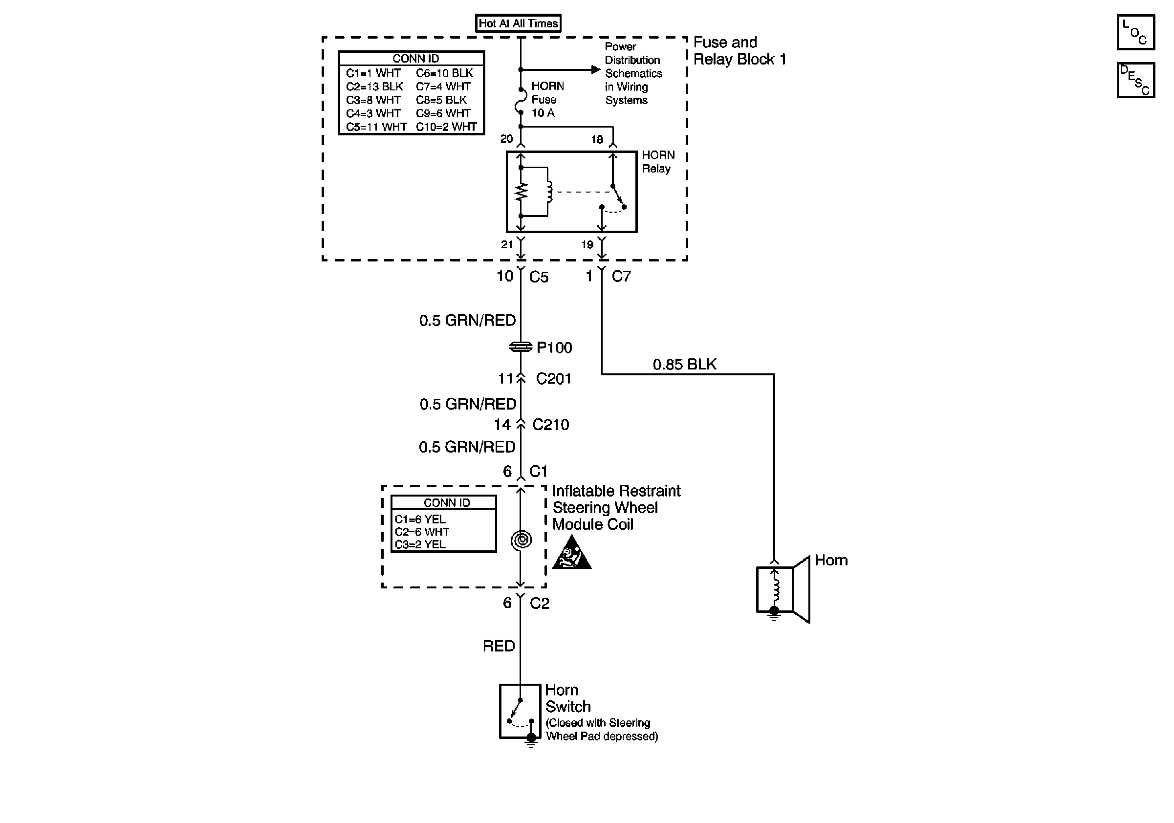
🢒 Horn Schematics
SIR Steering Wheel Module Coil
Horns Components
Cell 10: Alt-S, AM2, Dome, EFI, Hazard, Horn, and Main Fuses
SIR Caution