GM Service Manual Online
For 1990-2009 cars only

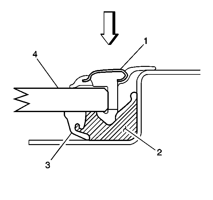
Removal Procedure


Object Number: 245242  Size: SH

Important: The windshield reveal molding requires removal of the windshield for proper installation.

  1. Remove the windshield reveal molding (1) by starting at one of the lower corners and pulling the molding from around the windshield (4).
  2. Remove the windshield (4). Refer to Windshield Replacement .

Installation Procedure


    Object Number: 245242  Size: SH
  1. Install the windshield reveal molding (1) by pressing the molding on to the windshield (4). Starting at the center and work outward along both sides. Tap the molding into place until fully seated.

  2. Object Number: 245294  Size: SH
  3. Install the windshield (1). Refer to Windshield Replacement .