GM Service Manual Online
For 1990-2009 cars only

Removal Procedure


    Object Number: 405024  Size: SH
  1. Fold down the child seat.
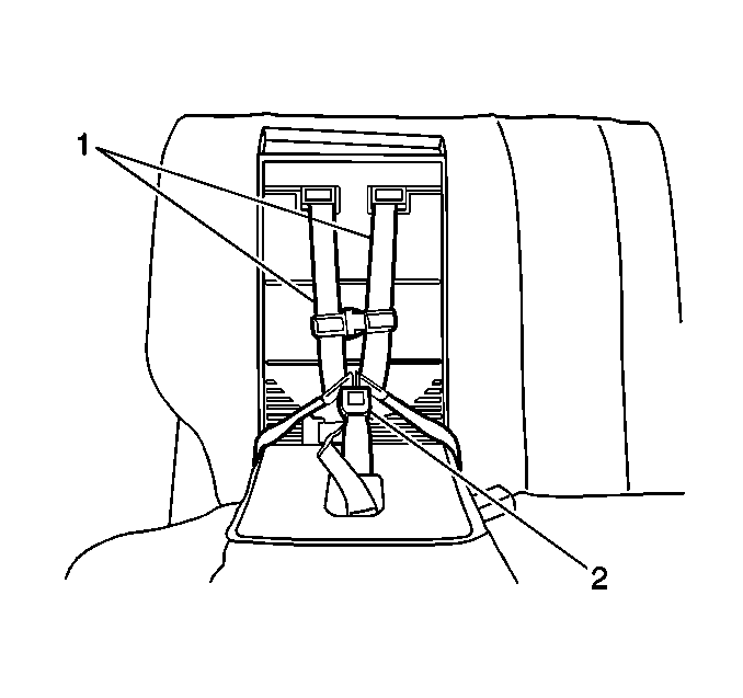
  2. Disengage the 2 child seat belts (1) from the buckle (2).

  3. Object Number: 405028  Size: SH
  4. Remove the child seat cushion (1) from the child seat.

Installation Procedure


    Object Number: 405028  Size: SH
  1. Install the child seat cushion (1) to the child seat.
  2. Connect the 2 child seat belts to the buckle.
  3. Close the child seat.