GM Service Manual Online
For 1990-2009 cars only
Makes
🢒
Chevrolet
🢒
2000
🢒
Prizm
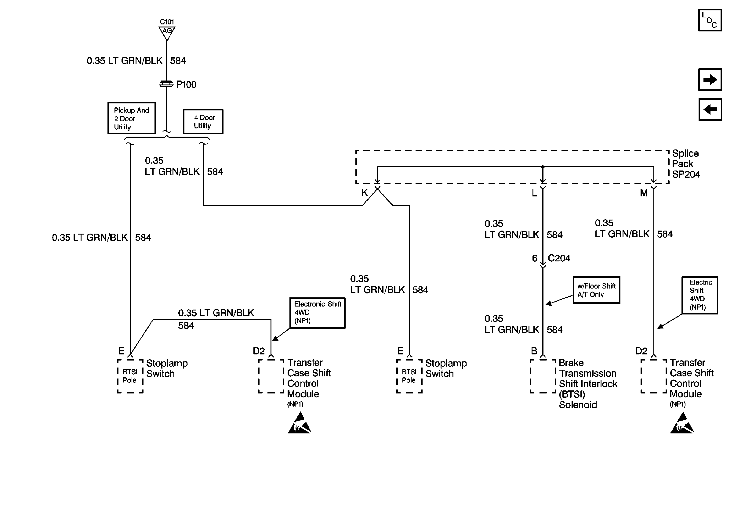
🢒 Cell 10: Splice Pack SP204
Cell 10: Splice Pack SP204
Cell 10: Splice Pack SP204
Power and Grounding Components
Cell 10: UBEC and S150
Cell 10: TRL B/U, VEH B/U, and BTSI Fuses (w/ A/T)
Cell 10: TRL B/U, VEH B/U, and BTSI Fuses (w/ A/T)
Handling ESD Sensitive Parts Notice
Handling ESD Sensitive Parts Notice