GM Service Manual Online
For 1990-2009 cars only
Makes
🢒
Chevrolet
🢒
2000
🢒
Prizm
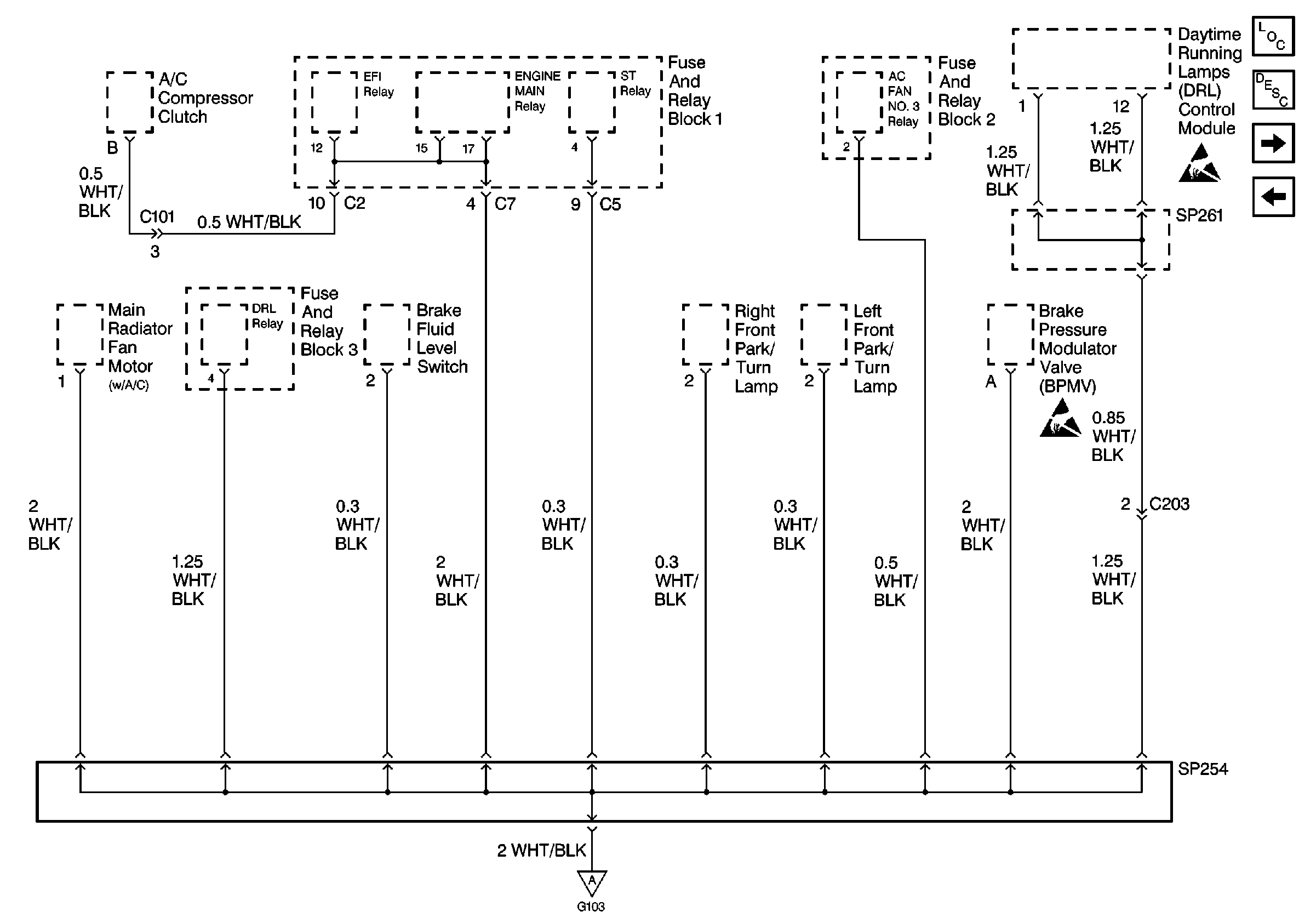
🢒 Cell 14: SP254 and SP261
Cell 14: SP254 and SP261
Cell 14: SP254 and SP261
Power and Grounding Components
Cell 14: G105 and G106 (1 of 2)
Cell 14: Battery, G100, G101, G102, G103, and G104
Handling ESD Sensitive Parts Notice
Handling ESD Sensitive Parts Notice