GM Service Manual Online
For 1990-2009 cars only
Makes
🢒
Chevrolet
🢒
2000
🢒
Prizm
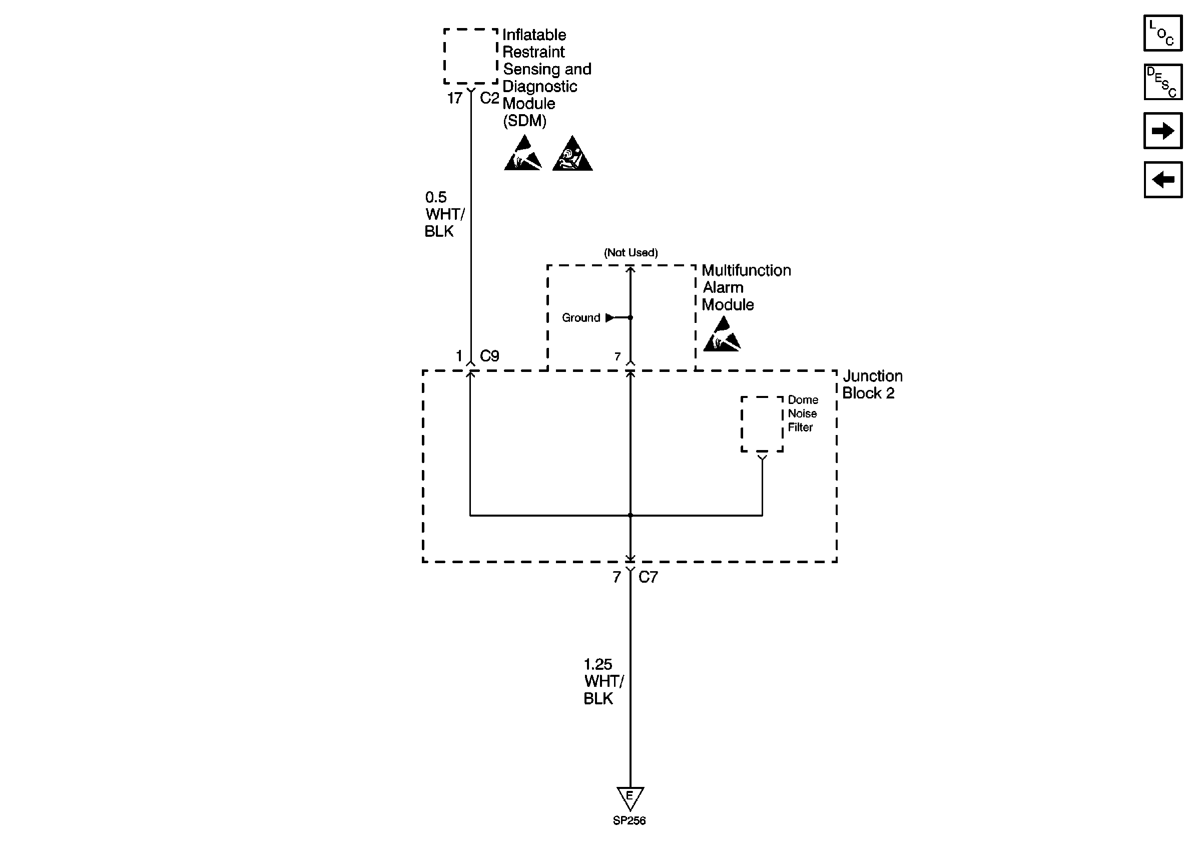
🢒 Cell 14: Junction Block 2
Cell 14: Junction Block 2
Cell 14: Junction Block 2
Power and Grounding Components
Cell 14: SP550 and SP551
Cell 14: Junction Block 3
Handling ESD Sensitive Parts Notice
Handling ESD Sensitive Parts Notice
SIR Caution