GM Service Manual Online
For 1990-2009 cars only
Makes
🢒
Chevrolet
🢒
2000
🢒
Prizm
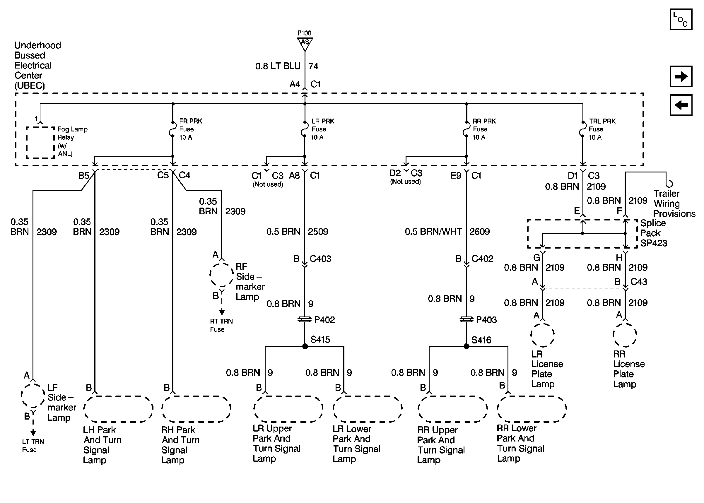
🢒 Cell 10: FR PRK, LR PRK, RR PRK, and TRL PRK Fuses (Utility)
Cell 10: FR PRK, LR PRK, RR PRK, and TRL PRK Fuses (Utility)
Cell 10: FR PRK, LR PRK, RR PRK, and TRL PRK Fuses (Utility)
Power and Grounding Components
Cell 10: FR PRK, LR PRK, and RR PRK Fuses (Pickup)
Cell 10: IP Fuse Block and S283
Cell 10: ILLUM and PARK LPS Fuses