GM Service Manual Online
For 1990-2009 cars only
Makes
🢒
Chevrolet
🢒
2000
🢒
Prizm
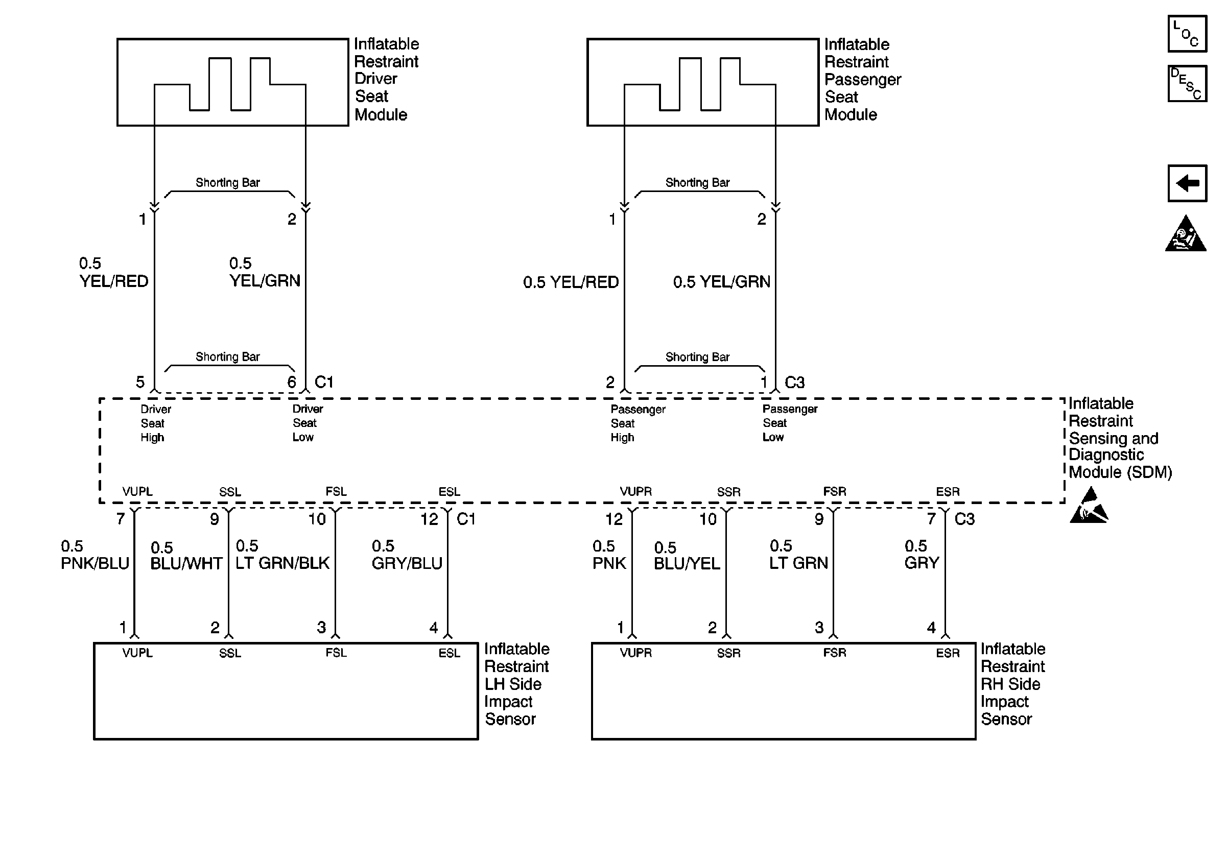
🢒 Cell 47: Inflatable Restraint Seat Module and Inflatable Restraint Impact Sensors
Cell 47: Inflatable Restraint Seat Module and Inflatable Restraint Impact Sensors
Cell 47: Inflatable Restraint Seat Module and Inflatable Restraint Impact Sensors
Cell 47: Inflatable Restraint Steering Wheel Module Coil, Inflatable Restraint Discriminating Sensors, and Seat Belts
SIR Components
SIR System Component Description and Definitions
Handling ESD Sensitive Parts Notice
SIR Caution
SIR Caution
SIR Caution
SIR Caution