GM Service Manual Online
For 1990-2009 cars only

Object Number: 364267  Size: LF

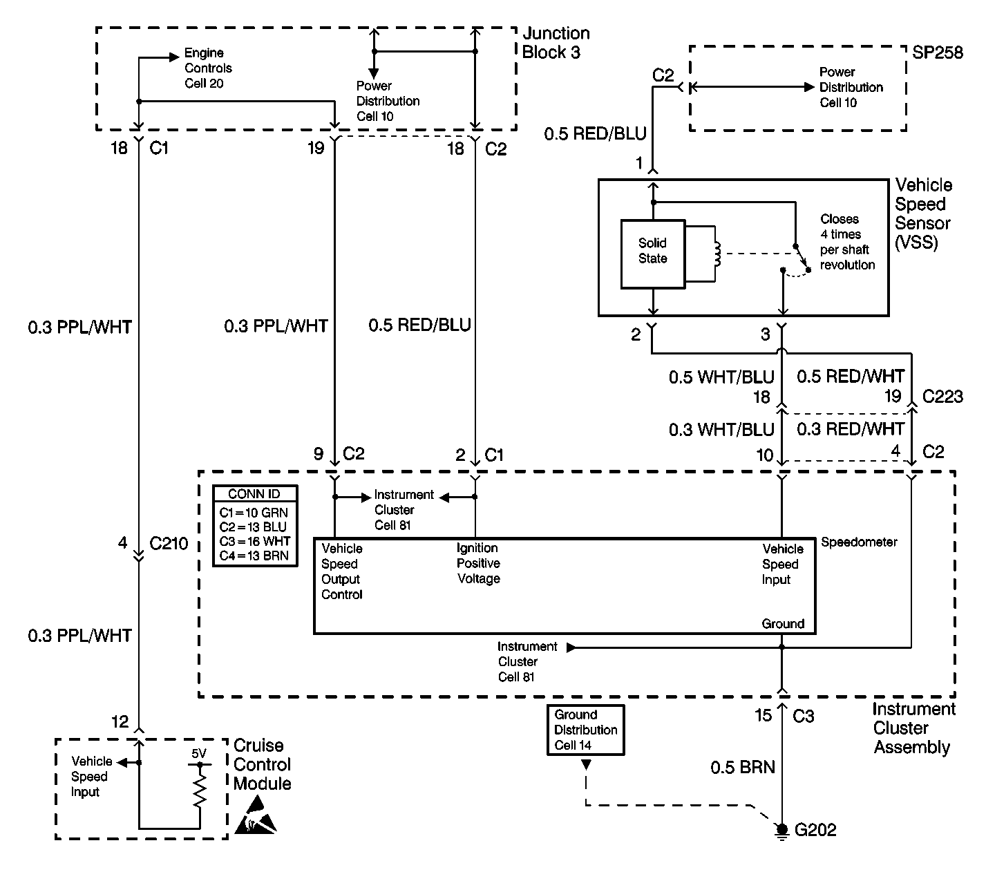
Circuit Description

This DTC checks for an abnormal VSS input to the cruise control module or a malfunction within the cruise control module.

Diagnostic Aids

Check for the following:

    • DTCs in the powertrain control module.
    • If the speedometer operates normally, the VSS is OK.
    • Open or high resistance in the PPL/WHT wire between junction block 3 and the cruise control module.
    • Faulty cruise control module.

An intermittent may be caused by a poor connection, rubbed through wire insulation or a wire broken inside the insulation. Inspect the following harness connectors for backed out terminals, improper mating, broken lock, improperly formed or damaged terminals or for poor terminal-to-wire connection before replacing the suspect component:

    • Cruise control module connector
    • Junction block 3 C1
    • C210

Test Description

Number(s) below refer to the step number(s) on the Diagnostic Table.

  1. This step tests the VSS circuit input to the cruise control module for an open or high resistance or for a faulty cruise control module.

Step

Action

Value(s)

Yes

No

1

Was the Cruise Control Diagnostic System Check performed?

--

Go to Step 2

Go to Cruise Control System Check

2

  1. Raise and suitably support the vehicle.
  2. Disconnect the cruise control module connector.
  3. Turn the ignition switch to the on position.
  4. Measure the voltage from cavity 12 while slowly rotating the front drive wheel with the transaxle in gear.

Does the reading vary within the specified range?

0-8 V

Go to Step 3

Go to Step 4

3

Replace the cruise control module.

Is the repair complete?

--

Go to Cruise Control System Check

--

4

Repair the open or high resistance in the PPL/WHT wire between the module and junction block 3.

Is the repair complete?

--

Go to Cruise Control System Check

--