GM Service Manual Online
For 1990-2009 cars only

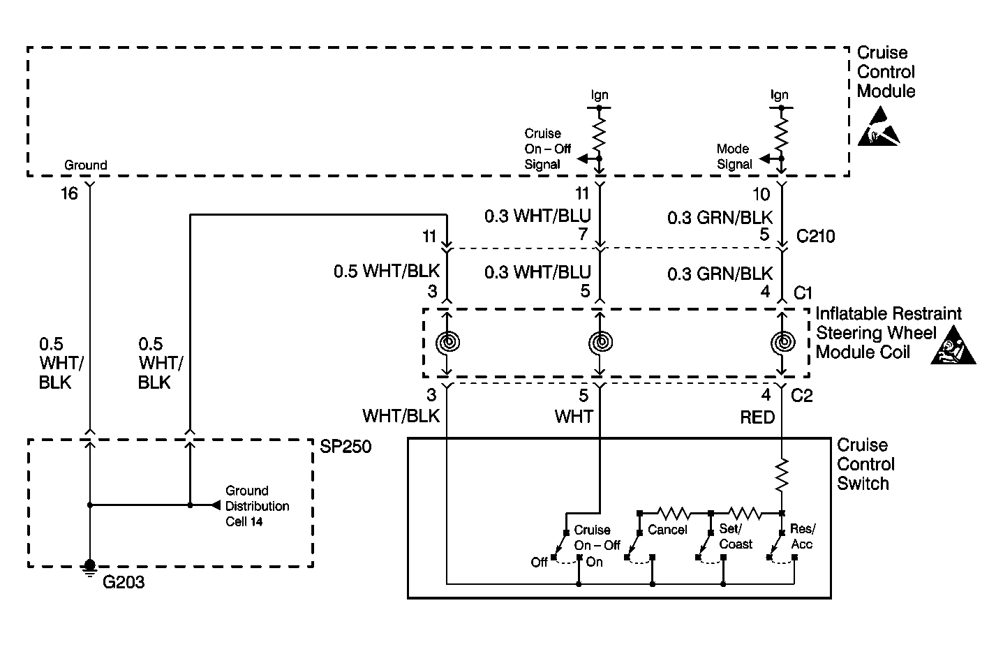
Object Number: 364616  Size: MF

Circuit Description

The cruise control module is controlled through the cruise control switch. When the CRUISE ON-OFF switch is pressed and released, it provides a momentary short to ground to terminal 11 of the cruise control module. The control portion of the cruise control switch provides various resistances to terminal 10 of the cruise control module.

Diagnostic Aids

Check for the following:

    • Faulty cruise control switch.
    • Short to ground in the WHT/BLU or GRN/BLK wires between the cruise control module and the cruise control switch.
    • Short to ground in the inflatable restraint steering wheel module coil.

An intermittent malfunction may be caused by a fault in thecruise control switch electrical circuit. Inspect the wiring harness and components for any of the following conditions:

    • Backed out terminals.
    • Improper mating of terminals.
    • Broken electrical connectors locks.
    • Improperly formed or damaged terminals
    • Faulty terminal to wire connections.
    • Physical damage to the wiring harness.
    • A broken wire inside the insulation.
    • Corrosion of electrical connections, splices, or terminals.

Repair any electrical circuit faults that were found. Refer to Wiring Repairs .

Test Description

Number(s) below refer to the step number(s) on the Diagnostic Table.

  1. This step tests for a short to ground in the CRUISE ON-OFF circuit.

  2. This step tests for a short to ground in the RES/ACC, SET/COAST, and CANCEL circuit.

  3. This step tests for proper resistance in the CANCEL circuit.

  4. This step tests for proper resistance in the SET/COAST circuit.

  5. This step tests for proper resistance in the RES/ACC circuit.

  6. This step tests for a short to ground in the cruise control CRUISE ON-OFF switch.

  7. This step tests for a short to ground in the inflatable restraint steering wheel module coil.

  8. This step tests for a short to ground in the WHT/BLU wire of the CRUISE ON-OFF circuit.

  9. This step tests for a short to ground in the RES/ACC section of the cruise control switch.

  10. This step tests for a short to ground in the inflatable restraint steering wheel module coil.

  11. This step tests for a short to ground in the GRN/BLK wire of the CRUISE RES/ACC circuit.

Step

Action

Value(s)

Yes

No

1

Was the Cruise Control System Check performed?

--

Go to Step 2

Go to Cruise Control System Check

2

  1. Turn ignition switch to LOCK.
  2. Disconnect the cruise control module connector which is located next to the instrument panel compartment on the RH side of the instrument panel.
  3. Connect a DMM set to measure resistance between terminal 11 of the cruise control module connector and ground.

Is the resistance within the specified range?

Infinite

Go to Step 3

Go to Step 9

3

With the DMM still connected from the previous step (step 2). Press the cruise control switch to the CRUISE ON-OFF position and hold.

Is the resistance within the specified range?

0-2 ohms

Go to Step 4

Go to Step 9

4

With the cruise control module connector still disconnected. Connect a DMM set to measure resistance between terminal 10 of the cruise control module connector and ground.

Is the resistance equal to the specified value?

Infinite

Go to Step 5

Go to Step 16

5

With the DMM still connected from the previous step (step 4). Pull the cruise control switch toward the CANCEL position and hold.

Is the resistance within the specified range?

415-425 ohms

Go to Step 6

Go to Step 21

6

With the DMM still connected from the previous step (step 5). Move the cruise control switch downward toward the SET/COAST position and hold.

Is the resistance within the specified range?

195-205 ohms

Go to Step 7

Go to Step 21

7

With the DMM still connected from the previous step (step 6). Move the cruise control switch upward toward the RES/ACC position and hold.

Is the resistance within the specified range?

65-75 ohms

Go to Step 8

Go to Step 21

8

Test the cruise control module connector for poor terminal contact. If OK, replace the cruise control module. Refer to Cruise Control Module Replacement .

Is the replacement complete?

--

Go to Step 22

--

9

With the cruise control module connector still disconnected.

  1. Disconnect connector C2 of the inflatable restraint steering wheel module coil.
  2. Connect a DMM set to measure resistance between terminal 3 and terminal 5 of the cruise control switch connector C2.

Is the resistance equal to the specified value?

Infinite

Go to Step 10

Go to Step 21

10

With the DMM still connected from the previous step (step 9). Press and hold the cruise control switch to the CRUISE ON/OFF position.

Is the resistance within the specified range?

0-2 ohms

Go to Step 11

Go to Step 21

11

With the cruise control module connector still disconnected. Connect a DMM set to measure resistance between terminal 5 of the inflatable restraint steering wheel module coil and ground.

Is the resistance equal to the specified value?

Infinite

Go to Step 2

Go to Step 12

12

  1. Disconnect connector C1 of the inflatable restraint steering wheel module coil.
  2. Connect a DMM between terminal 5 of the inflatable restraint steering wheel module and ground.

Is the resistance equal to the specified value?

Infinite

Go to Step 13

Go to Step 14

13

Connect a DMM between terminal 5 of connector C1 of the inflatable restraint steering wheel module connector and terminal 11 of the cruise control module connector.

Is the resistance equal to the specified value?

Infinite

Go to Step 2

Go to Step 15

14

Replace the inflatable restraint steering wheel module coil. Refer to Inflatable Restraint Steering Wheel Module Coil Replacement .

Is the replacement complete?

--

Go to Step 22

--

15

Repair the short to ground between the WHT/BLU wire of connector C1 and terminal 11 of the cruise control module connector.

Is the repair complete?

--

Go to Step 22

--

16

With the cruise control module connector still disconnected.

  1. Disconnect connector C2 of the inflatable restraint steering wheel module coil.
  2. Connect a DMM set to measure resistance between terminal 3 and terminal 4 of the cruise control switch connector C2.

Is the resistance equal to the specified value?

Infinite

Go to Step 17

Go to Step 21

17

Connect a DMM set to measure resistance between terminal 4 of the inflatable restraint steering wheel module coil and ground.

Is the resistance equal to the specified value?

Infinite

Go to Step 4

Go to Step 18

18

  1. Disconnect connector C1 of the inflatable restraint steering wheel module coil.
  2. Connect a DMM between terminal 4 of the inflatable restraint steering wheel module and ground.

Is the resistance equal to the specified value?

Infinite

Go to Step 19

Go to Step 14

19

Connect a DMM between terminal 4 of connector C1 of the inflatable restraint steering wheel module connector and terminal 10 of the cruise control module connector.

Is the resistance equal to the specified value?

Infinite

Go to Step 4

Go to Step 20

20

Repair the short to ground between the GRN/BLK wire of terminal 4 of connector C1 and terminal 10 of the cruise control module.

Is the repair complete?

--

Go to Step 22

--

21

Test the cruise control switch connector for poor connection. If OK, replace the cruise control switch. refer to Cruise Control Switch Replacement .

Is the replacement complete?

--

Go to Step 22

--

22

Install and connect any components removed during diagnosis.

Is the repair complete?

--

Go to Cruise Control System Check

--