GM Service Manual Online
For 1990-2009 cars only

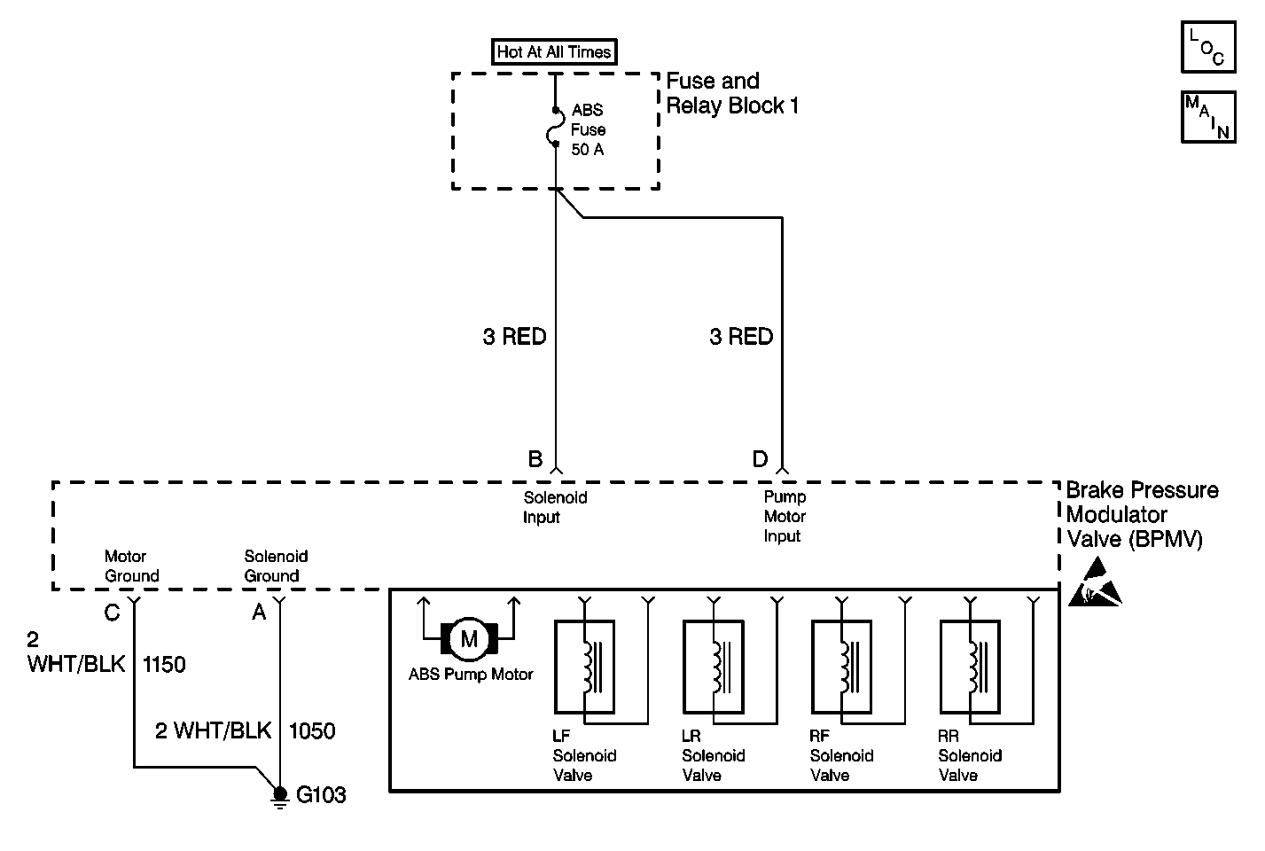
Object Number: 396362  Size: MF
ABS Components
Antilock Brake System Schematics
Handling ESD Sensitive Parts Notice

Circuit Description

The right front solenoid valve is part of Brake Pressure Modulator Valve (BPMV). The BPMV turns ON and OFF the right front solenoid valve as deemed necessary to modulate brake hydraulic pressure to the right front wheel brake during an ABS stop.

Conditions for Running the DTC

DTC 0070 can be set anytime the ignition switch is in the ON position.

Conditions for Setting the DTC

The Electronic Brake Control Module (EBCM) detects any of the following in the right front solenoid circuitry:

    • an open
    • short to ground
    • a short to voltage

Action Taken When the DTC Sets

    • The ABS disables
    • The ABS warning indicator turns ON

Conditions for Clearing the DTC

The condition responsible for setting the DTC no longer exists and the Scan Tool Clear DTCs function is used.

Diagnostic Aids

If DTC C0125 (Value Relay Circuit Open) is set (current or history) go to the DTC C0125 table first.

Test Description

The numbers below refer to step numbers on the Diagnostic Table.

  1. This step determines whether the DTC is current.

Step

Action

Value(s)

Yes

No

1

Did you perform A Diagnostic System Check - ABS?

--

Go to Step 2

Go to Diagnostic System Check - ABS

2

  1. Install a scan tool.
  2. Turn ON the ignition, with the engine OFF.
  3. Use the scan tool in order to clear the DTCs.
  4. Using the scan tool, cycle the appropriate solenoid in the Special Functions menu.
  5. Read the DTCs.

Does the DTC reset?

--

Go to Step 3

Go to Testing for Intermittent Conditions and Poor Connections in Wiring Systems

3

  1. Test the Solenoid Input circuit for an open, high resistance, or a short to ground. Refer to Circuit Testing and Wiring Repairs in Wiring Systems.
  2. Test the Solenoid Ground circuit for an open or high resistance. Refer to Circuit Testing and Wiring Repairs in Wiring Systems.

Was a problem found and corrected?

--

Go to Diagnostic System Check - ABS

Go to Step 4

4

Replace the Brake Modulator Assembly. Refer to Brake Pressure Modulator Valve Assembly Replacement .

Is the repair complete?

--

Go to Step 5

--

5

  1. Use the scan tool in order to clear the DTCs.
  2. Using the scan tool, cycle the appropriate solenoid in the Special Functions menu.
  3. Read the DTCs.

Does the DTC reset?

--

Go to Step 2

System OK