GM Service Manual Online
For 1990-2009 cars only

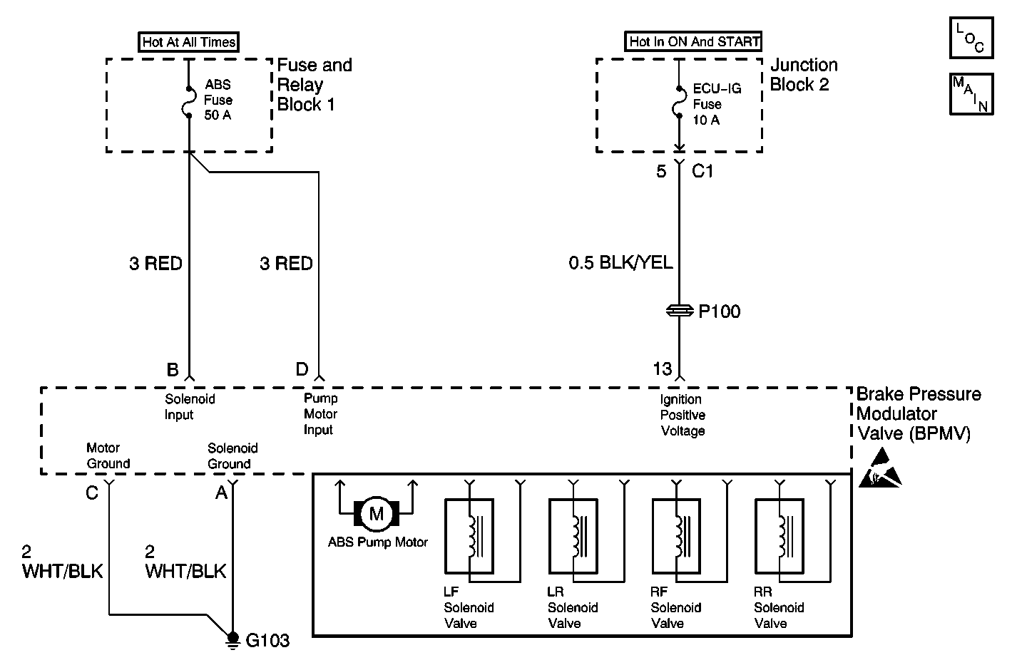
Object Number: 396371  Size: MF
ABS Components
Antilock Brake System Schematics
Handling ESD Sensitive Parts Notice

Circuit Description

This DTC is designed to detect high vehicle voltage levels and to protect the Antilock Brake System (ABS) system from high voltage damage.

Conditions for Running the DTC

DTC C0900 can be set anytime the ignition switch is in the ON position.

Conditions for Setting the DTC

Power voltage level circuit is greater than 17.5 volts.

Action Taken When the DTC Sets

    • The ABS disables
    • The ABS warning indicator turns ON

Conditions for Clearing the DTC

The condition responsible for setting the DTC no longer exists and the Scan Tool Clear DTCs function is used.

Diagnostic Aids

Use the enhanced diagnostic function of the Scan Tool in order to measure the frequency of the malfunction.

Ensure the vehicle's charging system is working properly.

Test Description

The numbers below refer to the step numbers on the diagnostic table.

  1. This step uses the scan tool to check the battery positive voltage circuit to the EBCM.

  2. This step checks the battery positive voltage supply circuit.

Step

Action

Value(s)

Yes

No

1

Did you perform A Diagnostic System Check - ABS?

--

Go to Step 2

Go to Diagnostic System Check - ABS

2

  1. Turn OFF all of the accessories.
  2. Install a scan tool.
  3. Start the engine.
  4. Run the engine at approximately 2000 RPM.
  5. With a scan tool, observe the Battery Voltage parameter in the ABS Data List.

Does the scan tool indicate that the battery voltage is less than the specified voltage?

17 V

Go to Step 5

Go to Step 3

3

  1. Turn OFF the ignition.
  2. Disconnect the EBCM harness connector.
  3. Start the engine.
  4. Run the engine at approximately 2000 RPM.
  5. Measure the voltage at the between the Ignition Positive Voltage circuit of the EBCM and a good ground.

Does the voltage measure less than the specified value?

17 V

Go to Step 4

Go to Charging System Check in Engine Electrical

4

  1. Use the scan tool in order to clear the DTCs.
  2. Carefully test drive the vehicle at a speed above 8 km/h (5 mph).

Does the DTC reset?

--

Go to Step 5

System OK

5

Replace the Brake Modulator Assembly. Refer to Brake Pressure Modulator Valve Assembly Replacement .

Did you complete the repair?

--

Go to Step 6

--

6

  1. Use the scan tool in order to clear the DTCs.
  2. Operate the vehicle within the conditions for Running the DTC as specified in the supporting test.

Does the DTC reset?

--

Go to Step 2

System OK