GM Service Manual Online
For 1990-2009 cars only

EVAP Canister Purge Valve Inspection

    Caution: Do not breathe the air through the EVAP component tubes or hoses. The fuel vapors inside the EVAP components may cause personal injury.


    Object Number: 621404  Size: SH
  1. Remove the EVAP canister purge valve. Refer to Evaporative Emission Canister Purge Solenoid Valve Replacement .
  2. Use a DMM in order to measure the resistance of the EVAP canister purge valve.
  3. Measure
    The EVAP canister purge valve resistance should be 27-33 ohms at 20°C (68°F).

  4. Replace the EVAP canister purge valve if the resistance is not within the specified range. The solenoid will damage the PCM if the resistance value is less than 27 ohms.
  5. Check the PCM and replace if necessary. Refer to Powertrain Control Module Replacement .

  6. Object Number: 623300  Size: SH
  7. Check for continuity of each terminal to the valve body.
  8. Replace the EVAP canister purge valve if continuity is present.

  9. Object Number: 621405  Size: SH
  10. Blow air into the inboard port (1). The air should NOT flow through the outboard port (2).
  11. Apply battery voltage across the terminals of the EVAP canister purge valve.
  12. Blow air into the inboard port (1). The air should flow easily to the outboard port (2).
  13. Replace the EVAP canister purge valve if the valve failed either test. Refer to Evaporative Emission Canister Purge Solenoid Valve Replacement .

EVAP Pressure Switching Solenoid Inspection

    Caution: Do not breathe the air through the EVAP component tubes or hoses. The fuel vapors inside the EVAP components may cause personal injury.


    Object Number: 621422  Size: SH
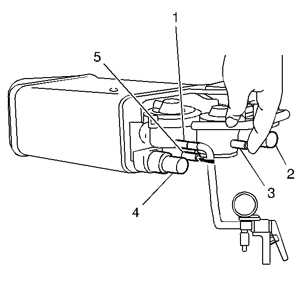
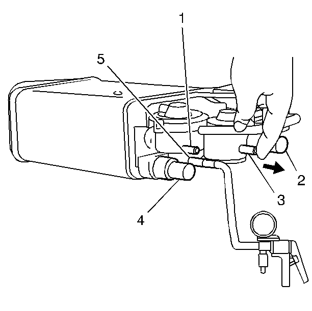
  1. Remove the EVAP pressure switching solenoid.
  2. Use a DMM in order to measure the resistance of the EVAP pressure switching solenoid.
  3. Measure
    The EVAP pressure switching solenoid resistance is 37-44 ohms at 20°C (68°F).

  4. Replace the EVAP pressure switching solenoid if the resistance is not within the specified range. The solenoid will damage the PCM, if the resistance value is less than 27 ohms.

  5. Object Number: 623304  Size: SH
  6. Check for continuity on each terminal to the valve body.
  7. Replace the EVAP pressure switching solenoid if continuity is present.

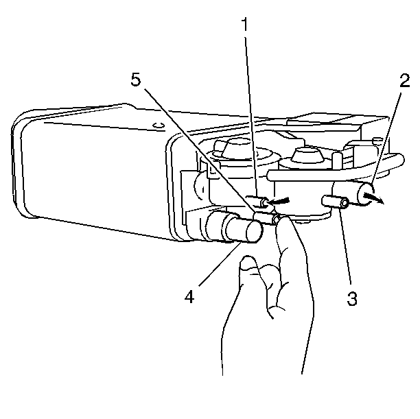
  8. Object Number: 621420  Size: SH
  9. Blow air into the inboard port (1). The air should NOT flow through the valve and out of the outboard port (2).
  10. Apply battery voltage across the terminals of the EVAP pressure switching solenoid.
  11. Blow air into the inboard port (1) and air should flow through the valve and out of the outboard port (2).
  12. Replace the EVAP pressure switching solenoid if the solenoid failed either test.

EVAP Canister Vent Valve Inspection

    Caution: Do not breathe the air through the EVAP component tubes or hoses. The fuel vapors inside the EVAP components may cause personal injury.


    Object Number: 621408  Size: SH
  1. Disconnect the EVAP vent solenoid electrical connector.
  2. Use a DMM in order the measure the solenoid resistance value.
  3. Measure
    The resistance should be between 25-30 ohms at 20°C (68°F).

  4. Replace the solenoid if the resistance is not within the specified range. Refer to Evaporative Emission Canister Vent Solenoid Valve Replacement .

  5. Object Number: 623315  Size: SH
  6. Use a DMM in order the check for continuity between each solenoid terminal and solenoid housing.
  7. Measure
    The DMM has to read infinite (OL).

  8. Replace the EVAP vent solenoid valve if the resistance is not within specification. A shorted valve will cause damage to the PCM.

  9. Object Number: 621407  Size: SH
  10. Blow air through the inboard port (2) of the EVAP vent valve. Air has to flow freely through the outboard port (1).
  11. Replace the valve if the air does not flow through the inboard port (2). Refer to Evaporative Emission Canister Vent Solenoid Valve Replacement .

  12. Object Number: 621406  Size: SH
  13. Apply battery voltage across the solenoid terminals.
  14. Blow air through the inboard port (1) of the solenoid. Air should NOT flow through the valve.
  15. Replace the solenoid if the solenoid fails any of the tests. Refer to Evaporative Emission Canister Vent Solenoid Valve Replacement .

Fuel Tank Pressure (FTP) Sensor Inspection

Tools Required

J 23738-A Hand Vacuum Pump


    Object Number: 241188  Size: SH
  1. Disconnect the electrical connector (4) from the fuel tank pressure (FTP) sensor .
  2. Turn ON the ignition, with the engine OFF.
  3. Measure the voltage between the 5 volt reference circuit (2) and the sensor ground circuit (1) with a DMM.
  4. Measure
    The DMM should read 5.0 volts.

  5. If the measured voltage is not 5.0 volts for both tests, inspect for the following conditions:
  6. • An open or a high resistance in the 5 volt reference circuit of the fuel tank pressure sensor .
    • An open or high resistance in the ground circuit of the fuel tank pressure sensor .
    • Refer to Testing for Intermittent Conditions and Poor Connections and Wiring Repairs in Wiring Systems.

    Object Number: 241192  Size: SH
  7. Measure the voltage from the input circuit (1) of the fuel tank pressure sensor to ground with the DMM.
  8. Measure
    The DMM should read 4.5-5.5 volts.

  9. If the measured voltage is not 4.5-5.5 volts inspect for the following conditions:
  10. • An open or high resistance in the input circuit of the fuel tank pressure sensor .
    • A short in the input circuit of the fuel tank pressure sensor.
    • Refer to Testing for Intermittent Conditions and Poor Connections and to Wiring Repairs in Wiring Systems.

    Object Number: 241197  Size: SH
  11. Turn OFF the ignition.
  12. Connect the electrical connector to the fuel tank pressure sensor .
  13. Disconnect the vacuum hose to the fuel tank pressure sensor.
  14. Connect a hand held vacuum/pressure pump to the fuel tank pressure sensor.
  15. Select the DC scale on the DMM.
  16. Connect one lead to the input circuit at C221 of the fuel tank pressure sensor , and connect the other lead to ground.
  17. Measure the output voltage under the following conditions:
  18. • Apply vacuum of 2.0 kPa (15 mm Hg, 0.59 in. Hg) to the fuel tank pressure sensor.

    Measure
    1.3-2.1 volts

    • Release the vacuum from the fuel tank pressure sensor.

    Measure
    3.0-3.6 volts

    • Apply a pressure of 1.5 kPa (0.22 psi) to the fuel tank pressure sensor.

    Measure
    4.2-4.8 volts

  19. Replace the fuel tank pressure sensor if the measured voltage is not within the test values listed above. Refer to Fuel Tank Pressure Sensor Replacement .
  20. Remove the hand held vacuum pump.
  21. Connect the vacuum hose to the fuel tank pressure sensor .

EVAP Canister Inspection

Tools Required

J 23738-A Hand Vacuum Pump

    Caution: Do not breathe the air through the EVAP component tubes or hoses. The fuel vapors inside the EVAP components may cause personal injury.


    Object Number: 241403  Size: SH
  1. Remove the EVAP canister. Refer to Evaporative Emission Canister Replacement .
  2. Plug the port (4).
  3. Hold the port plugged through the all tests.
  4. Hold the port (5) closed.
  5. Blow air with a pressure of 1.7 kPa (0.5 in Hg/0.25 psi) into port (1).
  6. Verify that air flows out of port (2).

  7. Object Number: 241406  Size: SH
  8. Hold the port (5) and the port (2) closed.
  9. Blow air with a pressure of 1.7 kPa (0.5 in Hg/0.25 psi) into port (1).
  10. Verify that air does not flow out of the port (3).

  11. Object Number: 241409  Size: SH
  12. Hold the port (3) closed.
  13. Apply a vacuum of 3.5 kPa (1.0 in Hg/0.5 psi) to port (5).
  14. Verify that the vacuum holds if the port (3) is closed.
  15. Open the port (3) and check for vacuum release.

  16. Object Number: 241410  Size: SH
  17. Hold the port (3) closed and apply 3.5 kPa (1.0 in. Hg/0.5 psi) of vacuum to port (1) .
  18. Check that air flows into the port (5).
  19. Replace the EVAP canister if the EVAP canister purge valve failed the above tests.
  20. Remove the plug from the EVAP port.
  21. Install the EVAP canister. Refer to Evaporative Emission Canister Replacement .

EVAP System Inspection


    Object Number: 693703  Size: SH
  1. Visually inspect the EVAP lines, the hoses, and the connection for the following:
  2. • Any sharp bends or kinks
    • Any deformed lines and hoses
    • Any cracks
    • Any fuel leakage
    • Any incorrect routing of lines and hoses
  3. Repair or replace any lines and hoses as necessary.
  4. Inspect the fuel filler cap gasket for damage.

  5. Object Number: 241400  Size: SH
  6. Visually inspect the EVAP canister for cracks.
  7. Replace the EVAP canister if the canister is damaged. Refer to Evaporative Emission Canister Replacement .