GM Service Manual Online
For 1990-2009 cars only

The air induction system provides air and oxygen for the combustion process. The air cleaner keeps dirt from entering the engine. Outside air is drawn into a forward mounted air cleaner. The air passes through the air filter element and past the mass air flow (MAF) sensor to the throttle body. The air then flows through the intake manifold and into the cylinder head. Finally in the cylinder head, the air travels through the intake runner, ending in the combustion chamber.


Object Number: 623056  Size: MH
(1)EVAP Vent Hose
(2)IAT Electrical Connector
(3)Air Cleaner Housing
(4)Air Cleaner Element
(5)Air Cleaner Cover
(6)MAF Sensor Electrical Connector

The following components are directly or indirectly a part of the air supply system.

Mass Air Flow (MAF) Sensor


Object Number: 621224  Size: SH

The mass air flow (MAF) sensor measures the changes in the intake air volume that result from the changes in throttle opening and the air density. The airflow measurements are used by the PCM in order to determine the engine fueling requirements.

The MAF sensor is a hot-wire design. A platinum hot wire and a thermister are located in the intake air bypass passage of the MAF sensor housing. The temperature of the platinum hot wire is affected by exposure to air flow and by exposure to air temperature. The platinum hot wire is maintained at a set temperature by controlling the current flow through the wire. The MAF sensor converts the changes in current flow to a voltage signal. The voltage signal from the MAF sensor enables the PCM to detect changes in the air density and changes in air volume.

The MAF sensor also contains the IAT sensor. The IAT sensor cannot be serviced separately from the MAF sensor.

Throttle Body Assembly


Object Number: 621222  Size: SH

The throttle body contains a throttle valve that controls the amount of air entering the engine. The throttle position (TP) sensor and the idle air control (IAC) valve are both attached to the throttle body. The throttle body has an engine coolant passage that provides warming of the throttle body housing and prevents icing.

The throttle body contains vacuum ports that are located above and below the throttle valve. These vacuum ports provide the vacuum signals used by various components.

Idle Air Control (IAC) Valve


Object Number: 228619  Size: SH

The idle air control (IAC) valve is attached to the underside of the throttle body with 4 bolts. The IAC valve enables the powertrain control module (PCM) to easily control the engine idle speed by precisely metering the engines air intake at closed throttle. The IAC valve opens and closes the idle air bypass passage according to signals from the PCM. The IAC valve contains an engine coolant passage that enables the IAC valve to operate more efficiently at cold temperatures. The PCM determines the correct engine idle speed by using input from various sensors and switches in order to assess the engine status and requirements.

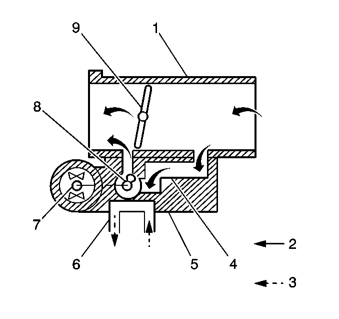
Operation


Object Number: 242543  Size: SH
(1)Throttle Body
(2)Air
(3)Coolant
(4)Idle Air (Bypass) Passage
(5)IAC Valve
(6)Coolant Passage
(7)Magnet
(8)Rotary Valve
(9)Throttle Valve

The PCM uses the IAC valve in order to control the engine idle speed. The PCM communicates with the IAC valve by varying the ON time of a repeating ON/OFF duty cycle. A magnet inside the IAC valve operates a rotary valve that controls the opening of the idle air bypass passage in the throttle body. The idle air passage allows air to enter the engine without passing over the throttle valve. The strength of the magnet in the IAC valve is related to the current flow in the IAC circuit.

The PCM increases the ON time of the IAC valve command in order to increase the idle air passage opening. A larger idle air passage opening allows more air to enter the intake resulting in an increase in engine speed.

The IAC valve contains an engine coolant passage that enables the IAC valve to operate more efficiently at cold temperatures. The IAC valve enables the PCM to easily control engine idle speed by precisely metering the engine's air intake at closed throttle.

Engine Idle Speed Control

The engine idle speed is controlled by the PCM through the idle air control (IAC) valve. There are several reasons for idle speed control:

  1. In order to maintain the engine idle speed at the specified RPM at all times. The engine idle speed can vary due to any of the following reasons:
  2. • A change in the load applied to engine such as when the rear defogger is operating, the automatic transaxle is shifted to R, D, 2 or L ranges, the A/C is turned ON, the headlights or stop lights are turned ON, etc.
    • A change in the atmospheric pressure.
    • A change in the engine's condition over time.
  3. In order to improve the starting performance of the engine.
  4. In order to improve the driveability of the engine during warm up.
  5. In order to compensate for the change in the air/fuel mixture ratio when decelerating.

Intake Air Temperature (IAT) Sensor

The intake air temperature (IAT) sensor is an integral part of the mass air flow (MAF) sensor that is mounted in the air cleaner assembly. The IAT sensor measures the temperature of the air entering the intake manifold. The IAT sensor provides temperature information to the circuitry of the MAF sensor and the PCM.

The IAT sensor is a thermistor--a resistor whose resistance changes as a function of temperature. When the temperature is low, the resistance is high. The resistance decreases as the temperature increases. The IAT sensor is a 2-wire circuit with a reference or signal voltage and a ground coming from the PCM.

IAT Sensor Operation

Temperature

Resistance

Voltage

Low

High

High

High

Low

Low

Throttle Position (TP) Sensor


Object Number: 228403  Size: SH

The throttle position (TP) sensor is a potentiometer connected to the throttle shaft on the throttle body. By monitoring the voltage on the signal line, the powertrain control module (PCM) calculates the throttle position. As the throttle valve angle changes when the accelerator pedal is moved, the TP sensor signal also changes. At a closed throttle position, the output of the TP sensor is low. As the throttle valve opens, the output increases so that at wide open throttle, the output voltage should be more than 3.3 volts.

Because the position of the throttle valve controls the air supply to the engine, the PCM can modify the fuel delivery based on the throttle angle. For example, power enrichment occurs when the throttle angle approaches wide-open throttle. The PCM looks primarily for changes in the TP sensor output to control fuel delivery. Acceleration enrichment occurs when the throttle angle increases, similar to the accelerator pump on a carburetor equipped vehicle.