GM Service Manual Online
For 1990-2009 cars only

Removal Procedure

    Notice: The wheels of the vehicle must be straight ahead and the steering column in the LOCK position before disconnecting the steering column or intermediate shaft from the steering gear. Failure to do so will cause the coil assembly in the steering column to become uncentered which will cause damage to the coil assembly.

  1. Verify the front wheels are in the straight ahead position.

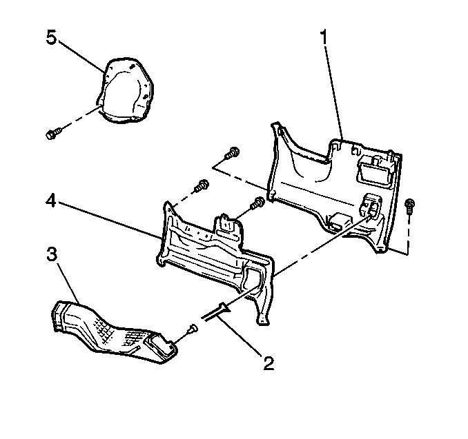
  2. Object Number: 363416  Size: SH
  3. Remove the 5 steering column upper cover bolts and the steering column upper cover (5) from the bulkhead.

  4. Object Number: 328680  Size: SH
  5. Remove the steering shaft lower coupling bolt (15).
  6. Remove the following components:
  7. • The outlet pipe heat shield bolt
    • The outlet pipe heat shield
  8. Remove the following components:
  9. 5.1. The LH steering gear inlet and outlet pipe clip bolt (12)
    5.2. The RH steering gear outlet pipe clip bolt
    5.3. The LH steering gear inlet and outlet pipe clip (14)
  10. Place a drain pan or a suitable container under the vehicle in order to collect the power steering fluid.
  11. Notice: Do not start the vehicle with any power steering gear inlet or outlet hoses disconnected. When disconnected, plug or cap all openings of components. Failure to do so could result in contamination or loss of power steering fluid and damage to the system.

  12. Disconnect the steering gear inlet pipe (4) from the steering gear.
  13. Disconnect the steering gear outlet pipe (2) from the steering gear.
  14. Remove the oxygen sensor and the gasket. Refer to Heated Oxygen Sensor 1 Replacement in Engine Controls.
  15. Install the Engine Support Fixture. Refer to Engine Support Fixture in Engine Mechanical - 1.8 L.
  16. Raise and support the vehicle. Refer to Lifting and Jacking the Vehicle in General Information.

  17. Object Number: 239356  Size: SH
  18. Remove the six bolts and the RH lower engine splash shield (1).
  19. Remove the 6 bolts and the LH lower engine splash shield.
  20. Remove the following components from the vehicle:
  21. • The exhaust manifold pipe drive shaft heat shield
    • The 1 nut
    • The 2 bolts
  22. Remove the front tire and wheel assemblies. Refer to Tire and Wheel Removal and Installation in Tires and Wheels.
  23. Remove the 2 outer tie rods. Refer to Rack and Pinion Outer Tie Rod End Replacement .

  24. Object Number: 327880  Size: SH
  25. Remove the 2 nuts (4, 6) and the front suspension brace (5).

  26. Object Number: 428101  Size: SH
  27. Remove the front suspension crossmember (7), the trans support (6), the 2  control arms (8, 9), and the front stabilizer shaft together as a unit in order to gain access to the steering gear. Refer to Front Suspension Crossmember Replacement in Front Suspension.
  28. Remove the rear transaxle mount through bolt and the rear transaxle mount.
  29. Remove the 3 rear transaxle mount bracket bolts and the bracket.
  30. Remove the 2 exhaust pipe bolts and the 2 springs in order to disconnect the exhaust pipe from the exhaust manifold.
  31. Remove the 1 steering gear boot shield bolt, the 1 steering gear boot heat shield nut, and the steering gear boot heat shield.

  32. Object Number: 328680  Size: SH
  33. Remove the following components from the steering gear:
  34. • The 2 steering gear mounting clamp bolts (11)
    • The 2 steering gear clamp nuts (10)
    • The 2 steering gear clamps (9)
  35. Remove the steering gear from the vehicle using the following process:
  36. 24.1. Move the steering gear to the RH side of the vehicle.
    24.2. Lower and remove the steering gear from the LH side of the vehicle.
  37. Remove the 2 insulators (8) from the steering gear.

Installation Procedure


    Object Number: 328680  Size: SH
  1. Install the 2  insulators (8) to the steering gear.
  2. Place the steering gear in the vehicle using the following process:
  3. 2.1. From the LH side of the vehicle, raise and move the steering gear toward the RH side of the vehicle.
    2.2. Move the steering gear toward the LH side of the vehicle.

    Notice: Use the correct fastener in the correct location. Replacement fasteners must be the correct part number for that application. Fasteners requiring replacement or fasteners requiring the use of thread locking compound or sealant are identified in the service procedure. Do not use paints, lubricants, or corrosion inhibitors on fasteners or fastener joint surfaces unless specified. These coatings affect fastener torque and joint clamping force and may damage the fastener. Use the correct tightening sequence and specifications when installing fasteners in order to avoid damage to parts and systems.

  4. Install the following components to the steering gear:
  5. • The 2 steering gear clamps (9)
    • The 2 steering gear clamp bolts (11)
    • The 2 steering gear clamp nuts (10)

    Tighten
    Tighten the steering gear clamp bolts and nuts to 71 N·m (52 lb ft).

  6. Install the steering gear boot heat shield. Secure with 1 bolt and 1 nut.
  7. Tighten
    Tighten the steering gear boot heat shield bolt and nut to 5.4 N·m (48 lb in).

  8. Install the exhaust pipe and the gasket to the exhaust manifold. Secure with the 2 exhaust pipe springs and the 2 exhaust pipe bolts.
  9. Tighten
    Tighten the exhaust pipe bolts to 62 N·m (46 lb ft).

  10. Install the rear transaxle mount bracket. Secure with 3 bolts.
  11. Tighten
    Tighten the bolts to 77 N·m (57 lb ft).

  12. Install the rear transaxle mount. Secure with the through bolt.
  13. Tighten
    Tighten the rear transaxle mount through bolt to 87 N·m (64 lb ft).


    Object Number: 428101  Size: SH
  14. Install the front suspension crossmember (7), the trans support (6), the 2 control arms (8, 9), and the stabilizer shaft together as a unit. Refer to Front Suspension Crossmember Replacement in Front Suspension.

  15. Object Number: 327880  Size: SH
  16. Install the front suspension brace (5). Secure with 2 nuts (4, 6).
  17. Tighten
    Tighten the nuts to 69 N·m (51 lb ft).

  18. Install the outer tie rod. Refer to Rack and Pinion Outer Tie Rod End Replacement .
  19. Install the front tire and wheel assemblies. Refer to Tire and Wheel Removal and Installation in Tires and Wheels.
  20. Install the exhaust manifold pipe drive shaft heat shield. Secure with 1 nut and 2 bolts.
  21. Tighten
    Tighten the nut and bolt to 5.4 N·m (48 lb in).


    Object Number: 239356  Size: SH
  22. Install the LH lower engine splash shield. Secure with 6 bolts
  23. Tighten
    Tighten the engine splash shield bolts to 10 N·m (89 lb in).

  24. Install the RH lower engine splash shield (1). Secure with 6 bolts
  25. Tighten
    Tighten the engine splash shield bolts to 10 N·m (89 lb in).

  26. Lower the vehicle.
  27. Remove the Engine Support Fixture. Refer to Engine Support Fixture in Engine Mechanical - 1.8 L.
  28. Install the oxygen sensor gasket and the oxygen sensor. Refer to Heated Oxygen Sensor 1 Replacement in Engine Controls.

  29. Object Number: 328680  Size: SH

    Notice: The inlet and outlet hoses must not be twisted during installation. Do not bend or distort the inlet or outlet hoses to make installation easier. Failure to follow these procedures could result in component damage.

  30. Connect the steering gear outlet pipe (2) to the steering gear. Secure with one nut.
  31. Tighten
    Tighten the nut to 13 N·m (108 lb in).

  32. Connect the steering gear inlet pipe (4) to the steering gear. Secure with one nut.
  33. Tighten
    Tighten the nut to 13 N·m (108 lb in).

  34. Install the following components:
  35. 20.1. The LH steering gear inlet and outlet pipe clip (14)
    20.2. The RH steering gear outlet pipe clip bolt
    20.3. The LH steering gear inlet and outlet pipe clip bolt (12)

    Tighten
    Tighten the bolts to 5.4 N·m (48 lb in).

  36. Install the following components:
  37. • The outlet pipe heat shield
    • The outlet pipe heat shield bolt

    Tighten
    Tighten the bolt to 5.4 N·m (48 lb in).

  38. Install the steering shaft lower coupling bolt (15).
  39. Tighten
    Tighten the bolt to 35 N·m (26 lb ft).


    Object Number: 363416  Size: SH
  40. Install the steering column upper cover (5). Secure with 5 bolts.
  41. Tighten
    Tighten the bolts to 4.9 N·m (43 lb in).

    Notice: When adding fluid or making a complete fluid change, always use the proper power steering fluid. Failure to use the proper fluid will cause hose and seal damage and fluid leaks.

  42. Fill the power steering fluid reservoir. Refer to Checking and Adding Power Steering Fluid .
  43. Notice: If the power steering system has been serviced, an accurate fluid level reading cannot be obtained unless air is bled from the steering system. The air in the fluid may cause pump cavitation noise and may cause pump damage over a period of time.

  44. Bleed the power steering system. Refer to Power Steering System Bleeding .
  45. Measure the wheel alignment. Adjust as necessary. Refer to Wheel Alignment Measurement in Wheel Alignment.