GM Service Manual Online
For 1990-2009 cars only

Removal Procedure

    Caution: This vehicle is equipped with a Supplemental Inflatable Restraint (SIR) System. Failure to follow the correct procedure could cause the following conditions:

       • Air bag deployment
       • Personal injury
       • Unnecessary SIR system repairs
    In order to avoid the above conditions, observe the following guidelines:
       • Refer to SIR Component Views in order to determine if you are performing service on or near the SIR components or the SIR wiring.
       • If you are performing service on or near the SIR components or the SIR wiring, disable the SIR system. Refer to Disabling the SIR System.

    Notice: The front wheels of the vehicle must be maintained in the straight ahead position and the steering column must be in the LOCK position before disconnecting the steering column or intermediate shaft. Failure to follow these procedures will cause improper alignment of some components during installation and result in damage to the SIR coil assembly.

    Notice: Once the steering column is removed from the vehicle, the column is extremely susceptible to damage. Dropping the column assembly on the end could collapse the steering shaft or loosen the plastic injections, which maintain column rigidity. Leaning on the column assembly could cause the jacket to bend or deform. Any of the above damage could impair the columns collapsible design. Do NOT hammer on the end of the shaft, because hammering could loosen the plastic injections, which maintain column rigidity. If you need to remove the steering wheel, refer to the Steering Wheel Replacement procedure in this section.

  1. Disable SIR system. Refer to Disabling the SIR System in SIR.
  2. Important: In the event deployment has occurred, inspect the turn signal and headlamp and windshield washer switch with levers and inflatable restraint coil assembly for any signs of scorching, melting or other damage due to excessive heat. If the turn signal and headlamp dimmer switch, the windshield wiper and windshield washer switch, or the steering wheel inflatable restraint module coil is damaged, replace the damaged component. If more than one component is damaged, or the base of the assembly is damaged, replace the complete assembly.

    Important: If you are servicing the steering column or any column-mounted component, remove the steering wheel. If you are removing the steering column simply to gain access to the instrument panel components, leave the steering wheel installed on the column.

  3. Remove the steering wheel. Refer to Steering Wheel Replacement .
  4. Remove the knee bolster trim panel and the knee bolster. Refer to Knee Bolster Replacement in Instrument Panel, Gages, and Console.

  5. Object Number: 363398  Size: SH
  6. Remove the 3 screws and the steering column lower trim cover (6).
  7. Remove the 1 screw and the steering column upper trim cover (7).
  8. Disconnect the following components:
  9. • The turn signal and headlamp dimmer switch connector
    • The windshield wiper washer switch connector
    • The inflatable restraint steering wheel module coil connector C1 (BLK)
    • The inflatable restraint steering wheel module coil connector C3 (YEL)
  10. Remove the following components:
  11. • The 3 turn signal base screws
    • The turn signal and headlamp and windshield washer switch with levers and inflatable restraint coil assembly (5)

    Object Number: 363416  Size: SH
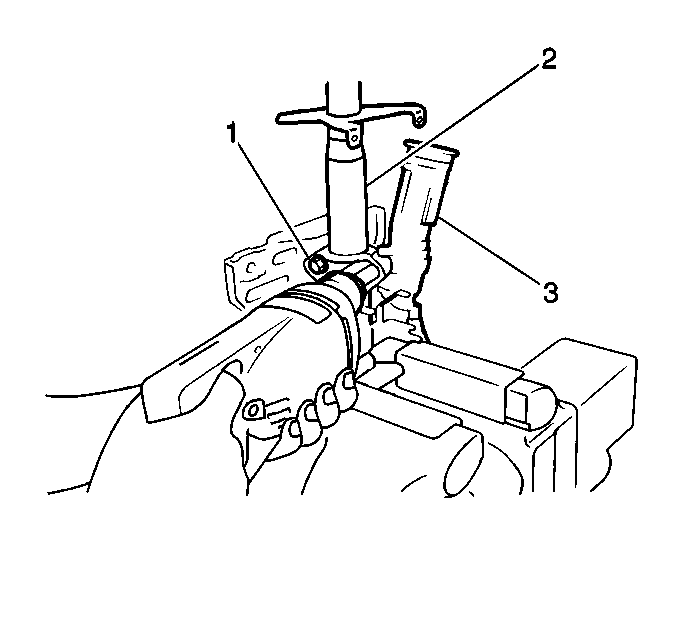
  12. Remove the following components:
  13. • The left ventilation duct (3)
    • The clip
  14. Remove the following components:
  15. • The steering column upper dash cover (5)
    • The 5 bolts
  16. Cut the cowl foam 7.6 mm (3 in) at the base of the column in order to access the steering shaft coupling.

  17. Object Number: 244070  Size: SH
  18. Place a match mark on the steering shaft coupling and the steering gear pinion shaft.
  19. Loosen the upper steering shaft coupling bolt (1).
  20. Remove the lower steering shaft coupling bolt (2).
  21. Important: The ignition key alarm switch and the ignition lock cylinder solenoid utilize the same connector. If necessary, you may remove the solenoid wires from the connector.

  22. Disconnect the following components:
  23. • The ignition switch connector
    • The ignition key alarm switch and ignition solenoid connector
    • The 2 wire harness retainers

    Object Number: 363408  Size: SH
  24. Remove the following from the column assembly:
  25. • The 2 steering column lower support bolts (2)
    • The 2 steering column lower support nuts (3)
  26. Remove the steering column from the vehicle.

  27. Object Number: 244317  Size: MH
  28. Mark the center of the 2 tapered head bolts (3, 4) with a centering punch.

  29. Object Number: 244069  Size: SH
  30. Drill into the 2 bolts (1) with a 4 mm (0.16 in) drill bit.

  31. Object Number: 244068  Size: SH
  32. Remove the 2 bolts with a screw extractor (2).
  33. Remove the ignition lock cylinder case clamp from the column.

  34. Object Number: 244317  Size: MH
  35. Insert the ignition key into the ignition lock cylinder (8).
  36. Turn the key to the ACC position.
  37. Use a screwdriver in order to push in the stop pin on the underside of the lock cylinder case (7).
  38. Remove the ignition lock cylinder from the ignition lock cylinder case.
  39. Remove the following components:
  40. • The ignition lock cylinder case
    • The 2 screws and the ignition switch (6)
    • The 2 screws and the ignition lock cylinder solenoid (1)
    • The ignition key alarm switch (9)

Installation Procedure


    Object Number: 244317  Size: MH
  1. Install the following to the steering column:
  2. • The ignition lock cylinder case (7)
    • The ignition lock cylinder case clamp (2)
    • The ignition and key alarm switch (9)
    • The 2 screws and the ignition lock cylinder solenoid (1)
    • The 2 screws and the ignition switch (6)
  3. Install 2 new tapered head bolts (3, 4). Tighten the 2 new tapered head bolts until the bolt heads break off.
  4. Insert the ignition key into the ignition lock cylinder (8). Ensure that the key is in the ACC position.
  5. Insert the ignition lock cylinder into the ignition lock cylinder case until the stop pin engages.
  6. Remove the key from the ignition lock cylinder.

  7. Object Number: 363408  Size: SH
  8. Install the following to the steering column:
  9. • The steering shaft coupling (4)
    • The upper steering shaft coupling bolt (6). Do not tighten the bolt.

    Notice: Use the correct fastener in the correct location. Replacement fasteners must be the correct part number for that application. Fasteners requiring replacement or fasteners requiring the use of thread locking compound or sealant are identified in the service procedure. Do not use paints, lubricants, or corrosion inhibitors on fasteners or fastener joint surfaces unless specified. These coatings affect fastener torque and joint clamping force and may damage the fastener. Use the correct tightening sequence and specifications when installing fasteners in order to avoid damage to parts and systems.

  10. Install the steering column to the vehicle. Attach with following:
  11. • The 2 steering column lower support bolts (2)
    • The 2 steering column lower support nuts (3)

    Tighten
    Tighten the bolts and nuts to 26 N·m (19 lb ft).

  12. Connect the following components:
  13. • The ignition switch connector
    • The ignition key alarm switch and ignition solenoid connector
    • The 2 wire harness retainers

    Object Number: 244070  Size: SH
  14. Align the match mark (3) on the steering shaft coupling and the steering gear pinion shaft.
  15. Install the lower steering shaft coupling bolt (2).
  16. Tighten the 2 steering shaft coupling bolts (2, 3).
  17. Tighten
    Tighten the 2 bolts to 35 N·m (26 lb ft).


    Object Number: 363416  Size: SH
  18. Install the following components:
  19. • The steering column upper dash cover (5)
    • The 5 bolts

    Tighten
    Tighten the 5 bolts to 4.9 N·m (43 lb in).

  20. Install the following components:
  21. • The left ventilation duct (3)
    • The clip

    Object Number: 363398  Size: SH
  22. Install the following components:
  23. • The turn signal and headlamp and windshield washer switch with levers and inflatable restraint coil assembly (5)
    • The 3 turn signal base screws
  24. Connect the following components:
  25. • The turn signal and headlamp dimmer switch connector
    • The windshield wiper washer switch connector
    • The inflatable restraint steering wheel module coil connector C1 (BLK)
    • The inflatable restraint steering wheel module coil connector C3 (YEL)
  26. Install the steering column upper trim cover (7). Secure with 1 screw.
  27. Install the steering column lower trim cover (6). Secure with 3 screws.
  28. Install the knee bolster and the knee bolster trim panel. Refer to Knee Bolster Replacement in Instrument Panel, Gages, and Console.
  29. Install the steering wheel. Refer to Steering Wheel Replacement .
  30. Enable the SIR system. Refer to Enabling the SIR System in SIR.