GM Service Manual Online
For 1990-2009 cars only

The alignment equipment varies in design and capabilities. Consult with the equipment manufacturer's guidelines prior to setting this angle.


    Object Number: 326339  Size: SH
  1. If the front camber is not within the service allowable range, estimate how much you need to move the front camber. Select the appropriate combination of bolts in order to move the front camber to be within the service allowable range. Refer to Wheel Alignment Specifications .
  2. • In order to move the camber +/- 0.25 degree, use bolt (1), GM P/N 94846618, in the upper bolt position, and bolt (2), GM P/N 94851541, in the lower bolt position.
    • In order to move the camber +/- 0.50 degree, use bolt (1), GM P/N 94846618, in the upper bolt position, and bolt (3), GM P/N 94851542, in the lower bolt position.
    • In order to move the camber +/- 0.75 degree, use bolt (1), GM P/N 94846618, in the upper bolt position, and bolt (4), GM P/N 94851543, in the lower bolt position.
    • In order to move the camber +/- 1.00 degree, use bolt (2), GM P/N 94851541, in the upper bolt position, and bolt (4), GM P/N 94851543, in the lower bolt position.
    • In order to move the camber +/- 1.25 degree, use bolt (3), GM P/N 94851542, in the upper bolt position, and bolt (4), GM P/N 94851543, in the lower bolt position.
    • In order to move the camber +/- 1.50 degree, use bolt (4), GM P/N 94851543, in the upper bolt position, and bolt (4), GM P/N 94851543, in the lower bolt position.

    Object Number: 325540  Size: SH
  3. Raise and support the front of the vehicle with the alignment equipment. Refer to Lifting and Jacking the Vehicle in General Information.
  4. Remove the front tire and wheel assembly from the vehicle. Refer to Tire and Wheel Removal and Installation in Tires and Wheels.
  5. Remove the 2 nuts (1, 2) on the lower side of the strut.
  6. Remove the bolt from the upper bolt position (1).
  7. Install the selected bolt for the upper bolt position.
  8. Remove the bolt from the lower bolt position (2).
  9. Install the selected bolt for the lower bolt position.
  10. Coat the nut's threads with engine oil.
  11. Temporarily install the 2 nuts. DO NOT tighten the nuts.
  12. Install the front tire and wheel assembly. Refer to Tire and Wheel Removal and Installation in Tires and Wheels.
  13. Important: The weight of the vehicle must be on the tires.

  14. Lower the vehicle onto the alignment equipment.
  15. Measure the alignment.

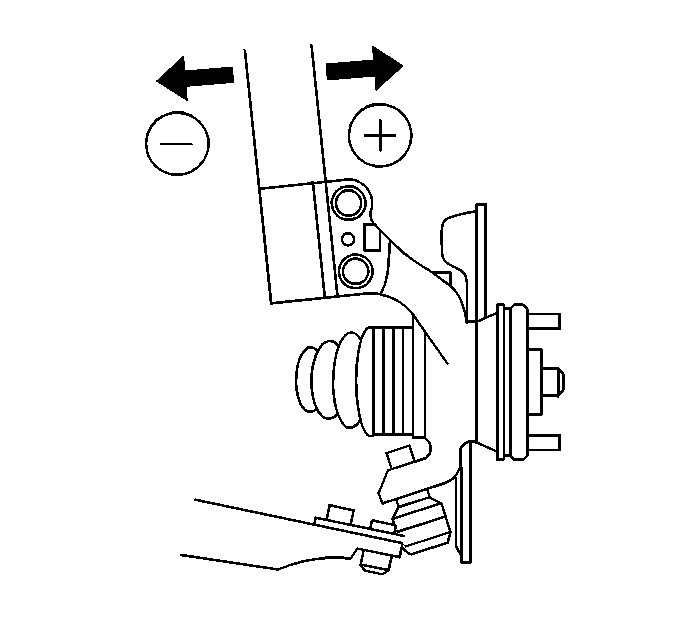
  16. Object Number: 325551  Size: SH
  17. Push or pull on the top of the tire and wheel assembly in order to move the camber to be within the service allowable range. Refer to Wheel Alignment Specifications .
  18. Notice: Use the correct fastener in the correct location. Replacement fasteners must be the correct part number for that application. Fasteners requiring replacement or fasteners requiring the use of thread locking compound or sealant are identified in the service procedure. Do not use paints, lubricants, or corrosion inhibitors on fasteners or fastener joint surfaces unless specified. These coatings affect fastener torque and joint clamping force and may damage the fastener. Use the correct tightening sequence and specifications when installing fasteners in order to avoid damage to parts and systems.

  19. Tighten the nuts and the bolts on the lower side of the strut.
  20. Tighten
    Tighten the nuts and the bolts to 274 N·m (203 lb ft).