GM Service Manual Online
For 1990-2009 cars only

Removal Procedure

  1. Raise and support the vehicle. Refer to Lifting and Jacking the Vehicle in General Information.
  2. Remove the tire and wheel assembly from the vehicle. Refer to Tire and Wheel Removal and Installation in Tires and Wheels.

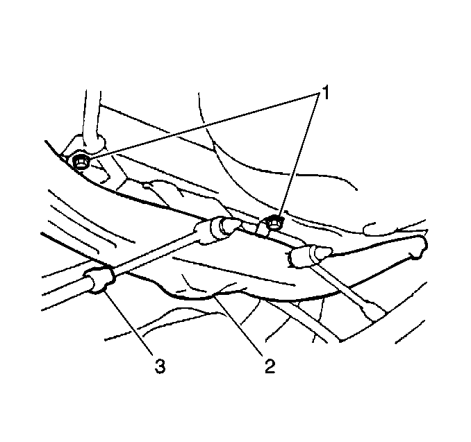
  3. Object Number: 238023  Size: SH
  4. Scribe matchmarks between the following components:
  5. • The stabilizer shaft insulators (1)
    • The stabilizer shaft insulator clamps
    • The stabilizer shaft
    • The body

    Object Number: 238046  Size: SH
  6. Remove the brake hose (4) from the strut assembly (2).
  7. Remove the brake hose clip.
  8. Remove the following components from the rear suspension knuckle:
  9. • The 2 nuts
    • The 2 bolts
    • The strut assembly
  10. Remove the following components from the rear struts:
  11. • The 4 nuts
    • The left stabilizer shaft link
    • The right stabilizer shaft link

    Object Number: 238023  Size: SH
  12. Remove the following components:
  13. • The 4 bolts
    • The left stabilizer shaft insulator clamp
    • The right stabilizer shaft insulator clamp
  14. Remove the 2 stabilizer shaft insulators (1).
  15. Use a jack in order to support the fuel tank.

  16. Object Number: 238024  Size: SH
  17. Remove the 2 bolts from the 2 rear fuel tank bands (1). Allow the bands to hang.
  18. Use a jack in order to support the suspension crossmember.
  19. Remove the 6 bolts securing the suspension crossmember to the body.
  20. Lower the suspension crossmember.
  21. Disconnect the following hoses:
  22. • The ORVR hoses from the EVAP canister
    • The filler neck vapor hoses from the fuel tank
    • The filler neck hose from the fuel tank
  23. Move the stabilizer shaft toward the left side of the vehicle in order to remove the stabilizer shaft from the vehicle.

Installation Procedure


    Object Number: 238024  Size: SH
  1. Move the stabilizer shaft from the left side of the vehicle toward the center of the vehicle in order to install the stabilizer shaft to the vehicle.
  2. Use a jack in order to raise the suspension crossmember (2).
  3. Notice: Use the correct fastener in the correct location. Replacement fasteners must be the correct part number for that application. Fasteners requiring replacement or fasteners requiring the use of thread locking compound or sealant are identified in the service procedure. Do not use paints, lubricants, or corrosion inhibitors on fasteners or fastener joint surfaces unless specified. These coatings affect fastener torque and joint clamping force and may damage the fastener. Use the correct tightening sequence and specifications when installing fasteners in order to avoid damage to parts and systems.

  4. Secure the suspension crossmember with 6 bolts.
  5. Tighten

        • Tighten the outer rear suspension crossmember bolts to 74 N·m (55 lb ft).
        • Tighten the inner rear suspension crossmember bolts to 19 N·m (14 lb ft).
  6. Remove the jack from the suspension crossmember.
  7. Reconnect the following hoses:
  8. • The ORVR hoses to the EVAP canister
    • The filler neck vapor hoses to the fuel tank
    • The filler neck hose to the fuel tank
  9. Install the right and left fuel tank bands. Secure the right and left fuel tank bands using 1 bolt (1) for each band.
  10. Tighten
    Tighten the bolts to 39 N·m (29 lb ft).

  11. Remove the support from the fuel tank.

  12. Object Number: 238023  Size: SH
  13. Install the 2 stabilizer shaft insulators (1) to the stabilizer shaft. Align the matchmarks.
  14. Important: The weight of the vehicle must be on the tires and wheels before tightening the nuts or the bolts.

  15. Install the right and left stabilizer shaft insulator clamps. Secure the right stabilizer shaft insulator clamp using 2 bolts. Secure the left stabilizer shaft insulator clamp using 2 bolts.

  16. Object Number: 238047  Size: SH
  17. Install the stabilizer 2 shaft links (4). Secure the 2 stabilizer shaft links to the stabilizer shaft and the rear strut assemblies using 4 nuts.
  18. Install the strut assembly to the rear suspension knuckle using 2 nuts and 2 bolts.
  19. Install the brake line clip.

  20. Object Number: 238046  Size: SH
  21. Install the brake hose (4) to the strut assembly (2).
  22. Tighten
    Tighten the brake pipe fitting to 15 N·m (11 lb ft).

  23. Install the tire and wheel. Refer to Tire and Wheel Removal and Installation in Tires and Wheels.
  24. Lower the vehicle.
  25. Move the vehicle to a drive-on lift or an alignment rack.
  26. Bounce the vehicle up and down several times in order to stabilize the suspension.

  27. Object Number: 238023  Size: SH
  28. Tighten the 4 bolts on the 2 stabilizer shaft insulator clamps (2).
  29. Tighten
    Tighten the 4 bolts to 19 N·m (14 lb ft).

  30. Tighten the upper stabilizer shaft link nuts to the rear strut assemblies.
  31. Tighten
    Tighten the nuts to 44 N·m (33 lb ft).

  32. Tighten the lower stabilizer shaft link nuts to the stabilizer shaft.
  33. Tighten
    Tighten the nuts to 44 N·m (33 lb ft).

  34. Tighten the 2 nuts and the 2 bolts connecting the rear strut assembly to the rear suspension knuckle.
  35. Tighten
    Tighten the 2 nuts and the 2 bolts to 142 N·m (105 lb ft).

  36. Bleed the brake system. Refer to Hydraulic Brake System Bleeding in Hydraulic Brakes.
  37. Measure the rear wheel alignment. Adjust as necessary. Refer to Wheel Alignment Measurement in Wheel Alignment.