GM Service Manual Online
For 1990-2009 cars only
Makes
🢒
Chevrolet
🢒
2001
🢒
Prizm
🢒
HVAC
🢒
Heating, Ventilation and Air Conditioning
🢒 Blower Motor Resistor Replacement
Removal Procedure
Remove the instrument panel compartment. Refer to
Instrument Panel Compartment Replacement
in Instrument Panel, Gages and Console.
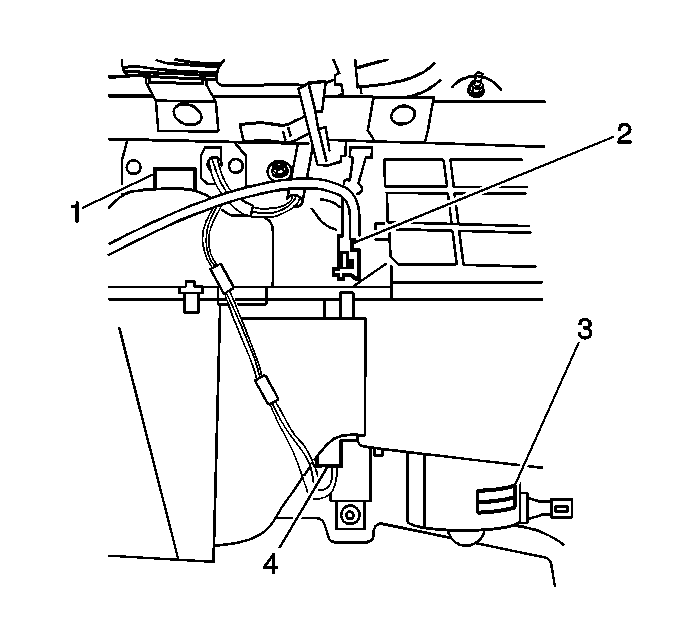
Disconnect the blower motor resistor electrical connector.
Remove the 2 screws and the blower motor resistor (4) from the blower case.
Installation Procedure
Install the blower motor resistor (4) to the blower case. Secure with the 2 screws.
Connect the blower motor resistor electrical connector.
Install the IP compartment. Refer to
Instrument Panel Compartment Replacement
in Instrument Panel, Gages and Console.