GM Service Manual Online
For 1990-2009 cars only

Removal Procedure

  1. Discharge and recover the refrigerant. Refer to Refrigerant Recovery and Recharging .

  2. Object Number: 244238  Size: SH

    Important: Cap the open fittings to prevent dirt and moisture from entering the refrigeration system.

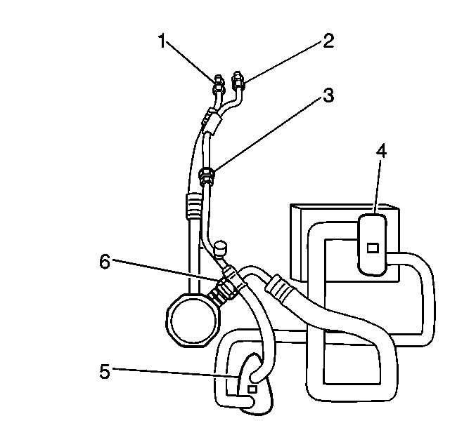
  3. Remove the evaporator liquid hose from the evaporator liquid tube (3).

  4. Object Number: 82109  Size: SH
  5. Carefully remove the orifice tube (1) with the J 26549-E or needle nose pliers.

Installation Procedure


    Object Number: 82109  Size: SH

    Important: Use new O-rings lubricated with 525 viscosity mineral oil.

  1. Install the orifice tube (1) to the evaporator liquid hose.

  2. Object Number: 244238  Size: SH

    Notice: Use the correct fastener in the correct location. Replacement fasteners must be the correct part number for that application. Fasteners requiring replacement or fasteners requiring the use of thread locking compound or sealant are identified in the service procedure. Do not use paints, lubricants, or corrosion inhibitors on fasteners or fastener joint surfaces unless specified. These coatings affect fastener torque and joint clamping force and may damage the fastener. Use the correct tightening sequence and specifications when installing fasteners in order to avoid damage to parts and systems.

  3. Install the evaporator liquid hose to the evaporator liquid tube (3).
  4. Tighten
    Tighten the evaporator hose-to-evaporator tube fitting (3) to 25 N·m (19 lb ft).

  5. Evacuate and recharge the refrigerant system. Refer to Refrigerant Recovery and Recharging .
  6. Operate the A/C system and test for refrigerant leaks. Refer to Leak Testing .