GM Service Manual Online
For 1990-2009 cars only
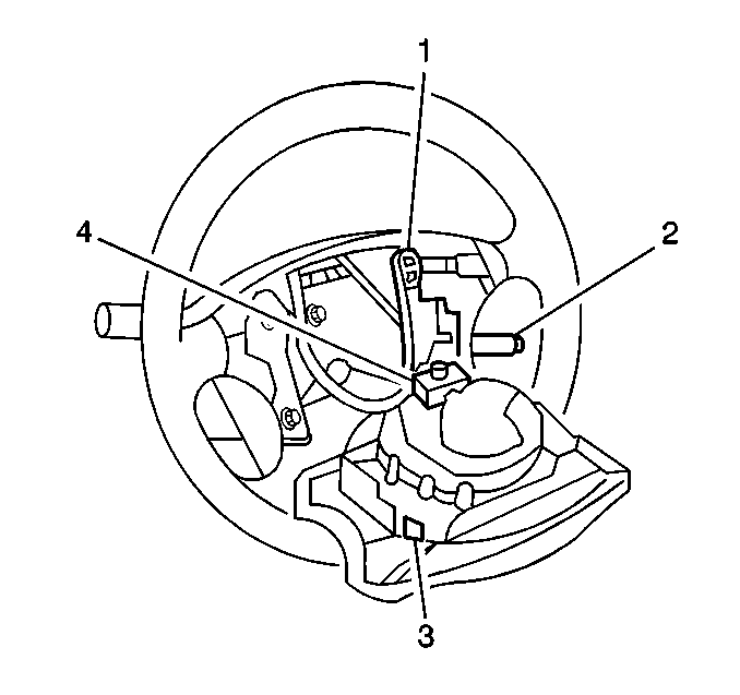
Figure 1:

Steering Column Wiring


Object Number: 326549  Size: SH
(1)Horn Switch
(2)Cruise Control Switch
(3)Inflatable Restraint Steering Wheel Module Coil
(4)Inflatable Restraint Steering Wheel Module Coil Connector
Figure 2:

Engine Compartment View


Object Number: 326378  Size: LF
(1)Spark Plug 4
(2)Ignition Coil 1
(3)Ignition Coil 2
(4)Brake Pressure Modulator Valve (BPMV)
(5)Data Link Connector (Underhood)
(6)Ambient Light Sensor
(7)Intake Temperature (IAT) Sensor
(8)Fuse and Relay Block 1
(9)Fuse and Relay Block 2
(10)Battery
(11)Throttle Position (TP) Sensor (In Back)
(12)Throttle Linkage
(13)Horn
(14)Camshaft Position (CMP) Sensor Right Rear of Cylinder Head
(15)Ambient Air Temperature Sensor (Tachometer Only)
(16)Auxiliary Radiator Fan Motor (Attached to Rear of Radiator) (With A/C Only)
(17)Knock Sensor
(18)A/C Compressor Clutch (Below Generator)
(19)Refrigerant Pressure Switch (With A/C Only)
(20)Fuse and Relay Block 3
(21)Generator
(22)A/C Accumulator (With A/C Only)
(23)Windshield Washer Pump
(24)Windshield Wiper Motor
(25)Cruise Control Servo
(26)Spark Plug 1
(27)Spark Plug 2
(28)Spark Plug 3