| Table 1: | Ambient Light Sensor |
| Table 2: | Center High Mounted Stop Lamp (CHMSL) |
| Table 3: | Cigar Lighter Illumination Lamp |
| Table 4: | Daytime Running Lamps (DRL) Control Module |
| Table 5: | Dome Lamp |
| Table 6: | Hazard Switch |
| Table 7: | I/P Lamp Dimmer |
| Table 8: | LH Combination Lamp |
| Table 9: | Left Front Park/Turn Lamp |
| Table 10: | LH Headlamp |
| Table 11: | Rear License Plate Lamp |
| Table 12: | Rear Compartment Lamp |
| Table 13: | RH Headlamp |
| Table 14: | RH Rear Combination Lamp |
| Table 15: | Right Front Park/Turn Lamp |
| Table 16: | Stoplamp Switch |
| ||||||
|---|---|---|---|---|---|---|
Connector Part Information |
| |||||
Pin | Wire Color | Function | ||||
1 | RED | Reference High | ||||
2 | -- | Not Used | ||||
3 | GRN/RED | Reference Low | ||||
4 | WHT/RED | Reference Signal | ||||
| ||||||
|---|---|---|---|---|---|---|
Connector Part Information |
| |||||
Pin | Wire Color | Function | ||||
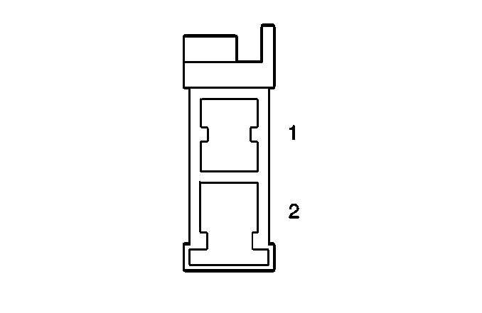
1 | WHT/BLK | Ground | ||||
2 | GRN/WHT | Brake Signal | ||||
| ||||||
|---|---|---|---|---|---|---|
Connector Part Information |
| |||||
Pin | Wire Color | Function | ||||
1 | WHT/GRN | Illumination Controller | ||||
2 | GRN | Tail Fuse | ||||
| ||||||
|---|---|---|---|---|---|---|
Connector Part Information |
| |||||
Pin | Wire Color | Function | ||||
1 | WHT/BLK | Ground | ||||
2 | RED/WHT | Headlamps Signal | ||||
3 | RED/YEL | High Beam Signal | ||||
4 | RED/YEL | Brake Indicator Control | ||||
5 | GRN/RED | Reference Low | ||||
6 | RED | Reference High | ||||
7-10 | -- | Not Used | ||||
11 | RED/YEL | DRL Ground | ||||
12 | WHT/BLK | Ground | ||||
13 | YEL | Charge Input | ||||
14 | RED/BLK | Parking Brake Signal | ||||
15 | WHT/RED | Reference Signal | ||||
16 | LT GRN | Tail Relay Control | ||||
17 | LT GRN/BLK | Park Lamps Signal | ||||
18 | RED/BLK | DRL Relay Control | ||||
19 | RED/WHT | Head Relay Control | ||||
20 | WHT/RED | Dimmer Relay Control | ||||
21 | RED/GRN | High Beam Indicator Control | ||||
22 | BLU/YEL | Battery Positive Voltage | ||||
23 | RED/BLU | Ignition Positive Voltage | ||||
24 | -- | Not Used | ||||
25 | RED/YEL | DRL Ground | ||||
| ||||||
|---|---|---|---|---|---|---|
Connector Part Information |
| |||||
Pin | Wire Color | Function | ||||
1 | RED/WHT | Dome Lamp Control | ||||
2 | BLU/YEL | Battery Positive Voltage | ||||
| ||||||
|---|---|---|---|---|---|---|
Connector Part Information |
| |||||
Pin | Wire Color | Function | ||||
1 | GRN/BLK | Hazard LH Output | ||||
2 | GRN/YEL | Hazard RH Output | ||||
3 | -- | Not Used | ||||
4 | GRN/WHT | Flashing Output | ||||
5 | GRN/RED | Hazard on Request | ||||
6 | WHT | Ignition Positive Voltage | ||||
7 | GRN/ORN | Ignition Positive Voltage | ||||
8 | GRN | Lights ON Signal | ||||
9 | WHT/GRN | Illumination Lamp | ||||
10 | -- | Not Used | ||||
| ||||||
|---|---|---|---|---|---|---|
Connector Part Information |
| |||||
Pin | Wire Color | Function | ||||
1 | GRN | Lights On Signal | ||||
2 | WHT/BLK | Ground | ||||
3 | WHT/GRN | Illumination Lamps | ||||
| ||||||
|---|---|---|---|---|---|---|
Connector Part Information |
| |||||
Pin | Wire Color | Function | ||||
1 | GRN | Park Lamp Signal | ||||
2 | GRN/WHT | Brake Signal | ||||
3 | GRN/BLK | Left Turn Signal | ||||
4 | RED/BLK | Reverse Light Signal | ||||
5 | WHT/BLK | Ground | ||||
6 | -- | Not Used | ||||
| ||||||
|---|---|---|---|---|---|---|
Connector Part Information |
| |||||
Pin | Wire Color | Function | ||||
1 | GRN | Parking Lamp Signal | ||||
2 | WHT/BLK | Ground | ||||
3 | GRN/BLK | Left Turn Signal | ||||
| ||||||
|---|---|---|---|---|---|---|
Connector Part Information |
| |||||
Pin | Wire Color | Function | ||||
1 | RED/GRN | Dimmer Relay Low | ||||
2 | RED/YEL | Dimmer Relay High | ||||
3 | RED/BLK | Ground | ||||
| ||||||
|---|---|---|---|---|---|---|
Connector Part Information |
| |||||
Pin | Wire Color | Function | ||||
1 | WHT/BLK | Ground | ||||
2 | GRN | Parking Lamp Signal | ||||
| ||||||
|---|---|---|---|---|---|---|
Connector Part Information |
| |||||
Pin | Wire Color | Function | ||||
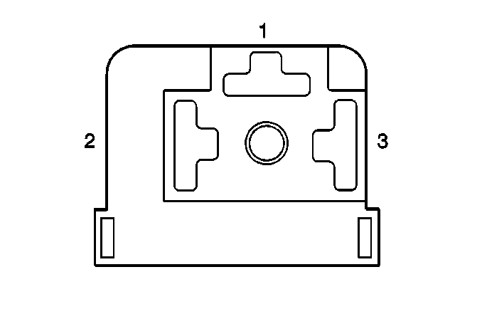
1 | BLU/YEL | Ignition Positive Voltage | ||||
2 | RED/WHT | Rear Compartment Lamp Control | ||||
| ||||||
|---|---|---|---|---|---|---|
Connector Part Information |
| |||||
Pin | Wire Color | Function | ||||
1 | RED/GRN | Dimmer Relay Low | ||||
2 | RED/YEL | Dimmer Relay High | ||||
3 | RED/BLU | Ground | ||||
| ||||||
|---|---|---|---|---|---|---|
Connector Part Information |
| |||||
Pin | Wire Color | Function | ||||
1 | GRN | Park Lamp Signal | ||||
2 | GRN/WHT | Brake Signal | ||||
3 | GRN/YEL | Right Turn Signal | ||||
4 | RED/BLK | Reverse Light Signal | ||||
5 | WHT/BLK | Ground | ||||
6 | -- | Not Used | ||||
| ||||||
|---|---|---|---|---|---|---|
Connector Part Information |
| |||||
Pin | Wire Color | Function | ||||
1 | GRN | Parking Lamp Signal | ||||
2 | WHT/BLK | Ground | ||||
3 | GRN/YEL | RT Turn Signal | ||||
| ||||||
|---|---|---|---|---|---|---|
Connector Part Information |
| |||||
Pin | Wire Color | Function | ||||
1 | GRN/WHT | Brake Signal | ||||
2 | RED/WHT | Battery Positive Voltage | ||||
3 | GRN/BLK | Cruise Control Module | ||||
4 | RED/YEL | Cruise Control Servo | ||||