GM Service Manual Online
For 1990-2009 cars only

Removal Procedure

  1. Refer to

    Caution: Halogen bulbs contain gas under pressure. Handling a bulb improperly could cause it to shatter into flying glass fragments. To help avoid personal injury:

       • Turn off the lamp switch and allow the bulb to cool before changing the bulb.
       • Leave the lamp switch OFF until the bulb change is complete.
       • Always wear eye protection when changing a halogen bulb.
       • Handle the bulb only by its base. Avoid touching the glass.
       • Keep dirt and moisture off the bulb.
       • Properly dispose of the used bulb.
       • Keep halogen bulbs out of the reach of children.


  2. Object Number: 235595  Size: SH
  3. Open the hood.
  4. Remove the 2 bolts (1) which secure the composite headlamp.

  5. Object Number: 242298  Size: SH
  6. Pull the composite headlamp (3) forward.
  7. Disconnect the headlamp bulb electrical connector (2).
  8. Remove the composite headlamp (3) from the vehicle, if necessary.
  9. Remove the headlamp bulb rubber insulator (1), if necessary.

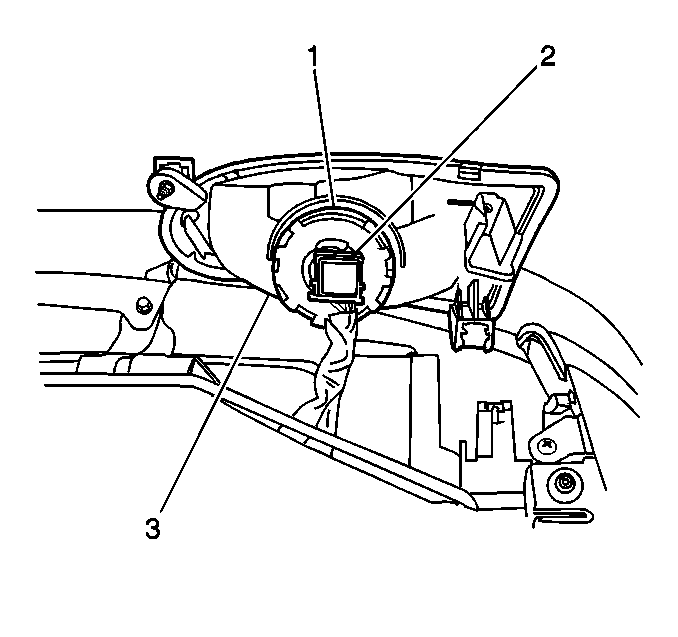
  10. Object Number: 242318  Size: SH
  11. Open the headlamp bulb retainer (1), if necessary.
  12. Remove the headlamp bulb (2) from the composite headlamp (3), if necessary.

Installation Procedure


    Object Number: 242318  Size: SH
  1. Install the composite headlamp bulb (2) to the composite headlamp (3), if removed.
  2. Close the headlamp bulb retainer (1), if opened.

  3. Object Number: 242298  Size: SH
  4. Install the headlamp bulb rubber insulator (1), if removed.
  5. Connect the headlamp bulb electrical connector (2).
  6. Install the composite headlamp (3) into its correct position.

  7. Object Number: 235595  Size: SH

    Notice: Use the correct fastener in the correct location. Replacement fasteners must be the correct part number for that application. Fasteners requiring replacement or fasteners requiring the use of thread locking compound or sealant are identified in the service procedure. Do not use paints, lubricants, or corrosion inhibitors on fasteners or fastener joint surfaces unless specified. These coatings affect fastener torque and joint clamping force and may damage the fastener. Use the correct tightening sequence and specifications when installing fasteners in order to avoid damage to parts and systems.

  8. Secure the composite headlamp with the 2 bolts (1).
  9. Tighten
    Tighten the headlamp mounting bolts to 10 N·m (89 lb in).

  10. Aim the headlamps. Refer to Headlamp Aiming .
  11. Close the hood.