GM Service Manual Online
For 1990-2009 cars only
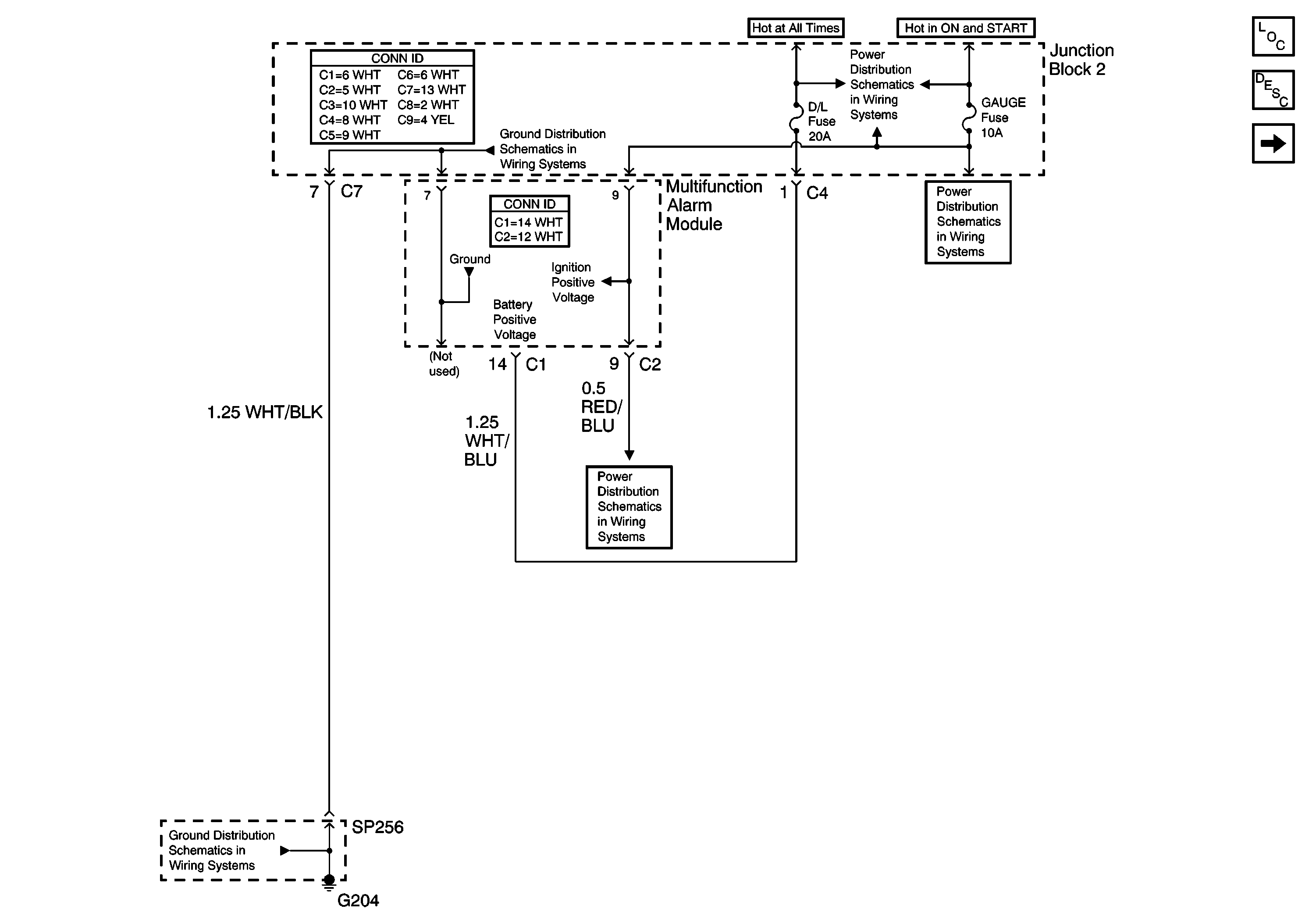
Figure 1:

GAUGE Fuse and Multifunction Alarm Module


Object Number: 688354  Size: FS
Master Electrical Component List
Power Door Locks Description and Operation
Door Lock Actuators and SP252
Gauge Fuse
Gauge Fuse
Gauge Fuse
Junction Block 2
G204, Junction Block 1, and SP256
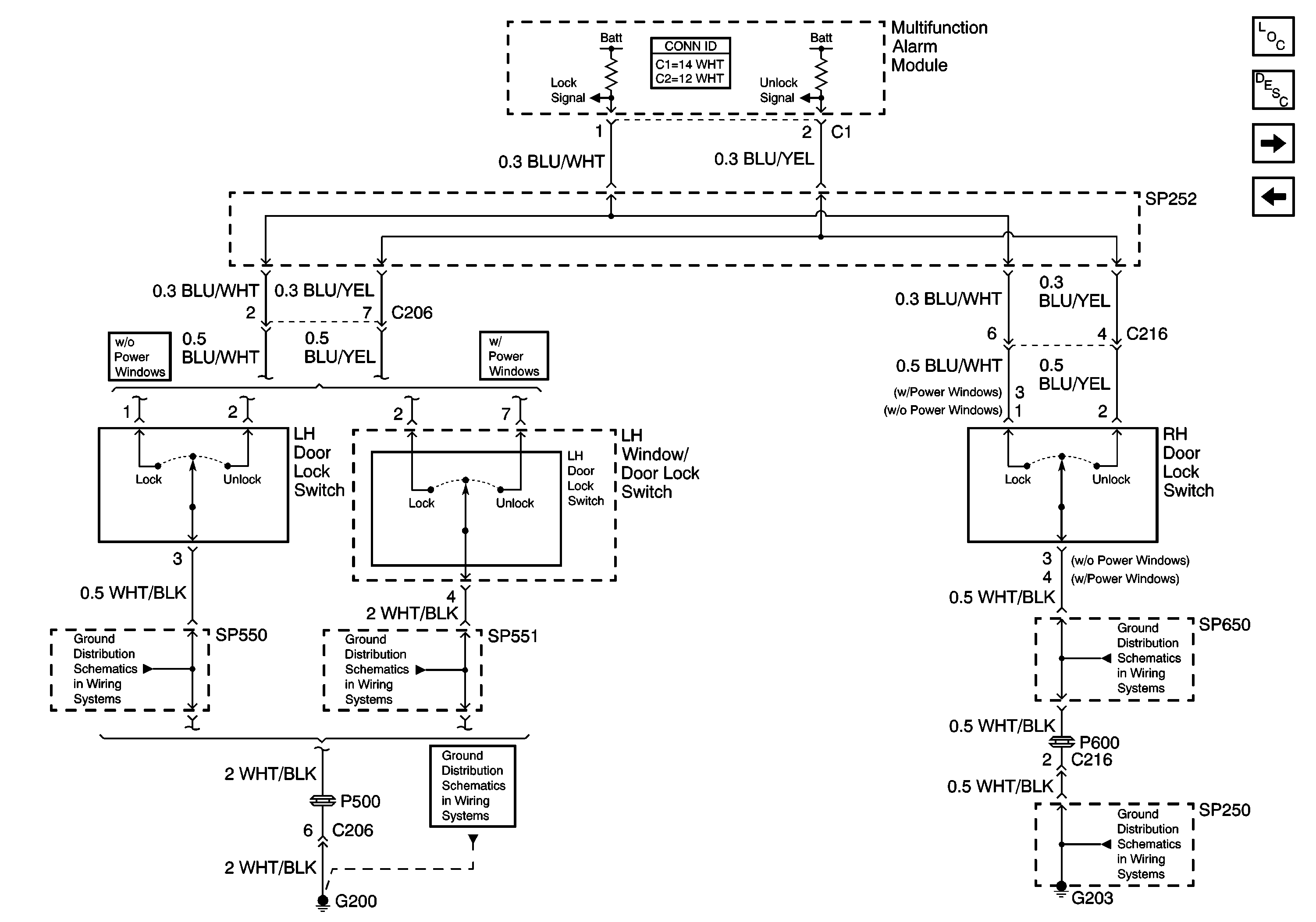
Figure 2:

Door Lock Actuators and SP252


Object Number: 688355  Size: FS
Master Electrical Component List
Power Door Locks Description and Operation
Door Lock Switches
GAUGE Fuse and Multifunction Alarm Module
G200, G203, SP250, and SP650
G200, G203, SP250, and SP650
SP550 and SP551
G200, G203, SP250, and SP650
G200, G203, SP250, and SP650
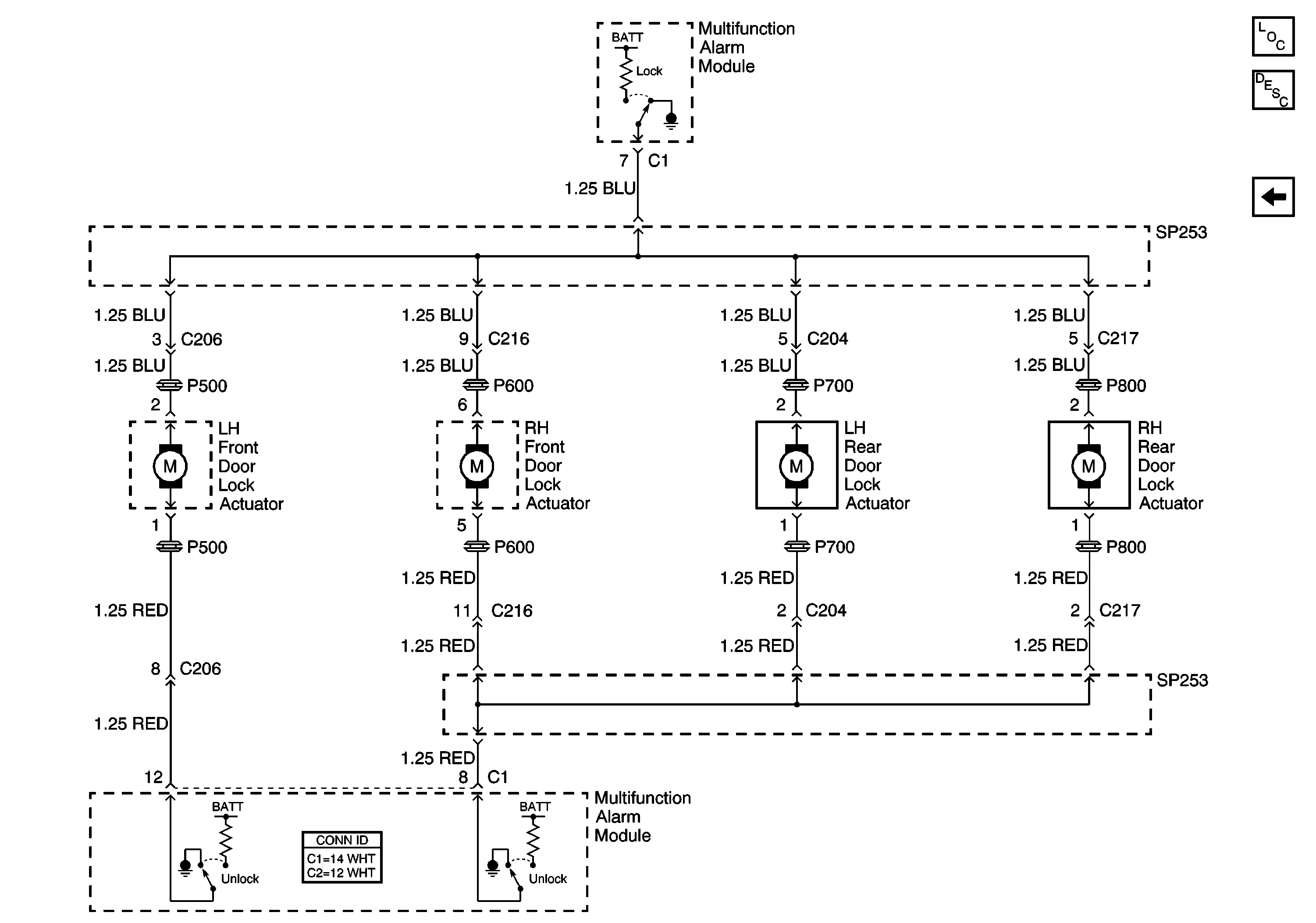
Figure 3:

Door Lock Switches


Object Number: 688360  Size: FS
Master Electrical Component List
Power Door Locks Description and Operation
Door Lock Actuators
Door Lock Actuators and SP252
G200, G203, SP250, and SP650
G200, G203, SP250, and SP650
G200, G203, SP250, and SP650
SP550 and SP551
Figure 4:

Door Lock Actuators


Object Number: 688368  Size: FS
Master Electrical Component List
Power Door Locks Description and Operation
Door Lock Switches