GM Service Manual Online
For 1990-2009 cars only

Removal Procedure


    Object Number: 626771  Size: SH
  1. Remove the rear side door inside handle. Refer to Rear Side Door Inside Handle Replacement .
  2. Unclip and remove the trim cover (2) from the rear side door trim panel (1).

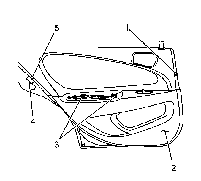
  3. Object Number: 656673  Size: SH
  4. Remove the 2 screws (3) that retain the door trim panel (2).

  5. Object Number: 242337  Size: SH
  6. Remove the rear side door window regulator handle by using a cloth to pull off the snap ring, if equipped.

  7. Object Number: 626751  Size: SH
  8. Using a taped flat bladed tool, gently pry the rear side door window switch bezel (2) from the rear side door trim (1), if equipped.

  9. Object Number: 626755  Size: SH
  10. Disconnect the rear side door window switch electrical connector (2), if equipped.
  11. Remove the rear side door window switch bezel (3) from the vehicle, if equipped.

  12. Object Number: 656673  Size: SH
  13. Remove the 2 plastic retainers (1, 5) that retain the rear side door trim (2).
  14. Unclip and remove the rear side door trim (2) from the door by disengaging the plastic retainers.

Installation Procedure


    Object Number: 656673  Size: SH
  1. Position and install the rear side door trim (2) to the door and press the plastic retainers into place. Ensure that the plastic retainers are completely engaged. Secure the door trim with the 2 plastic retainers (1, 5).

  2. Object Number: 626755  Size: SH
  3. Connect the rear side door window switch electrical connector (2), if equipped.
  4. Install the rear side door window switch bezel (3) to the rear side door trim (1), if equipped.

  5. Object Number: 471216  Size: SH
  6. Install the rear side door window regulator handle snap ring (1) to the rear side door window regulator handle (2), if equipped.
  7. Install the regulator handle (2) to the door, if equipped.

  8. Object Number: 656673  Size: SH
  9. Install the 2 screws (3) that retain the rear door trim panel (2).
  10. Install the trim cover to the rear side door armrest.
  11. Install the rear side door inside handle. Refer to Rear Side Door Inside Handle Replacement .