GM Service Manual Online
For 1990-2009 cars only

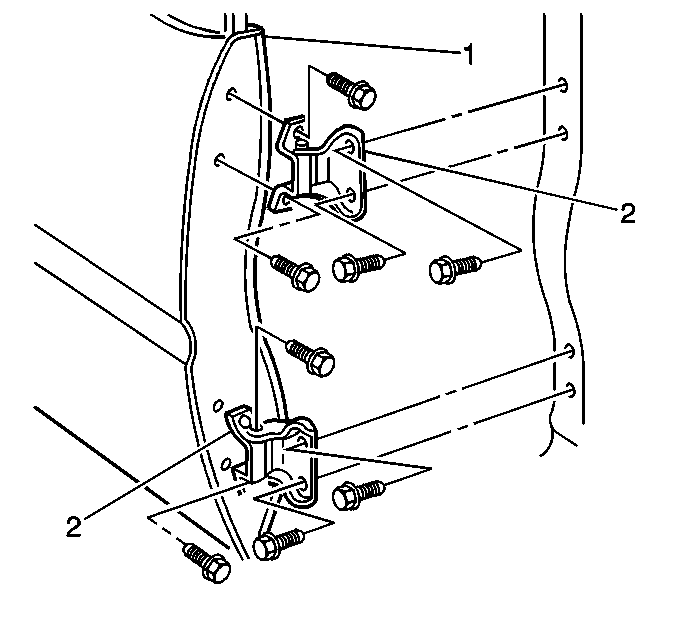
Removal Procedure


    Object Number: 352164  Size: SH
  1. Remove the fender. Refer to Front Fender Replacement in Body Front End.
  2. Important: Remove only one hinge at a time in order to keep the door properly aligned.

  3. Remove the 2 door to hinge bolts.
  4. Remove the 2 hinge to door jamb bolts.
  5. Remove the upper or lower hinge (2) from the vehicle.

Installation Procedure


    Object Number: 352164  Size: SH
  1. Install the hinge (2) to the door jamb. Secure the hinge with 2 bolts. Do not fully tighten the bolts at this time.
  2. Notice: Use the correct fastener in the correct location. Replacement fasteners must be the correct part number for that application. Fasteners requiring replacement or fasteners requiring the use of thread locking compound or sealant are identified in the service procedure. Do not use paints, lubricants, or corrosion inhibitors on fasteners or fastener joint surfaces unless specified. These coatings affect fastener torque and joint clamping force and may damage the fastener. Use the correct tightening sequence and specifications when installing fasteners in order to avoid damage to parts and systems.

  3. Install the 2 door to hinge bolts.
  4. Tighten
    Tighten all hinge bolts to 34 N·m (25 lb ft).

  5. Repeat the removal and installation steps for the opposite hinge, if necessary.
  6. Install the fender. Refer to Front Fender Replacement in Body Front End.